lemon-mirror:
Home >> Chevrolet >> 2003 >> SSR Base >> Repair and Diagnosis >> Restraints >> Restraints Control Systems >> Seat Belt System >> Repair Instructions >> Shoulder Belt Guide Bracket Replacement >> Installation Procedure

Installation Procedure

NOTE: Follow the tightening sequence and procedure for the seat belt guide loop fasteners. If these steps are not followed, permanent vehicle body damage will occur.
  1. Position the shoulder belt guide bracket to the vehicle body.
  2. Fig 1: Identifying Fastener Locations
    GM1363419Courtesy of GENERAL MOTORS CORP.
  3. Finger tighten the 4 fasteners (1, 2, 3, 6).
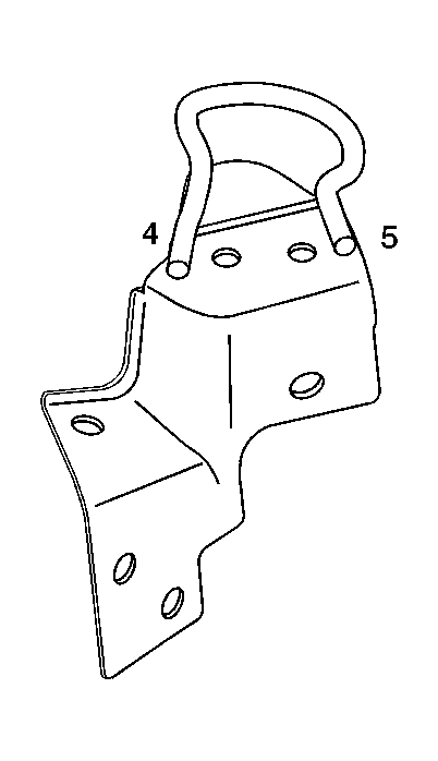
  4. Fig 2: View of Trim Attachment Bracket
    GM1363420Courtesy of GENERAL MOTORS CORP.
  5. Position the trim attachment bracket and finger tighten bolts (4, 5).
  6. NOTE: Refer to FASTENER NOTICE in Cautions and Notices.
    Fig 3: View of Shoulder Belt Guide Bracket Fasteners Sequence
    GM1363421Courtesy of GENERAL MOTORS CORP.
  7. In sequence per the number locations (1, 2, 3, 4, 5, 6), drive and tighten the shoulder belt guide bracket fasteners.

    Tighten:  Tighten the shoulder belt guide bracket fasteners to 25 N.m (18 lb ft).

  8. Install the folding top stowage compartment lid lock pillar muckets. Refer to Folding Top Stowage Compartment Lid Lock Pillar Muckets Replacement in Roof.
  9. Fig 4: View of Seat Belt Guide Loop
    GM1344131Courtesy of GENERAL MOTORS CORP.
  10. Route the safety belt webbing anchor and webbing through the shoulder belt guide bracket.
  11. Install the safety belt webbing anchor. Refer to Seat Belt Replacement - Front .