lemon-mirror:
Home >> Chevrolet >> 2004 >> Astro Van Cargo, AWD >> Repair and Diagnosis >> Engine Performance >> System >> Engine Controls - 4.3L - Introduction >> Repair Instructions >> Fuel Tank Replacement >> Installation Procedure

Installation Procedure

  1. Install the fuel sender assembly (4). Refer to Fuel Sender Assembly Replacement .
  2. Install the EVAP canister (1). Refer to Evaporative Emission (EVAP) Canister Replacement .
    Fig 1: View Of Fuel Tank Components
    GM758174Courtesy of GENERAL MOTORS CORP.
    NOTE: Tighten the strap fasteners by steps, alternating between the fasteners, until the specified torque is reached. A failure to tighten the strap fasteners as specified will cause the bottom of the tank to flex upward. This will result in the fuel gauge indicating that there is fuel remaining in the tank when the tank is empty.
    IMPORTANT: When removing or replacing the fuel tank, the fuel tank support fasteners should never be reused. Always use new fasteners when installing the fuel tank.
    Fig 2: Identifying Fuel Tank Straps & Retaining Bolts
    GM710855Courtesy of GENERAL MOTORS CORP.
  3. Install the fuel tank and the fuel tank straps.
    NOTE: Refer to FASTENER NOTICE in Cautions and Notices.
  4. Install the fuel tank strap bolts (3).

    Tighten:  Tighten the strap bolts to 35 N.m (26 lb ft).

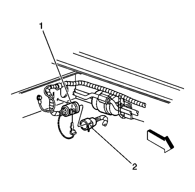
  5. Connect the fuel sender electrical connector (2).
    Fig 3: View Of Fuel Sender Electrical Connector
    GM710858Courtesy of GENERAL MOTORS CORP.
  6. Connect the EVAP purge pipe (4).
    Fig 4: Identifying Fuel Filter Pipes
    GM712757Courtesy of GENERAL MOTORS CORP.
  7. Connect the fuel tank pipes (1) to the fuel feed (2) and fuel return (5) pipes.
    Fig 5: View Of Fuel Feed/Return Pipes
    GM758077Courtesy of GENERAL MOTORS CORP.
  8. Connect the fuel tank filler neck to the fuel tank. Refer to Filler Tube Replacement .
  9. Lower the vehicle.
  10. Refill the fuel tank.
  11. Install the fuel tank filler cap.
  12. Connect the negative battery cable.

    If a memory retention device was not used, please reset (to the extent possible) all devices that lost their memory after the battery was disconnected.

  13. Inspect for leaks using the following procedure.
    1. Turn ON the ignition, with the engine OFF, for 2 seconds.
    2. Turn OFF the ignition for 10 seconds.
    3. Turn ON the ignition, with the engine off.
    4. Inspect for fuel leaks.
  14. Install the engine cover. Refer to Engine Cover Replacement in Interior Trim.