lemon-mirror:
Home >> Chevrolet >> 2004 >> Impala LS >> Repair and Diagnosis >> Electrical >> Body Electrical >> Accessory Power Socket >> Component Locator >> Power Outlet Connector End Views

Power Outlet Connector End Views

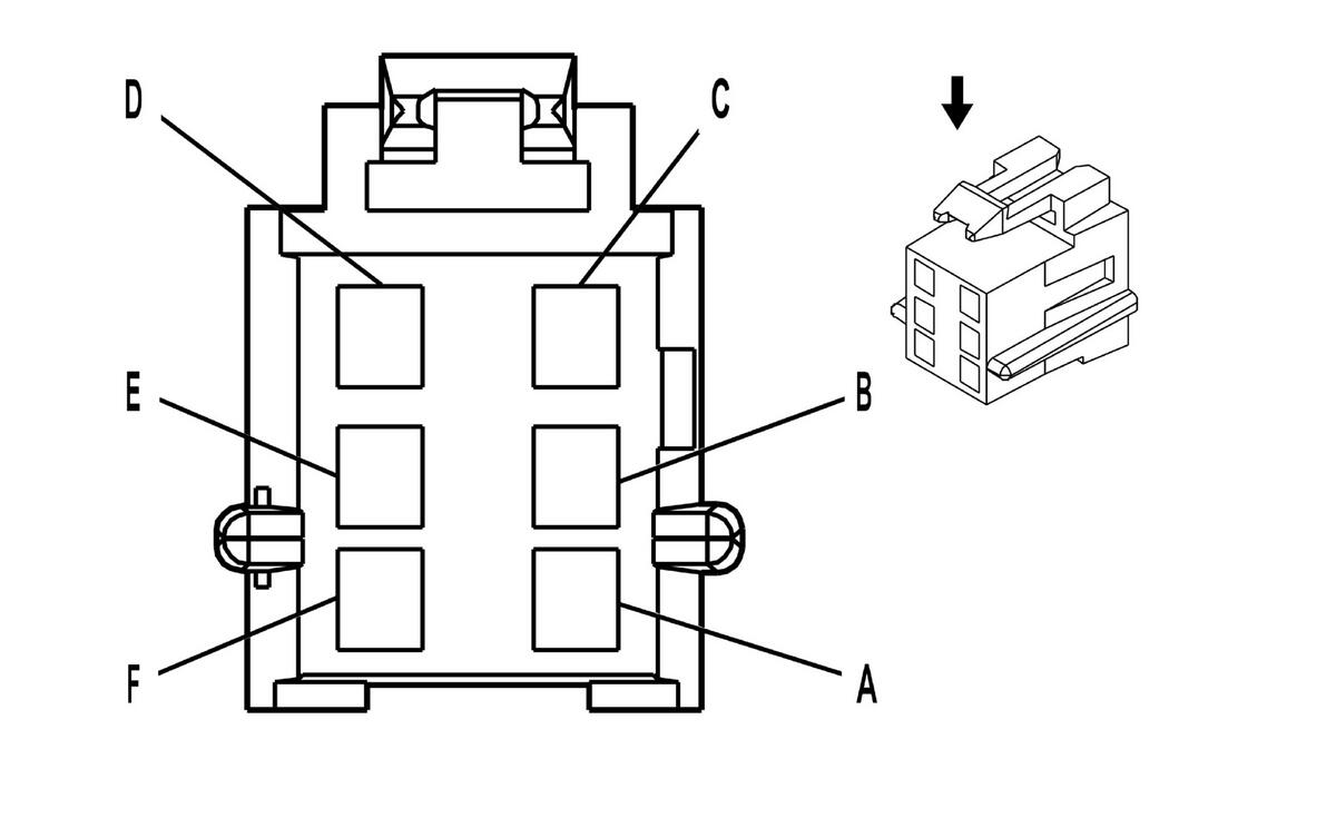
Auxiliary Power Drop Connector Terminal Identification (9C1/9C3)

GM62456Courtesy of GENERAL MOTORS CORP.
Connector Part Information
  • 12064752
  • 6-Way F Metri-Pack 280 Series (BLK)
Pin Wire Color Circuit Number Function
A ORN 2540 Battery Positive Voltage
B - - Not Used
C YEL 143 Accessory Voltage
D - - Not Used
E - - Not Used
F BLK 1050 Ground
Auxiliary Power Outlet Terminal Identification

GM362748Courtesy of GENERAL MOTORS CORP.
Connector Part Information
  • 12176446
  • 3-Way F Metri-Pack 280 Series, Flexlock (BLK)
Pin Wire Color Circuit No. Function
A ORN 340 Battery Positive Voltage
B - - Not Used
C BLK 1550 Ground (D55)
Cigar Lighter Terminal Identification

GM362748Courtesy of GENERAL MOTORS CORP.
Connector Part Information
  • 12176445
  • 3-Way F Metri-Pack 280 Series, Flexlock (WHT)
Pin Wire Color Circuit No. Function
A ORN 1640 Battery Positive Voltage
B - - Not Used
C BLK 1050 Ground (D55)