lemon-mirror:
Home >> Chevrolet >> 2004 >> Impala LS >> Repair and Diagnosis >> External Pages >> Different car >> Section 428 (Keyless Entry System And Remote Functions) >> Component Locator >> Remote Function Component Views

Remote Function Component Views

WARNING: This page is about a different car, the 2007 Chevrolet Malibu. However, it is still accessible from the selected car via links, so may be relevant.
Fig 1: Locating Hood Ajar Switch
GM1265767Courtesy of GENERAL MOTORS CORP.
Callout Component Name
1 Hood Ajar Switch (AP3/AP8)
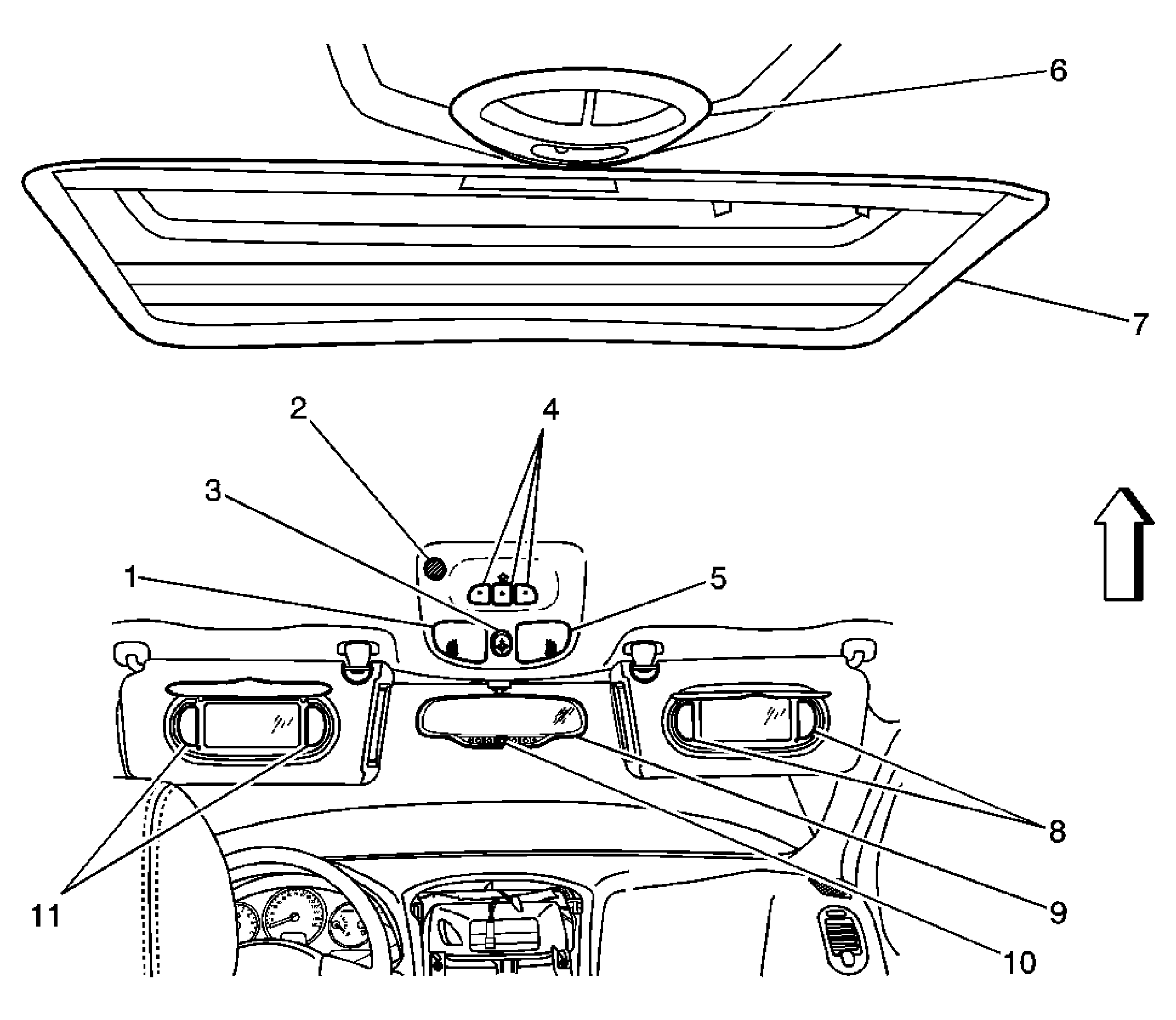
Fig 2: View Of Forward Overhead Components
GM1394517Courtesy of GENERAL MOTORS CORP.
Callout Component Name
1 Courtesy/Reading Lamps - Front, Left Reading
2 Cellular Telephone Microphone (UE1)
3 Sunroof Switch (CF5)
4 Garage Door Opener Transmitter (UG1)
5 Courtesy/Reading Lamps - Front, Right Reading
6 Dome/Reading Lamp
7 Sunroof (CF5)
8 Vanity Mirror Lamp - Right (DH6)
9 Inside Rearview Mirror
10 OnStar Keypad (UE1)
11 Vanity Mirror Lamp - Left (DH6/D74)
Fig 3: Locating Remote Control Door Lock Receiver (RCDLR)
GM1266723Courtesy of GENERAL MOTORS CORP.
Callout Component Name
1 Remote Control Door Lock Receiver (RCDLR)
Fig 4: View Of Left Rear Of Passenger Compartment - Extended Sedan
GM1263973Courtesy of GENERAL MOTORS CORP.
Callout Component Name
1 Fuse Block - Rear
2 C651
3 Inflatable Restraint Side Impact Module - Left (AY1)
4 C404
5 C801
6 Remote Control Door Lock Receiver (RCDLR)
7 G302