lemon-mirror:
Home >> Chevrolet >> 2004 >> Optra Base, Automatic >> Repair and Diagnosis (Single Page) >> Engine Performance >> System >> Engine Controls - 2.0L (L34 GMDAT) - Component Locator >> Component Locator >> Engine Control Module Connector End Views

Engine Control Module Connector End Views

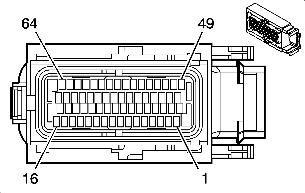
Engine Control Module (ECM) K

GM1501851Courtesy of GENERAL MOTORS CORP.
Connector Part Information
  • AMP 0-368434-2
  • 64-Way F ECU 64P Conn Assembly (32-bit-B) (BN)
Pin Wire Color Circuit No. Function
K1 OG 440 Battery Positive Voltage
K2-K4 - - Not Used
K5 BK/WH 51 Ground (w/Octane Switch)
K6 D-GN/WH 817 Vehicle Speed Signal (Manual Transmission)
K7 D-BU 876 Rough Road Signal - W/ABS
K8-K11 - - Not Used
K12 D-BU 473 High Speed Cooling Fan Relay Control
K13 - - Not Used
K14 PU 1807 CAN Serial Data High
K15 YE 710 CAN Serial Data Low
K16 BN/WH 1669 Heated Oxygen Sensor (HO2S) 1 Heater Control
K17 OG 440 Battery Positive Voltage
K18 PK/D-BU 539 Ignition 1 Voltage
K19-K20 - - Not Used
K21 D-GN 602 Rough Road Sensor Signal (w/o ABS)
K22 L-BU 380 A/C Refrigerant Pressure (ACP) Sensor Signal
K23 - - Not Used
K24 D-GN 135 Engine Coolant Temperature (ECT) Sensor Gauge Signal
K25 GY 121 Engine Speed Signal
K26-K27 - - Not Used
K28 D-GN/WH 335 Low Speed Cooling Fan Relay Control
K29 D-GN 67 A/C Clutch Relay Control
K30 WH 30 Fuel Level Sensor Signal
K31 - - Not Used
K32 PU 2000 Serial Data
K33 - - Not Used
K34 PU/WH 632 Low Reference
K35 D-GN/WH 762 A/C Request Signal
K36 PU 1670 Heated Oxygen Sensor (HO2S) 2 Signal
K37-K47 - - Not Used
K48 L-BU/BK 1986 Evaporative Emissions (EVAP) Canister Vent Solenoid Control
K49 - - Not Used
K50 GY 605 5-Volt Reference
K51 GY 1936 Fuel Level Sensor Signal
K52 YE/D-GN 890 Fuel Tank Pressure Sensor Signal
K53 L-GN 413 Low Reference
K54 L-GN 465 Fuel Pump Relay Control
K55-K63 - - Not Used
K64 BN/WH 419 Malfunction Indicator Lamp (MIL) Control
Engine Control Module (ECM) M

GM1466972Courtesy of GENERAL MOTORS CORP.
Connector Part Information
  • AMP 1-368434-1
  • 64-Way F ECU 64P Conn Assembly (32-bit-B) (BK)
Pin Wire Color Circuit No. Function
M1 L-BU 406 Ignition Coil (IC) Timing Control 1 and 4
M2 BN/BK 1671 Heated Oxygen Sensor (HO2S) 2 Heater Control
M3 GY 120 Fuel Pump Supply Voltage
M4 WH 428 Evaporative Emissions (EVAP) Canister Purge Solenoid Control
M5 YE/BK 1868 Low Reference
M6 GY 417 Throttle Position (TP) Sensor Signal
M7 GY 472 Intake Air Temperature (IAT) Sensor Signal
M8 D-BU/WH 432 Manifold Absolute Pressure (MAP) Sensor Signal
M9 WH/BK 1456 Exhaust Gas Recirculation (EGR) Valve Position Sensor Signal
M10 - - Not Used
M11 D-GN/WH 844 Fuel Injector 4 Control
M12 GY 1653 Heated Oxygen Sensor (HO2S) 1 Low Reference
M13 BN 1747 Idle Air Control (IAC) A High Control
M14 WH 444 Idle Air Control (IAC) B Low Control
M15 YE 1748 Idle Air Control (IAC) A Low Control
M16 L-BU/BK 1688 5-volt Reference
M17 - - Not Used
M18 YE/BK 496 Knock Sensor Signal
M19 D-GN 435 Exhaust Gas Recirculation (EGR) Solenoid Valve Control
M20 - - Not Used
M21 D-BU/WH 1869 Crankshaft Position (CKP) Sensor Signal
M22 BN/WH 1745 Fuel Injector 2 Control
M23 - - Not Used
M24 D-GN/BK 1746 Fuel Injector 3 Control
M25 YE/D-BU 1744 Fuel Injector 1 Control
M26 PU 633 Camshaft Position (CMP) Sensor Signal
M27 - - Not Used
M28 L-GN 410 Engine Coolant Temperature (ECT) Sensor Signal
M29 D-GN/RD 1665 Heated Oxygen Sensor (HO2S) 1 Signal
M30 PU/WH 1749 Idle Air Control (IAC) Coil B High Control
M31 - - Not Used
M32 D-GN/WH 416 5-volt Reference
M33 L-BU 406 Ignition Coil (IC) Timing Control (1 and 4)
M34 - - Not Used
M35 D-GN/WH 423 Ignition Coil (IC) Timing Control (2 and 3)
M36 - - Not Used
M37 BK/WH 51 Ground
M38 BK/WH 51 Ground
M39 BK/WH 51 Ground
M40 BK/WH 51 Ground
M41 BK/WH 51 Ground
M42-M47 - - Not Used
M48 OG/BK 469 Low Reference
M49-M50 - - Not Used
M51 D-GN/WH 423 Ignition Coil (IC) Timing Control (2 and 3)
M52 D-GN 435 Exhaust Gas Recirculation (EGR) Valve Control
M53-M63 - - Not Used
M64 BK 808 Low Reference