lemon-mirror:
Home >> Chevrolet >> 2004 >> Optra Base, Automatic >> Repair and Diagnosis >> Engine Performance >> System >> Engine Controls - 1.8L (L79) - Component Locator >> Component Locator >> Engine Controls Connector End Views

Engine Controls Connector End Views

Camshaft Position (CMP) Sensor (HV-240)

GM1467078Courtesy of GENERAL MOTORS CORP.
Connector Part Information
  • KET MG 640541-5
  • 3-Way F ITC (Injector Connector) Series
Pin Wire Color Circuit Number Function
1 PK/BK 1846 Ignition 1 Voltage
2 BN/WH 252 Low Reference
3 PU 633 Camshaft Position (CMP) Sensor Signal
Camshaft Position (CMP) Sensor (MR-140)

GM1467078Courtesy of GENERAL MOTORS CORP.
Connector Part Information
  • KET MG 640541-5
  • 3-Way F ITC (Injector Connector) Series
Pin Wire Color Circuit Number Function
1 PK/BK 1846 Ignition 1 Voltage
2 BN/WH 251 Ground
3 PU 633 Camshaft Position (CMP) Sensor Signal
Crankshaft Position (CKP) Sensor

GM1467004Courtesy of GENERAL MOTORS CORP.
Connector Part Information
  • AMP 85205-1
  • 3-Way JR Power Timer 3P Hsg Ass'y (BK)
Pin Wire Color Circuit Number Function
1 D-BU/WH 1869 Crankshaft Position (CKP) Sensor Signal
2 YE/BK 1868 Low Reference
3 BK/WH 51 Ground
Engine Coolant Temperature (ECT) Sensor

GM62426Courtesy of GENERAL MOTORS CORP.
Connector Part Information
  • PED 12040753
  • 2-Way F Metri-Pack 150 Series, Sealed, Pull To Seat (BK)
Pin Wire Color Circuit Number Function
1 L-GN 410 Engine Coolant Temperature (ECT) Sensor Signal
2 BK 808 Low Reference
Evaporative Emission (EVAP) Canister Purge Solenoid Valve

GM684795Courtesy of GENERAL MOTORS CORP.
Connector Part Information
  • PED 12052643
  • 2-Way F Metri-Pack 150 Series, Sealed (RD)
Pin Wire Color Circuit Number Function
1 PK/BK 1846 Ignition 1 Voltage
2 WH 428 Evaporative Emission (EVAP) Canister Purge Solenoid Control
Exhaust Gas Recirculation (EGR) Valve (MR-140)

GM684863Courtesy of GENERAL MOTORS CORP.
Connector Part Information
  • PED 12186139
  • 5-Way F Metri-Pack 150 Series, Sealed, Pull To Seat (L-GY)
Pin Wire Color Circuit Number Function
1 D-GN 435 Exhaust Gas Recirculation (EGR) Solenoid Low Control
2 OG/BK 469 Low Reference
3 WH/BK 1456 Exhaust Gas Recirulation (EGR) Valve Position Signal
4 L-BU/BK 1688 5 Volt Reference
5 GY 120 Fuel Pump Supply Voltage
Exhaust Gas Recirculation (EGR) Valve (HV-240)

GM1466982Courtesy of GENERAL MOTORS CORP.
Connector Part Information
  • AMP 174352-2
  • 2-Way M Econoseal J Mark II + Connector Plug Housing (BK)
Pin Wire Color Circuit Number Function
1 PK 139 Ignition 1 Voltage
2 D-GN 411 Exhaust Gas Recirculation (EGR) Valve Control
Fuel Injector 1

GM366123Courtesy of GENERAL MOTORS CORP.
Connector Part Information
  • PED 15326181
  • 2-Way F Micro-Pack 064 Series, Sealed (BK)
Pin Wire Color Circuit Number Function
1 YE/BU 1744 Fuel Injector 1 Control
2 PK 139 Ignition 1 Voltage
Fuel Injector 2

GM366123Courtesy of GENERAL MOTORS CORP.
Connector Part Information
  • PED 15326181
  • 2-Way F Micro-Pack 064 Series, Sealed (BK)
Pin Wire Color Circuit Number Function
1 BN/WH 1745 Fuel Injector 2 Control
2 PK 139 Ignition 1 Voltage
Fuel Injector 3

GM366123Courtesy of GENERAL MOTORS CORP.
Connector Part Information
  • PED 15326181
  • 2-Way F Micro-Pack 064 Series, Sealed (BK)
Pin Wire Color Circuit Number Function
1 D-GN/BK 1746 Fuel Injector 3 Control
2 PK 139 Ignition 1 Voltage
Fuel Injector 4

GM366123Courtesy of GENERAL MOTORS CORP.
Connector Part Information
  • PED 15326181
  • 2-Way F Micro-Pack 064 Series, Sealed (BK)
Pin Wire Color Circuit Number Function
1 D-GN/WH 844 Fuel Injector 4 Control
2 PK 139 Ignition 1 Voltage
Fuel Pump

GM1468528Courtesy of GENERAL MOTORS CORP.
Connector Part Information
  • AMP 936039
  • 6-Way Fuel Pump 6POS CONN'R ASS'Y
Pin Wire Color Circuit Number Function
1 D-BU 1936 Fuel Level Sensor Signal
2 BK 1250 Ground
3 GY 120 Fuel Pump Supply Voltage
4 BK 1250 Ground
5 PU 172 Low Fuel Indicator Control
6 PU/BK 632 Low Reference
Heated Oxygen Sensor 1 (HO2S) 1 (MR-140)

GM684854Courtesy of GENERAL MOTORS CORP.
Connector Part Information
  • PED 12162144
  • 4-Way F Metri-Pack 150 Series, Sealed (BK)
Pin Wire Color Circuit Number Function
1 D-GN/RD 1665 Heated Oxygen Sensor (HO2S) 1 Low Reference
2 PK/BK 1846 Ignition 1 Voltage
3 GY 1653 Heated Oxygen Sensor (HO2S) 1 Signal
4 BN/WH 1669 Heated Oxygen Sensor (HO2S) 1 Heater Control
Heated Oxygen Sensor 2 (HO2S2) (MR-140)

GM1466980Courtesy of GENERAL MOTORS CORP.
Connector Part Information
  • AMP 174259-2
  • 4-Way F 070 Series Econoseal-J MK-2 Cap Hsg 4P (BK)
Pin Wire Color Circuit Number Function
1 PK/BK 1846 Ignition 1 Voltage
2 PU 1670 Heated Oxygen Sensor (HO2S) 2 Signal
3 BN/BK 1671 Heated Oxygen Sensor (HO2S) 2 Heater Control
4 L-GN 413 Heated Oxygen Sensor (HO2S) 2 Low Reference
Idle Air Control (IAC) Valve

GM38608Courtesy of GENERAL MOTORS CORP.
Connector Part Information
  • PED 12040754
  • 4 Way F Black Metri-Pack 150 (BK)
Pin Wire Color Circuit Number Function
A WH 444 Idle Air Control (IAC) Coil B Low Control
B PU/WH 1749 Idle Air Control (IAC) Coil B High Control
C YE/WH 1748 Idle Air Control (IAC) Coil A Low Control
D BN 1747 Idle Air Control (IAC) Coil A High Control
Ignition Coil (IC) Module

GM516611Courtesy of GENERAL MOTORS CORP.
Connector Part Information
  • PED 12059595
  • 3-Way F Metri-Pack 150 Series, Sealed (BK)
Pin Wire Color Circuit Number Function
1 D-GN/WH 423 Ignition Coil (IC) Timing Control (2 and 3)
2 PK 739 Ignition 1 Voltage
3 L-BU 406 Ignition Coil (IC) Timing Control (1 and 4)
Intake Air Temperature (IAT) Sensor

GM1467003Courtesy of GENERAL MOTORS CORP.
Connector Part Information
  • AMP 85202-1
  • 2-Way JR Power Timer 2P Hsg Ass'y (BK)
Pin Wire Color Circuit Number Function
1 BK 808 Low Reference
2 GY 472 Intake Air Temperature (IAT) Sensor Signal
Knock Sensor (KS)

GM1466993Courtesy of GENERAL MOTORS CORP.
Connector Part Information
  • AMP 368215-1
  • 3-Way JPT 3P Ass'y for Knock Sensor
Pin Wire Color Circuit Number Function
1 YE/BK 496 Knock Sensor (KS) Signal
2 D-BU/WH 808 Low Reference
3 BK/WH 51 Ground
Manifold Absolute Pressure (MAP) Sensor

GM1466984Courtesy of GENERAL MOTORS CORP.
Connector Part Information
  • AMP 174359-2
  • 3-Way F 070 Series Econoseal Mark-2 Cap 3P (BK)
Pin Wire Color Circuit Number Function
1 L-BU/BK 1688 5 Volt Reference
2 D-BU/WH 432 Manifold Absolute Pressure (MAP) Sensor Signal
3 OG/BK 469 Low Reference
Octane Selection Switch (HV-240)

GM1467076Courtesy of GENERAL MOTORS CORP.
Connector Part Information
  • KET MG 640329
  • 3-Way M SWP Series
Pin Wire Color Circuit Number Function
1 PU 723 Octane Switch Signal
2 BK/WH 51 Ground
3 L-BU 722 Octane Switch Signal
Oxygen (O2) Sensor (HV-240)

GM309480Courtesy of GENERAL MOTORS CORP.
Connector Part Information
  • PED 12010501
  • 2-Way F Weather Pack Tower, Sealed (BK)
Pin Wire Color Circuit Number Function
1 GY 1653 Oxygen (O2) Sensor Signal
2 D-GN/RD 1665 Oxygen (O2) Sensor Low Reference
Rough Road Sensor (MR-140)

GM73223Courtesy of GENERAL MOTORS CORP.
Connector Part Information
  • PED 12162185
  • 3-Way Metri-Pack 150.2 Series, Sealed, Pull To Seat (BK)
Pin Wire Color Circuit Number Function
A GY 605 5 Volt Reference
B D-GN 602 Rough Road Sensor Signal
C PU/WH 632 Low Reference
Throttle Position (TP) Sensor

GM258299Courtesy of GENERAL MOTORS CORP.
Connector Part Information
  • PED 12065287
  • 3-Way F Metri-Pack 150 Series (BK)
Pin Wire Color Circuit Number Function
1 BK 808 Low Reference
2 D-GN/WH 416 5 Volt Reference
3 GY 417 Throttle Position (TP) Sensor Signal
Engine Control Module (ECM) A (HV-240)

Connector Part Information
  • PED 12129231
  • 32-Way Retainer Lock (BK)
Pin Wire Color Circuit Number Function
A1 BK/WH 51 Ground
A2 BK/WH 51 Ground
A3 YE/BK 496 Knock Sensor Signal
A4 D-GN 411 Exhaust Gas Recirculation (EGR) Valve Control
A5 - - Not Used
A6 YE/BK 1868 Low Reference
A7 GY 417 Throttle Position (TP) Sensor Signal
A8 D-GN/BK 1746 Fuel Injector 3 Control
A9 YE/D-BU 1744 Fuel Injector 1 Control
A10 BK/WH 252 Low Reference
A11 L-GN 410 Engine Coolant Temperature (ECT) Sensor Signal
A12 D-GN/RD 1665 Oxygen (O2) Sensor 1 Low Reference (Unleaded Only)
A13 PU/WH 1749 Idle Air Control (IAC) Coil B High Control
A14 - - Not Used
A15 D-GN/WH 416 5-Volt Reference
A16 OG/BK 469 Low Reference
A17 BK/WH 51 Ground
A18 L-BU 406 Ignition Coil (IC) 1 and 4 Control
A19 D-GN/WH 423 Ignition Coil (IC) 2 and 3 Control
A20 WH 428 Evaporative Emissions (EVAP) Canister Purge Solenoid Control
A21 D-BU/WH 1869 Crankshaft Position (CKP) Sensor Signal
A22 BN/WH 1745 Fuel Injector 2 Control
A23 GY 472 Intake Air Temperature (IAT) Sensor 5-Volt Reference
A24 D-BU/WH 432 Manifold Absolute Pressure (MAP) Sensor Signal
A25 PU 633 Camshaft Position (CMP) Sensor Signal
A26 D-GN/WH 844 Injector 4 Signal
A27 GY 1653 Oxygen (O2) Sensor 1 Signal (Unleaded Only)
A28 BN 1747 Idle Air Control (IAC) Coil A High Control
A29 WH 444 Idle Air Control (IAC) B Low Control
A30 YE/WH 1748 Idle Air Control (IAC) A Low Control
A31 BN/BK 1688 5-Volt Reference Voltage
A32 BY/WH 808 Low Reference
Engine Control Module (ECM) B (HV-240)

GM1468388Courtesy of GENERAL MOTORS CORP.
Connector Part Information
  • PED 12129232
  • 32-Way Retainer Lock (WH)
Pin Wire Color Circuit Number Function
B1 PU/WH 632 Low Reference
B2 OG 440 Battery Positive Voltage
B3 PK/D-BU 539 Ignition 1 Voltage
B4-B6 - - Not Used
B7 L-BU 380 A/C Refrigerant Pressure (ACP) Sensor Signal
B8 L-BU 722 Octane Switch Signal
B9 GY 121 Engine Speed Signal
B10 D-GN/WH 762 A/C Request Signal
B11 - - Not Used
B12 D-BU 473 High Speed Cooling Fan Relay Control
B13 - - Not Used
B14 PU 1807 CAN Serial Data High
B15 PU 2000 Keyword Serial Data
B16 - - Not Used
B17 GY 605 5-Volt Reference
B18 OG 440 Battery Positive Voltage
B19 GY 1936 Fuel Gauge
B20-B21 - - Not Used
B22 PU 723 Octane Switch Signal
B23 D-GN/WH 817 Vehicle Speed Signal (Manual Transmission)
B24 D-GN 135 Engine Coolant (ECT) Sensor Gauge Signal
B25 - - Not Used
B26 L-GN 465 Fuel Pump Relay Control
B27 D-GN/WH 335 Low Speed Cooling Fan Relay Control
B28 D-GN 67 A/C Compressor Clutch Coil Supply Voltage
B29 - - Not Used
B30 YE 710 CAN Serial Data Low
B31 WH 30 Fuel Level Sensor Signal
B32 BN/WH 419 Malfunction Indicator Lamp (MIL) Control
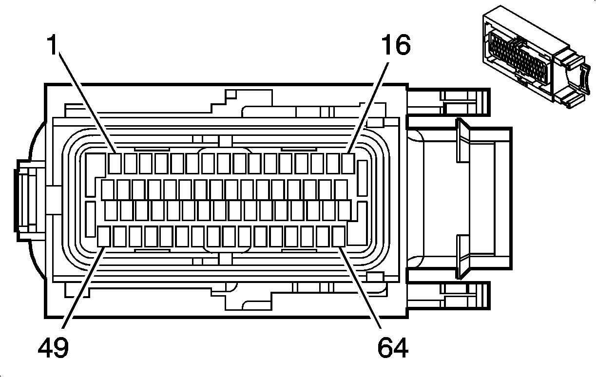
Engine Control Module (ECM) K (MR-140)

GM1466972Courtesy of GENERAL MOTORS CORP.
Connector Part Information
  • AMP 0-368434-2
  • 64-Way F ECU 64P Conn Ass'y (32-bit-B)
Pin Wire Color Circuit Number Function
K1 OG 440 Battery Positive Voltage
K2-K4 - - Not Used
K5 BK/WH 51 Ground
K6 D-GN/WH 817 Vehicle Speed Signal (Manual Transmission)
K7 D-BU 876 Rough Road Signal - W/ABS
K8-K11 - - Not Used
K12 D-BU 473 High Speed Cooling Fan Relay Control
K13 - - Not Used
K14 PU 1807 CAN Serial Data High
K15 YE 710 CAN Serial Data Low
K16 BN/WH 1669 Heated Oxygen Sensor (HO2S) 1 Heater Control
K17 OG 440 Battery Positive Voltage
K18 PK/BN 539 Ignition 1 Voltage
K19-K20 - - Not Used
K21 D-GN 602 Rough Road Sensor Signal
K22 L-BU 380 A/C Refrigerant Pressure (ACP) Sensor Signal
K23 - - Not Used
K24 D-GN 135 Engine Coolant Temperature (ECT) Sensor Gauge Signal
K25 GY 121 Engine Speed Signal
K26-K27 - - Not Used
K28 D-GN/WH 335 Low Speed Cooling Fan Relay Control
K29 D-GN 67 A/C Compressor Clutch Coil Supply Voltage
K30 WH 30 Fuel Level Sensor Signal
K31 - - Not Used
K32 PU 2000 Keyword Serial Data
K33 - - Not Used
K34 PU/BK 632 Low Reference
K35 D-GN/WH 762 A/C Request Signal
K36 PU 1670 Heated Oxygen Sensor (HO2S) 2 Signal
K37-K49 - - Not Used
K50 GY 605 5-Volt Reference
K51 GY 1936 Fuel Level Sensor Signal
K52 YE/D-GN 890 Fuel Tank Pressure Sensor Signal
K53 L-GN 413 Heated Oxygen Sensor (HO2S) 2 Low Reference
K54 L-GN 465 Fuel Pump Relay Control
K55-K63 - - Not Used
K64 BN/WH 419 Malfunction Indicator Lamp (MIL) Control
Engine Control Module (ECM) M (MR-140)

GM1481262Courtesy of GENERAL MOTORS CORP.
Connector Part Information
  • AMP 1-368434-1
  • 64-Way F ECU 64P Conn Ass'y (32-bit-B)
Pin Wire Color Circuit Number Function
M1 L-BU 406 Ignition Coil (IC) Timing Control 1 and 4
M2 BN/BK 1671 Heated Oxygen Sensor (HO2S) 2 Heater Control
M3 GY 120 Fuel Pump Supply Voltage
M4 WH 428 Evaporative Emissions (EVAP) Canister Purge Solenoid Control
M5 YE/BK 1868 Low Reference
M6 GY 417 Throttle Position (TP) Sensor Signal
M7 GY 472 Intake Air Temperature (IAT) Sensor Signal
M8 D-BU/WH 432 Manifold Absolute Pressure (MAP) Sensor Signal
M9 WH/BK 1456 Exhaust Gas Recirculation (EGR) Valve Position Signal
M10 - - Not Used
M11 D-GN/WH 844 Fuel Injector 4 Control
M12 GY 1653 Heated Oxygen Sensor (HO2S) 1 Signal
M13 BN 1747 Idle Air Control (IAC) A High Control
M14 WH 444 Idle Air Control (IAC) B Low Control
M15 YE/WH 1748 Idle Air Control (IAC) A Low Control
M16 L-BU/BK 1688 5-volt Reference
M17 - - Not Used
M18 YE/BK 496 Knock Sensor Signal
M19 D-GN 435 Exhaust Gas Recirculation (EGR) Solenoid Low Control
M20 - - Not Used
M21 D-BU/WH 1869 Crankshaft Position (CKP) Sensor Signal
M22 BN/WH 1745 Fuel Injector 2 Control
M23 - - Not Used
M24 D-GN/BK 1746 Fuel Injector 3 Control
M25 YE/D-BU 1744 Fuel Injector 1 Control
M26 PU 633 Camshaft Position (CMP) Sensor Signal
M27 - - Not Used
M28 L-GN 410 Engine Coolant Temperature (ECT) Sensor Signal
M29 D-GN/RD 1665 Heated Oxygen Sensor (HO2S) 1 Low Reference
M30 PU/WH 1749 Idle Air Control (IAC) Coil B High Control
M31 - - Not Used
M32 D-GN/WH 416 5-volt Reference
M33 L-BU 406 Ignition Coil (IC) Timing Control (1 and 4)
M34 - - Not Used
M35 D-GN/WH 423 Ignition Coil (IC) Timing Control (2 and 3)
M36 - - Not Used
M37 BK/WH 51 Ground
M38 BK/WH 51 Ground
M39 BK/WH 51 Ground
M40 BK/WH 51 Ground
M41 BK/WH 51 Ground
M42-M47 - - Not Used
M48 OG/BK 469 Low Reference
M49-M50 - - Not Used
M51 D-GN/WH 423 Ignition Coil (IC) Timing Control (2 and 3)
M52 D-GN 435 Exhaust Gas Recirulation (EGR) Low Control
M53-M63 - - Not Used
M64 BK 808 Low Reference