lemon-mirror:
Home >> Chevrolet >> 2004 >> Tracker 4WD >> Repair and Diagnosis >> Body & Frame >> Door Locks >> Keyless Entry System >> Component Locator >> Keyless Entry Connector End Views

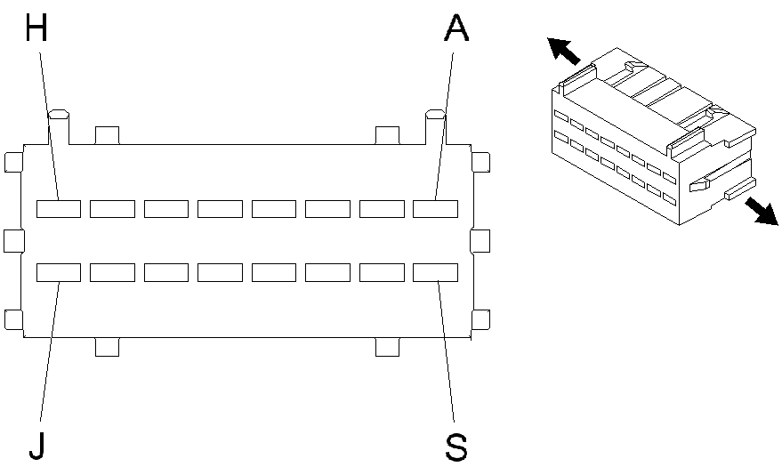
Keyless Entry Connector End Views

Remote Control Door Lock Receiver Connector End View

GM283847Courtesy of GENERAL MOTORS CORP.
Connector Part Information
  • 12129431
  • BLK
Pin Wire Color Function
A BLU/RED Driver Door Unlock Control
B PNK/GRN Unlock Control
C-D - Not Used
E RED/WHT Battery Positive Voltage
F-H - Not Used
J BLK/WHT Ignition Positive Voltage
K BLK/ORN Keyless Entry Dome Lamp Ground Signal Circuit
L PNK/WHT Key Fob Programming
M - Not Used
N BLK Ground
P RED/WHT Battery Positive Voltage
R PNK Lock Control
S BLK/RED Keyless Entry Door Switch Ground Circuit