lemon-mirror:
Home >> Chevrolet >> 2004 >> Tracker RWD >> Repair and Diagnosis >> Electrical >> Charging Systems >> Battery, Charging System And Starting System >> Repair Instructions >> Generator Replacement >> Installation Procedure

Installation Procedure

  1. Install the generator to the vehicle.
  2. NOTE: Refer to Fastener Notice in Cautions and Notices.
  3. Install the generator upper bracket to the vehicle. Secure the generator bracket with the bolts.

    Tighten:  Tighten the generator upper bracket bolts to 45 N.m (32 lb ft).

  4. IMPORTANT: Do not torque the bolts until the drive belt tension is correct.
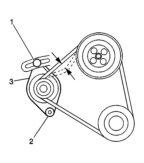
  5. Install the adjusting bolt (1) and pivot bolt (2) to the generator.
  6. Install the drive belt to the pulleys.
  7. Remove slack from the belt by pulling on the generator in order to obtain 9-11 mm (0.35- 0.43 in) of belt deflection under 10 kg (22 lbs) of force.
  8. Secure the generator with the adjusting bolt and pivot bolt.

    Tighten:  Tighten the generator bolts to 23 N.m (17 lb ft).

  9. Connect the electrical connector to the generator B+ terminal. Secure the connector with one nut and the rubber protector.

    Tighten:  Tighten the electrical connector nut to 8 N.m (71 lb in).

  10. Connect the generator electrical connector.
  11. Install the air cleaner hose.
  12. Connect the negative battery cable.

    Tighten:  Tighten the negative battery cable-to-negative battery terminal retainer to 8 N.m (71 lb in).

  13. Fig 1: View Of Adjusting & Pivot Bolt
    GM711392Courtesy of GENERAL MOTORS CORP.