lemon-mirror:
Home >> Chevrolet >> 2004 >> Tracker RWD >> Repair and Diagnosis >> Engine Performance >> System >> Engine Control System - 2.5L (LE8) (Introduction) >> Component Locator >> Engine Controls Component Views

Engine Controls Component Views

Fig 1: Information Sensors/Input Devices
GM690203Courtesy of GENERAL MOTORS CORP.
Callout Component Name
1 Fuel Level Sensor
2 TP Sensor
3 MAF Sensor
4 CMP Sensor
5 PSP Switch
6 HO2S Bank 1 Sensor 1
7 ECT Sensor
8 CKP Sensor
9 IAT Sensor
10 HO2S Bank 2 Sensor 1
11 MAP Sensor
12 VSS
13 Fuel Tank Pressure (FTP) and Fuel Vapor Temperature Sensor
Fig 2: PCM Controlled Devices
GM690202Courtesy of GENERAL MOTORS CORP.
Callout Component Name
1 EVAP Canister Purge Valve
2 Exhaust Gas Recirculation (EGR) Valve
3 IAC Valve
4 Malfunction Indicator Lamp (MIL)
5 Bank 1 Ignition Coils
6 Fuel Pump Relay
7 Main Relay
8 HO2S Heater Relay
9 Fuel Injectors
10 A/C Condenser Fan Relay
11 Bank 2 Ignition Coils
12 EVAP Canister Vent Valve
Fig 3: Other Engine Control System Components
GM690204Courtesy of GENERAL MOTORS CORP.
Callout Component Name
1 Data Link Connector (DLC)
2 ABS Control Module
3 Powertrain Control Module (PCM)
4 Noise Suppressor Filter
5 EVAP Canister
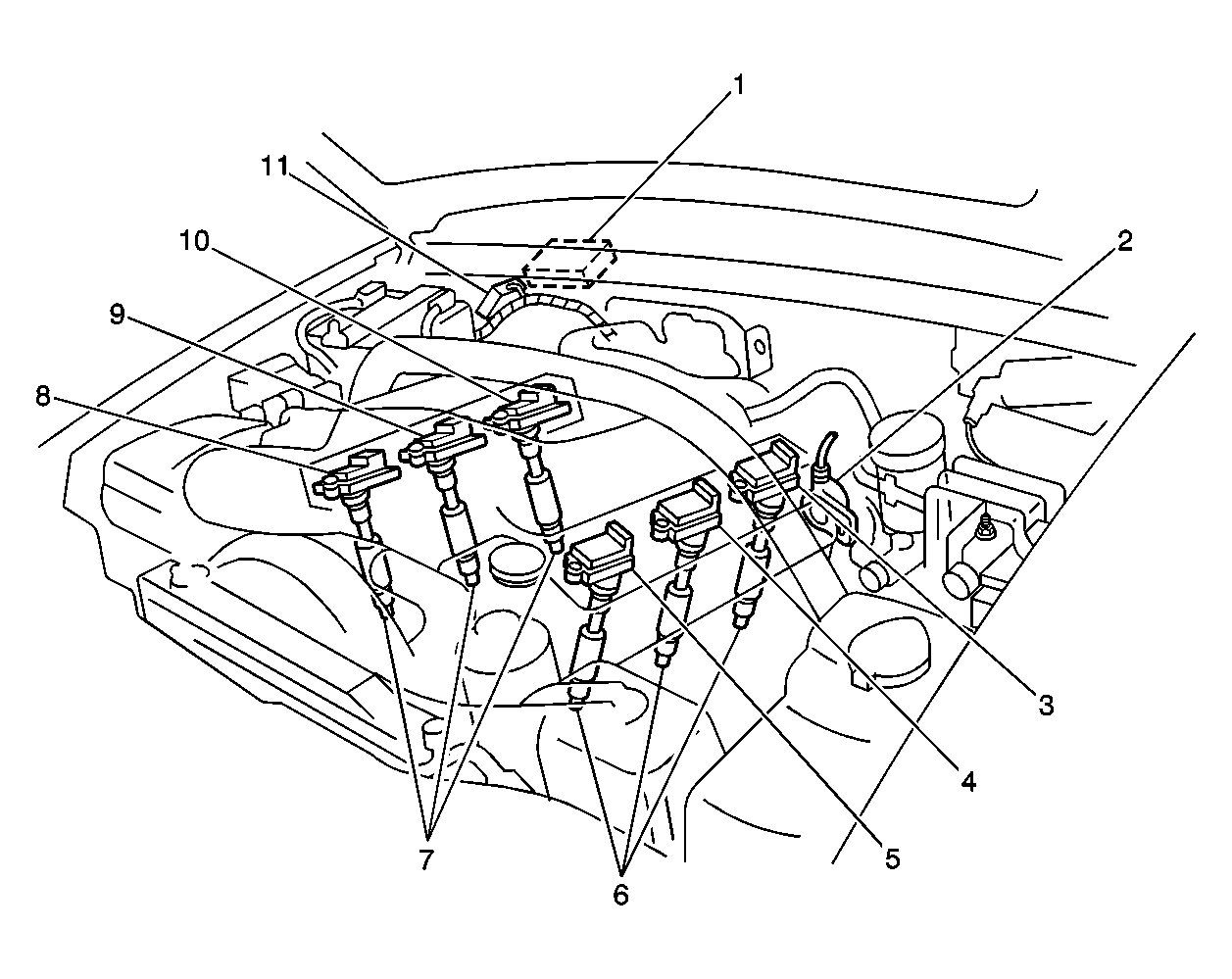
Fig 4: Ignition System Components
GM690205Courtesy of GENERAL MOTORS CORP.
Callout Component Name
1 PCM
2 CMP Sensor
3 Ignition Coil 5
4 Ignition Coil 3
5 Ignition Coil 1
6 Spark Plugs Bank 1
7 Spark Plugs Bank 2
8 Ignition Coil 2
9 Ignition Coil 4
10 Ignition Coil 6
11 Noise Suppressor
Fig 5: Engine Compartment Component Views
GM690206Courtesy of GENERAL MOTORS CORP.
Callout Component Name
1 Throttle Body Assembly
2 Fast Idle-Up Valve
3 MAP Sensor
4 Engine Coolant Hose for Fast Idle-Up Valve
5 EVAP Canister Purge Valve
6 PCV Breather Hose
7 EGR Pipe
8 Exhaust Manifold
9 HO2S Bank 2 Sensor 1
10 EGR Valve
11 PCV Hose
12 IAC Valve
13 PCV Valve
14 Brake Booster Vacuum Supply
15 Fuel Pressure Regulator Vacuum Hose
16 Fuel Pressure Regulator
17 IAC Bypass Air Hose
Fig 6: Main Relay and Fuel Pump Relay
GM468070Courtesy of GENERAL MOTORS CORP.
Callout Component Name
1 Main Relay
2 Fuel Pump Relay
3 Junction Box (located above left side hinge pillar trim panel)
Fig 7: Exhaust System Components
GM728058Courtesy of GENERAL MOTORS CORP.
Callout Component Name
1 Bank 2 Exhaust Manifold
2 HO2S Bank 2 Sensor 1
3 HO2S Bank 1 Sensor 1
4 Bank 1 Exhaust Manifold
5 Bank 1 Warm-Up TWC Converter
6 HO2S Bank 1 Sensor 2
7 HO2S Bank 2 Sensor 2
8 Bank 2 Warm-Up TWC Converter