lemon-mirror:
Home >> Chevrolet >> 2004 >> Venture LT, AWD >> Repair and Diagnosis >> General Information >> Identification >> General Information >> Introduction >> Key and Lock Cylinder Coding >> Assembling and Coding I/P Storage Compartment Lock Cylinder

Assembling and Coding I/P Storage Compartment Lock Cylinder

The I/P storage compartment lock only uses four of the ten cut positions 7-10. A retainer tumbler is used in the I/P storage compartment lock to retain the lock cylinder in the latch assembly. This retainer tumbler is not moved by the key. The retainer tumbler occupies the slot closest to the head of the I/P storage compartment lock cylinder and should come already installed in the cylinder.

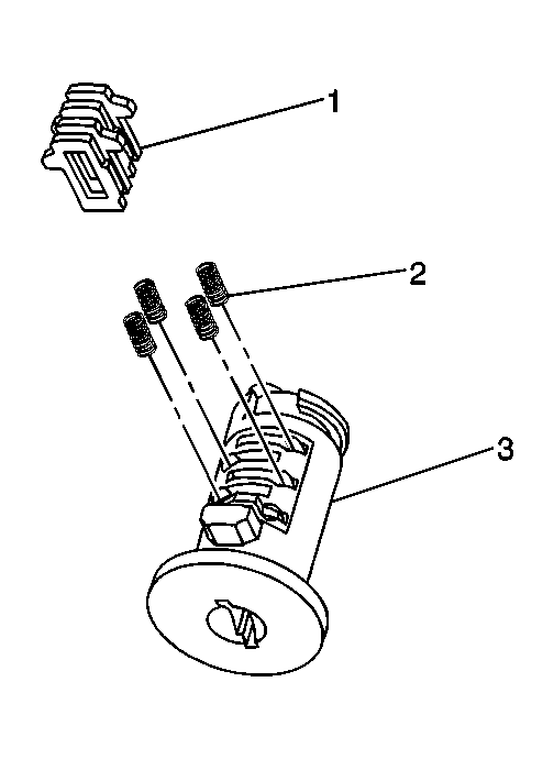
    Fig 1: Locating I/P Storage Compartment Lock Cylinder Components
    GM550198Courtesy of GENERAL MOTORS CORP.
  1. Hold the cylinder (3) so that the side with four tumbler spring wells is facing up.
  2. Insert tumbler springs (2) into the four spring wells.
  3. Install the tumbler (1) for key cut position 7 into the slot nearest to the front of the lock cylinder.
  4. Install the three remaining tumblers, key cut positions 8, 9 and 10, into the cylinder.
  5. Snap the tumblers into place with light hand pressure.
  6. Inspect for the correct loading of the tumblers (1) by inserting the key into cylinder (3). All of the tumblers should be flush with the lock cylinder.