lemon-mirror:
Home >> Chevrolet >> 2005 >> Avalanche 2500 >> Repair and Diagnosis >> Engine Performance >> System >> Engine Control System - 8.1L - Introduction >> Component Locator >> Engine Controls Connectors

Engine Controls Connectors

Accelerator Pedal Position (APP) Sensor Connector End View

GM366097Courtesy of GENERAL MOTORS CORP.
Connector Part Information
  • 15318071
  • 10-Way F Metri-Pack 150 Series (GY)
Pin Wire Color Circuit No. Function
A - - Not Used
B PU 1272 5-Volt Reference
C L-BU 1162 APP Sensor 2 Signal
D TN 1274 Low Reference
E BN 1271 Low Reference
F D-BU 1161 APP Sensor 1 Signal
G WH/BK 1164 5-Volt Reference
H-K - - Not Used
Camshaft Position (CMP) Sensor Connector End View

GM516611Courtesy of GENERAL MOTORS CORP.
Connector Part Information
  • 12059595
  • 3-Way F Metri-Pack 150 Series Sealed (GY)
Pin Wire Color Circuit No. Function
A RD 631 12-Volt Reference
B PK/BK 632 Low Reference
C BN/WH 633 CMP Sensor Signal
Crankshaft Position (CKP) Sensor Connector End View

GM366117Courtesy of GENERAL MOTORS CORP.
Connector Part Information
  • 15324165
  • 3-Way F Metri-Pack 150 Series (WH)
Pin Wire Color Circuit No. Function
A L-GN 1867 12-Volt Reference
B YE/BK 1868 Low Reference
C D-BU/WH 1869 CKP Sensor Signal
Engine Coolant Temperature (ECT) Sensor Connector End View

GM655807Courtesy of GENERAL MOTORS CORP.
Connector Part Information
  • 15324589
  • 3-Way F Metri-Pack 150 Series Sealed (GY)
Pin Wire Color Circuit No. Function
A BK 407 Low Reference
B YE 410 ECT Sensor Signal
C - - Not Used
Evaporative Emission (EVAP) Canister Purge Solenoid Connector End View

GM684795Courtesy of GENERAL MOTORS CORP.
Connector Part Information
  • 12052643
  • 2-Way F Metri-Pack 150 Series Sealed (RD)
Pin Wire Color Circuit No. Function
A PK 439 Ignition 1 Voltage
B D-GN/WH 428 EVAP Canister Purge Solenoid Control
Evaporative Emission (EVAP) Canister Vent Solenoid Connector End View

GM684795Courtesy of GENERAL MOTORS CORP.
Connector Part Information
  • 12052643
  • 2-Way F Metri-Pack 150 Series Sealed (RD)
Pin Wire Color Circuit No. Function
A WH 1310 EVAP Canister Vent Solenoid Control
B PK 2640 Battery Positive Voltage
Fuel Injector 1 Connector End View

GM833727Courtesy of GENERAL MOTORS CORP.
Connector Part Information
  • 15411634
  • 2-Way F Metri-Pack 280.1 P2S (BK)
Pin Wire Color Circuit No. Function
A PK/WH 1039 Ignition 1 Voltage
B BK 1744 Fuel Injector 1 Control
Fuel Injector 2 Connector End View

GM833727Courtesy of GENERAL MOTORS CORP.
Connector Part Information
  • 15411634
  • 2-Way F Metri-Pack 280.1 P2S (BK)
Pin Wire Color Circuit No. Function
A PK 1239 Ignition 1 Voltage
B L-GN/BK 1745 Fuel Injector 2 Control
Fuel Injector 3 Connector End View

GM833727Courtesy of GENERAL MOTORS CORP.
Connector Part Information
  • 15411634
  • 2-Way F Metri-Pack 280.1 P2S (BK)
Pin Wire Color Circuit No. Function
A PK/WH 1039 Ignition 1 Voltage
B PK/BK 1746 Fuel Injector 3 Control
Fuel Injector 4 Connector End View

GM833727Courtesy of GENERAL MOTORS CORP.
Connector Part Information
  • 15411634
  • 2-Way F Metri-Pack 280.1 P2S (BK)
Pin Wire Color Circuit No. Function
A PK 1239 Ignition 1 Voltage
B L-BU/BK 844 Fuel Injector 4 Control
Fuel Injector 5 Connector End View

GM833727Courtesy of GENERAL MOTORS CORP.
Connector Part Information
  • 15411634
  • 2-Way F Metri-Pack 280.1 P2S (BK)
Pin Wire Color Circuit No. Function
A PK/WH 1039 Ignition 1 Voltage
B BK/WH 845 Fuel Injector 5 Control
Fuel Injector 6 Connector End View

GM833727Courtesy of GENERAL MOTORS CORP.
Connector Part Information
  • 15411634
  • 2-Way F Metri-Pack 280.1 P2S (BK)
Pin Wire Color Circuit No. Function
A PK 1239 Ignition 1 Voltage
B YE/BK 846 Fuel Injector 6 Control
Fuel Injector 7 Connector End View

GM833727Courtesy of GENERAL MOTORS CORP.
Connector Part Information
  • 15411634
  • 2-Way F Metri-Pack 280.1 P2S (BK)
Pin Wire Color Circuit No. Function
A PK/WH 1039 Ignition 1 Voltage
B RD/BK 877 Fuel Injector 7 Control
Fuel Injector 8 Connector End View

GM833727Courtesy of GENERAL MOTORS CORP.
Connector Part Information
  • 15411634
  • 2-Way F Metri-Pack 280.1 P2S (BK)
Pin Wire Color Circuit No. Function
A PK 1239 Ignition 1 Voltage
B D-BU/WH 878 Fuel Injector 8 Control
Fuel Pump (FP) Relay - Secondary Connector End View (Dual Tanks)

GM535912Courtesy of GENERAL MOTORS CORP.
Connector Part Information
  • 12129716
  • 4-Way F Metri-Pack 280 Flex Lock (M-GY)
Pin Wire Color Circuit No. Function
30 PK 139 Ignition 1 Voltage
85 GY 120 Fuel Pump Supply Voltage
86 TN 1465 Fuel Pump Relay Control - Secondary
87 L-GN 1058 Fuel Balance Pump Supply Voltage
Fuel Pump and Sender Assembly - Primary Connector End View

GM684908Courtesy of GENERAL MOTORS CORP.
Connector Part Information
  • 15326631
  • 4-Way F GT 280 Series Sealed (BK)
Pin Wire Color Circuit No. Function
A BK 2150 Ground
B BK 470 Low Reference
C PU 1589 Fuel Level Sensor Signal - Primary
D GY 120 Fuel Pump Supply Voltage
Fuel Pump and Sender Assembly - Secondary Connector End View (Dual Tanks)

GM684908Courtesy of GENERAL MOTORS CORP.
Connector Part Information
  • 15326631
  • 4-Way F GT 280 Series Sealed (BK)
Pin Wire Color Circuit No. Function
A BK 2150 Ground
B BK 470 Low Reference
C D-BU 1936 Fuel Level Sensor Signal
D L-GN 1058 Fuel Balance Pump Supply Voltage
Fuel Tank Pressure (FTP) Sensor Connector End View

GM516611Courtesy of GENERAL MOTORS CORP.
Connector Part Information
  • 12059595
  • 3-Way F Metri-Pack 150 Series Sealed (BK)
Pin Wire Color Circuit No. Function
A BK 470 Low Reference
B D-GN 890 Fuel Tank Pressure Sensor Signal
C GY 474 5-Volt Reference
Heated Oxygen Sensor (HO2S) Bank 1 Sensor 1 Connector End View

GM831392Courtesy of GENERAL MOTORS CORP.
Connector Part Information
  • 12092839
  • 4-Way M Metri-Pack 150 Series Sealed (BK)
Pin Wire Color Circuit No. Function
A TN 1664 HO2S Low Signal Bank 1 Sensor 1
B PU/WH 1665 HO2S High Signal Bank 1 Sensor 1
C - - Not Available
D PK 539 Ignition 1 Voltage
E BK/WH 3113 HO2S Heater Low Control Bank 1 Sensor 1
Heated Oxygen Sensor (HO2S) Bank 1 Sensor 2 Connector End View

GM874937Courtesy of GENERAL MOTORS CORP.
Connector Part Information
  • 12146047
  • 4-Way F Metri-Pack 150 Series (BK)
Pin Wire Color Circuit No. Function
A TN/WH 1669 HO2S Low Signal Bank 1 Sensor 2
B PU/WH 1668 HO2S High Signal Bank 1 Sensor 2
C - - Not Available
D PK 1539 Ignition 1 Voltage
E BN 2391 HO2S Heater Low Control Bank 1 Sensor 2
Heated Oxygen Sensor (HO2S) Bank 2 Sensor 1 Connector End View

GM831392Courtesy of GENERAL MOTORS CORP.
Connector Part Information
  • 12092839
  • 4-Way M Metri-Pack 150 Series Sealed (BK)
Pin Wire Color Circuit No. Function
A TN 1667 HO2S Low Signal Bank 2 Sensor 1
B PU 1666 HO2S High Signal Bank 2 Sensor 1
C - - Not Available
D PK 539 Ignition 1 Voltage
E L-GN 3212 HO2S Heater Low Control Bank 2 Sensor 1
Heated Oxygen Sensor (HO2S) Bank 2 Sensor 2 Connector End View

GM831392Courtesy of GENERAL MOTORS CORP.
Connector Part Information
  • 12092839
  • 4-Way M Metri-Pack 150 Series Sealed (BK)
Pin Wire Color Circuit No. Function
A TN 1671 HO2S Low Signal Bank 2 Sensor 2
B PU 1670 HO2S High Signal Bank 2 Sensor 2
C - - Not Available
D PK 1539 Ignition 1 Voltage
E RD/WH 3223 HO2S Heater Low Control Bank 2 Sensor 2
Ignition Coil 1 Connector End View

GM1401799Courtesy of GENERAL MOTORS CORP.
Connector Part Information
  • 15366040
  • 4-Way F Metri-Pack 150 Series Sealed (BK)
Pin Wire Color Circuit No. Function
A BK 550 Ground
B BN 2129 Low Reference
C PU 2121 IC 1 Control
D PK 1039 Ignition 1 Voltage
Ignition Coil 2 Connector End View

GM1401799Courtesy of GENERAL MOTORS CORP.
Connector Part Information
  • 15366040
  • 4-Way F Metri-Pack 150 Series Sealed (BK)
Pin Wire Color Circuit No. Function
A BK 550 Ground
B BN 2130 Low Reference
C RD 2122 IC 2 Control
D PK 1239 Ignition 1 Voltage
Ignition Coil 3 Connector End View

GM1401799Courtesy of GENERAL MOTORS CORP.
Connector Part Information
  • 15366040
  • 4-Way F Metri-Pack 150 Series Sealed (BK)
Pin Wire Color Circuit No. Function
A BK 550 Ground
B BN 2129 Low Reference
C L-BU 2123 IC 3 Control
D PK 1039 Ignition 1 Voltage
Ignition Coil 4 Connector End View

GM1401799Courtesy of GENERAL MOTORS CORP.
Connector Part Information
  • 15366040
  • 4-Way F Metri-Pack 150 Series Sealed (BK)
Pin Wire Color Circuit No. Function
A BK 550 Ground
B BN 2130 Low Reference
C D-GN 2124 IC 4 Control
D PK 1239 Ignition 1 Voltage
Ignition Coil 5 Connector End View

GM1401799Courtesy of GENERAL MOTORS CORP.
Connector Part Information
  • 15366040
  • 4-Way F Metri-Pack 150 Series Sealed (BK)
Pin Wire Color Circuit No. Function
A BK 550 Ground
B BN 2129 Low Reference
C D-GN 2125 IC 5 Control
D PK 1039 Ignition 1 Voltage
Ignition Coil 6 Connector End View

GM1401799Courtesy of GENERAL MOTORS CORP.
Connector Part Information
  • 15366040
  • 4-Way F Metri-Pack 150 Series Sealed (BK)
Pin Wire Color Circuit No. Function
A BK 550 Ground
B BN 2130 Low Reference
C L-BU 2126 IC 6 Control
D PK 1239 Ignition 1 Voltage
Ignition Coil 7 Connector End View

GM1401799Courtesy of GENERAL MOTORS CORP.
Connector Part Information
  • 15366040
  • 4-Way F Metri-Pack 150 Series Sealed (BK)
Pin Wire Color Circuit No. Function
A BK 550 Ground
B BN 2129 Low Reference
C RD 2127 IC 7 Control
D PK 1039 Ignition 1 Voltage
Ignition Coil 8 Connector End View

GM1401799Courtesy of GENERAL MOTORS CORP.
Connector Part Information
  • 15366040
  • 4-Way F Metri-Pack 150 Series Sealed (BK)
Pin Wire Color Circuit No. Function
A BK 550 Ground
B BN 2130 Low Reference
C PU 2128 IC 8 Control
D PK 1239 Ignition 1 Voltage
Knock Sensor (KS) - Bank 1 Connector End View

GM696956Courtesy of GENERAL MOTORS CORP.
Connector Part Information
  • 15355362
  • 1-Way F Metri-Pack 150 Series Sealed (NA)
Pin Wire Color Circuit No. Function
1 D-BU 496 Knock Sensor - 1 Signal
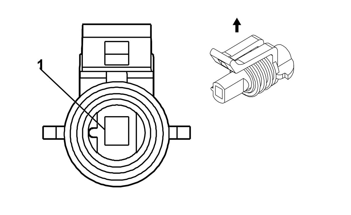
Knock Sensor (KS) - Bank 2 Connector End View

GM696956Courtesy of GENERAL MOTORS CORP.
Connector Part Information
  • 15355362
  • 1-Way F Metri-Pack 150 Series Sealed (NA)
Pin Wire Color Circuit No. Function
1 L-BU 1876 Knock Sensor - 2 Signal
Mass Air Flow (MAF) Sensor/Intake Air Temperature (IAT) Connector End View

GM366067Courtesy of GENERAL MOTORS CORP.
Connector Part Information
  • 15305555
  • 5-Way F Metri-Pack 150 Series (BK)
Pin Wire Color Circuit No. Function
A BK 552 Low Reference
B TN 472 IAT Sensor Signal
C BK/WH 451 Ground
D PK 439 Ignition 1 Voltage
E YE 492 MAF Sensor Signal
Manifold Absolute Pressure (MAP) Sensor Connector End View

GM684840Courtesy of GENERAL MOTORS CORP.
Connector Part Information
  • 12129946
  • 3-Way F Metri-Pack 150 Series Sealed (GY)
Pin Wire Color Circuit No. Function
A OG/BK 469 Low Reference
B L-GN 432 MAP Sensor Signal
C GY 597 5-Volt Reference
Throttle Actuator Control (TAC) Module C1 Connector End View

GM1505702Courtesy of GENERAL MOTORS CORP.
Connector Part Information
  • 12191068
  • 16-Way F Micro-Pack 100 Series (GY)
Pin Wire Color Circuit No. Function
1 D-GN 485 TP Sensor 1 Signal
2 GY 416 5-Volt Reference
3 BK 452 Low Reference
4 D-BU 84 Cruise Control Set/Coast Switch Signal
5 GY/BK 87 Cruise Control Resume/Accel Switch Signal
6 L-BU 1320 CHMSL Supply Voltage
7 PK 1339 Ignition 1 Voltage
8 BN 582 TAC Motor Control - 2
9 L-BU/BK 1688 5-Volt Reference
10 BK/WH 1704 Low Reference
11 PU 486 TP Sensor 2 Signal
12 OG/BK 1061 UART Serial Data
13 D-BU/WH 774 UART Serial Data
14 GY 397 Cruise Control On Switch Signal
15 BK/WH 550 Ground
16 YE 581 TAC Motor Control - 1
Throttle Actuator Control (TAC) Module C2 Connector End View

GM666638Courtesy of GENERAL MOTORS CORP.
Connector Part Information
  • 12177081
  • 10-Way F 150 Series Sealed (BK)
Pin Wire Color Circuit No. Function
A - - Not Used
B PU 1272 Low Reference
C L-BU 1162 APP Sensor 2 Signal
D TN 1274 5-Volt Reference
E - - Not Used
F D-BU 1161 APP Sensor 1 Signal
G WH/BK 1164 5-Volt Reference
H-J - - Not Used
Throttle Body Connector End View

GM831368Courtesy of GENERAL MOTORS CORP.
Connector Part Information
  • 15326836
  • 8-Way F GT 150 Series (BK)
Pin Wire Color Circuit No. Function
A YE 581 TAC Motor Control - 1
B BK/WH 1704 Low Reference
C BN 582 TAC Motor Control - 2
D BK 452 Low Reference
E L-BU/BK 1688 5-Volt Reference
F PU 486 TP Sensor 2 Signal
G D-GN 485 TP Sensor 1 Signal
H GY 416 5-Volt Reference