lemon-mirror:
Home >> Chevrolet >> 2005 >> Cobalt SS >> Repair and Diagnosis >> Engine Performance >> System >> Engine Controls - 2.0L - (Introduction) >> Component Locator >> Engine Controls Connectors

Engine Controls Connectors

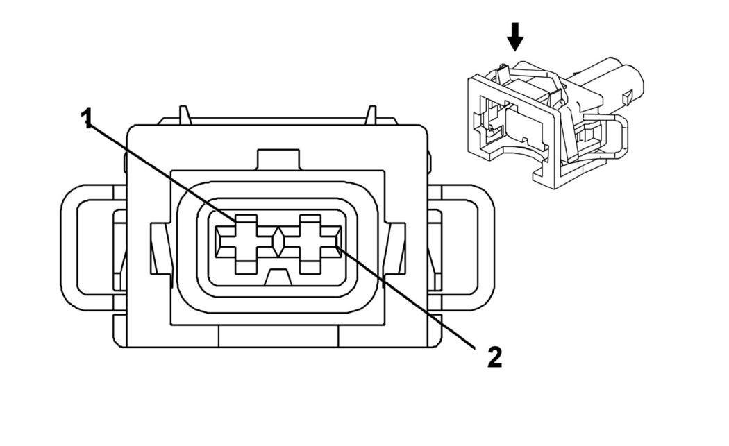
Accelerator Pedal Position (APP) Sensor

GM646396Courtesy of GENERAL MOTORS CORP.
Connector Part Information
  • OEM: 15326833
  • Service: See Catalog
  • 6-Way M GT 150 Series Sealed (BK)
Pin Wire Color Circuit No. Function
A TN 1274 Accelerator Pedal Position 5-Volt Reference (2)
B L-BU 1162 Accelerator Pedal Position Signal (2)
C PU 1272 Accelerator Pedal Position Low Reference (2)
D BN 1271 Accelerator Pedal Position Low Reference (1)
E D-BU 1161 Accelerator Pedal Position Signal (1)
F WH/BK 1164 Accelerator Pedal Position 5-Volt Reference (1)
After Cooling Pump

GM1405759Courtesy of GENERAL MOTORS CORP.
Connector Part Information
  • OEM: 12131678
  • Service: See Catalog
  • 2-Way F Mini Timer Sealed (BK)
Pin Wire Color Circuit No. Function
1 BK 2022 Coolant Pump Control
2 BK/WH 451 Signal Ground
Barometric Pressure Sensor

GM684840Courtesy of GENERAL MOTORS CORP.
Connector Part Information
  • OEM: 12129946
  • Service: See Catalog
  • 3-Way F Metri-Pack 150 Series Sealed (GY)
Pin Wire Color Circuit No. Function
A OG/BK 6014 Barometric Pressure Sensor Low Reference
B GY/BK 433 Barometric Pressure Sensor Signal
C WH/BK 2932 Barometric Pressure Sensor 5-Volt Reference
Camshaft Position (CMP) Sensor

GM1400090Courtesy of GENERAL MOTORS CORP.
Connector Part Information
  • OEM: 15336029
  • Service: See Catalog
  • 3-Way F GT 150 Series Sealed (BK)
Pin Wire Color Circuit No. Function
1 GY 596 5-Volt Reference
2 BN/WH 633 Camshaft Position Sensor Signal
3 PK/BK 632 Camshaft Position Sensor Low Reference
Coolant Level Switch

GM635009Courtesy of GENERAL MOTORS CORP.
Connector Part Information
  • OEM: 12052641
  • Service: See Catalog
  • 2-Way F Metri-Pack 150 Series Sealed (BK)
Pin Wire Color Circuit No. Function
A L-GN 1478 Coolant Level Switch Signal
B BK 650 Ground
Crankshaft Position (CKP) Sensor

GM1420683Courtesy of GENERAL MOTORS CORP.
Connector Part Information
  • OEM: 15363766
  • Service: See Catalog
  • 2-Way F Timer JR-Timer Sealed (BK)
Pin Wire Color Circuit No. Function
A PU 574 Crankshaft Position Sensor Low Reference (1)
B YE 573 Crankshaft Position Sensor Signal (1)
Engine Coolant Temperature (ETC) Sensor

GM1420683Courtesy of GENERAL MOTORS CORP.
Connector Part Information
  • OEM: 15363766
  • Service: See Catalog
  • 2-Way F Timer JR-Power Sealed (BK)
Pin Wire Color Circuit No. Function
1 BK 2761 Coolant Temperature Sensor Low Reference
2 YE 410 Engine Coolant Temperature Sensor Signal
Evaporative Emission (EVAP) Canister Purge Solenoid Valve

GM684795Courtesy of GENERAL MOTORS CORP.
Connector Part Information
  • OEM: 12052643
  • Service: See Catalog
  • 2-Way F Metri-Pack 150 Series Sealed (RD)
Pin Wire Color Circuit No. Function
A PK/WH 5291 Engine Main Relay Fused Control (2)
B D-GN/WH 428 EVAP Canister Purge Solenoid Control
Evaporative Emissions (EVAP) Canister Vent Solenoid Valve

GM684795Courtesy of GENERAL MOTORS CORP.
Connector Part Information
  • OEM: 12052643
  • Service: See Catalog
  • 2-Way F Metri-Pack 150 Series Sealed (RD)
Pin Wire Color Circuit No. Function
A RD/WH 1840 Battery Positive Voltage
B WH 1310 EVAP Canister Vent Solenoid Control
Fuel Injector 1

GM366123Courtesy of GENERAL MOTORS CORP.
Connector Part Information
  • OEM: 15326181
  • Service: See Catalog
  • 2-Way F Micro-Pack 064 Sealed (BK)
Pin Wire Color Circuit No. Function
A PK/BK 5293 Ignition 1 Voltage
B BK 1744 Fuel Injector 1 Control
Fuel Injector 2

GM366123Courtesy of GENERAL MOTORS CORP.
Connector Part Information
  • OEM: 15326181
  • Service: See Catalog
  • 2-Way F Micro-Pack 064 Sealed (BK)
Pin Wire Color Circuit No. Function
A PK/BK 5293 Ignition 1 Voltage
B L-BU/BK 844 Fuel Injector 2 Control
Fuel Injector 3

GM366123Courtesy of GENERAL MOTORS CORP.
Connector Part Information
  • OEM: 15326181
  • Service: See Catalog
  • 2-Way F Micro-Pack 064 Sealed (BK)
Pin Wire Color Circuit No. Function
A PK/BK 5293 Ignition 1 Voltage
B PK/BK 1746 Fuel Injector 3 Control
Fuel Injector 4

GM366123Courtesy of GENERAL MOTORS CORP.
Connector Part Information
  • OEM: 15326181
  • Service: See Catalog
  • 2-Way F Micro-Pack 064 Sealed (BK)
Pin Wire Color Circuit No. Function
A PK/BK 5293 Ignition 1 Voltage
B L-GN/BK 1745 Fuel Injector 4 Control
Fuel Pump

GM872554Courtesy of GENERAL MOTORS CORP.
Connector Part Information
  • OEM: 776127-2
  • Service: See Catalog
  • 2-Way F AMP (BK)
Pin Wire Color Circuit No. Function
1 PK/BK 120 Fuel Pump Supply Voltage
2 BK 650 Ground
Fuel Tank Pressure (FTP) Sensor

GM516611Courtesy of GENERAL MOTORS CORP.
Connector Part Information
  • 12059595
  • Service: See Catalog
  • 3-Way Metri-Pack 150 Series Sealed (BK)
Pin Wire Color Circuit No. Function
A RD/PK 2759 Low Reference
B GY/RD 890 Fuel Tank Pressure Sensor Signal
C BN/WH 2709 5-Volt Reference
Heated Oxygen Sensor (HO2S) - 1

GM474210Courtesy of GENERAL MOTORS CORP.
Connector Part Information
  • OEM: 12176897
  • Service: See Catalog
  • 4-Way F Metri-Pack 150 Series Sealed (L-GY)
Pin Wire Color Circuit No. Function
A TN 1667 Heated Oxygen Sensor Low Signal Bank 2 Sensor (1)
B PU 1666 Heated Oxygen Sensor High Signal Bank 2 Sensor (1)
C D-GN 676 Heated Oxygen Sensor Heater High Control Bank 1 Sensor (1)
D PK/BK 5291 Engine Main Relay Fused Control (2)
Heated Oxygen Sensor (HO2S) - 2

GM280761Courtesy of GENERAL MOTORS CORP.
Connector Part Information
  • OEM: 12160825
  • Service: See Catalog
  • 4-Way M Metri-Pack 150 Series Sealed (BK)
Pin Wire Color Circuit No. Function
A TN/WH 1669 Heated Oxygen Sensor Low Signal Bank 1 Sensor (2)
B PU/WH 1668 Heated Oxygen Sensor High Signal Bank 1 Sensor (2)
C BK/WH 1423 Heated Oxygen Sensor Heater Low Control Bank 1 Sensor (2)
D PK/BK 5291 Engine Main Relay Fused Control (2)
Ignition Coil/Module 1

GM1384254Courtesy of GENERAL MOTORS CORP.
Connector Part Information
  • OEM: 1928403440
  • Service: See Catalog
  • 4-Way F Kompakt (BK)
Pin Wire Color Circuit No. Function
A PK/BK 5292 Ignition 1 Voltage
B TN/WH 6405 IC 1 Control
C VT 6413 Low Reference
D BK 1350 Ground
Ignition Coil/Module 2

GM1384254Courtesy of GENERAL MOTORS CORP.
Connector Part Information
  • OEM: 1928403440
  • Service: See Catalog
  • 4-Way F Kompakt (BK)
Pin Wire Color Circuit No. Function
A PK/BK 5292 Ignition 1 Voltage
B L-BU/WH 6408 IC 2 Control
C VT 6413 Low Reference
D BK 1350 Ground
Ignition Coil/Module 3

GM1384254Courtesy of GENERAL MOTORS CORP.
Connector Part Information
  • OEM: 1928403440
  • Service: See Catalog
  • 4-Way F Kompakt (BK)
Pin Wire Color Circuit No. Function
A PK/BK 5292 Ignition 1 Voltage
B D-BU/WH 6406 IC 3 Control
C VT 6413 Low Reference
D BK 1350 Ground
Ignition Coil/Module 4

GM1384254Courtesy of GENERAL MOTORS CORP.
Connector Part Information
  • OEM: 1928403440
  • Service: See Catalog
  • 4-Way F Kompakt (BK)
Pin Wire Color Circuit No. Function
A PK/BK 5292 Ignition 1 Voltage
B D-GN/WH 6407 IC 4 Control
C VT 6413 Low Reference
D BK 1350 Ground
Knock Sensor (KS)

GM684799Courtesy of GENERAL MOTORS CORP.
Connector Part Information
  • OEM: 12077900
  • Service: See Catalog
  • 2-Way F Metri-Pack 280 Series Sealed (BK)
Pin Wire Color Circuit No. Function
A D-BU 496 Knock Sensor Signal (1)
B GY 1716 Knock Sensor Low Reference (1)
Manifold Absolute Pressure (MAP) Sensor

GM684840Courtesy of GENERAL MOTORS CORP.
Connector Part Information
  • OEM: 12129946
  • Service: See Catalog
  • 3-Way F Metri-Pack 150 Series Sealed (GY)
Pin Wire Color Circuit No. Function
A OG/BK 469 Manifold Absolute Pressure Sensor Low Reference
B L-GN 432 Manifold Absolute Pressure Sensor Signal
C GY 2704 Manifold Absolute Pressure Sensor 5-Volt Reference
Mass Air Flow (MAF) / Inlet Air Temperature (IAT) Sensor

GM647974Courtesy of GENERAL MOTORS CORP.
Connector Part Information
  • OEM: 15326822
  • Service: See Catalog
  • 5-Way F GT 150 Series Sealed (BK)
Pin Wire Color Circuit No. Function
A YE 492 Mass Air Flow Sensor Signal
B BK/WH 451 Signal Ground
C PK/BK 5291 Engine Main Relay Fused Control (2)
D BK 2760 Intake Air Temperature Sensor Low Reference
E TN 472 Intake Air Temperature Sensor Signal
Supercharger Boost Gage

GM39665Courtesy of GENERAL MOTORS CORP.
Connector Part Information
  • OEM: 12089248
  • Service: See Catalog
  • 4-Way F Metri-Pack 150 Series (NA)
Pin Wire Color Circuit No. Function
A PK 439 Run/Crank Ignition 1 Voltage
B GY 8 Instrument Panel Lamp Supply Voltage (1)
C TN 891 Boost Gauge Signal
D BK/WH 651 Signal Ground
Supercharger By - Pass Valve Solenoid

GM635009Courtesy of GENERAL MOTORS CORP.
Connector Part Information
  • OEM: 12052641
  • Service: See Catalog
  • 2-Way F Metri-Pack 150 Series Sealed (BK)
Pin Wire Color Circuit No. Function
A PK 1039 Run/Crank Ignition 1 Voltage
B GY 1724 Supercharger Boost Solenoid Control
Supercharge Inlet Pressure Sensor

GM1381341Courtesy of GENERAL MOTORS CORP.
Connector Part Information
  • OEM: 10763258
  • Service: See Catalog
  • 4-Way F Receptacle 2.8 Sealed (BK)
Pin Wire Color Circuit No. Function
1 D-GN/WH 6292 Manifold Absolute Pressure #2 Low Reference
2 L-BU 6118 Manifold Air Temperature Sensor Signal
3 D-GN 6291 Manifold Absolute Pressure Sensor #2 Volt Reference
4 GY 6337 Manifold Absolute Pressure Sensor #2 Signal
Throttle Actuator Control (TAC) Module

GM831368Courtesy of GENERAL MOTORS CORP.
Connector Part Information
  • OEM: 15326836
  • Service: See Catalog
  • 8-Way F GT 150 Series Sealed (BK)
Pin Wire Color Circuit No. Function
A D-GN 485 Throttle Position Sensor Signal (1)
B L-BU/BK 1688 5-Volt Reference
C BK 2752 Throttle Position Sensor Low Reference
D PU 486 Throttle Position Sensor Signal (2)
E YE 581 Throttle Actuator Control Open
F BN 582 Throttle Actuator Control Close
G GY 2701 Throttle Position Sensor 5-Volt Reference
H BK/WH 1704 Sensor Low Reference