lemon-mirror:
Home >> Chevrolet >> 2005 >> Corvette 2D Convertible, Automatic >> Repair and Diagnosis >> Transmission >> Automatic Trans >> Shift Interlock System >> Component Locator >> Automatic Transmission Shift Lock Control Connector

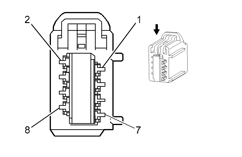
Automatic Transmission Shift Lock Control Connector

Automatic Transmission Shift Lever

GM1554145Courtesy of GENERAL MOTORS CORP.
Connector Part Information
  • OEM: E-3575-001 (AFL)
  • Service: See Catalog
  • 8-Way F 1.5 mm Unsealed (BK)
Pin Wire Color Circuit No. Function
1 BU 75 Park Reverse Switch Supply Voltage
2-4 - - Not Used
5 RD/WH 840 Battery Positive Voltage
6 D-GN/WH 1932 Transmission Shift Select Switch
7 GY/BK 1357 Instrument Panel Lamp Control
8 D-GN/WH 1135 A/T Shift Lock Control Solenoid Supply Voltage