lemon-mirror:
Home >> Chevrolet >> 2005 >> Epica LS >> Repair and Diagnosis >> Electrical >> Component Locations >> Lighting Systems >> Component Locator >> Lighting Systems Connector End Views

Lighting Systems Connector End Views

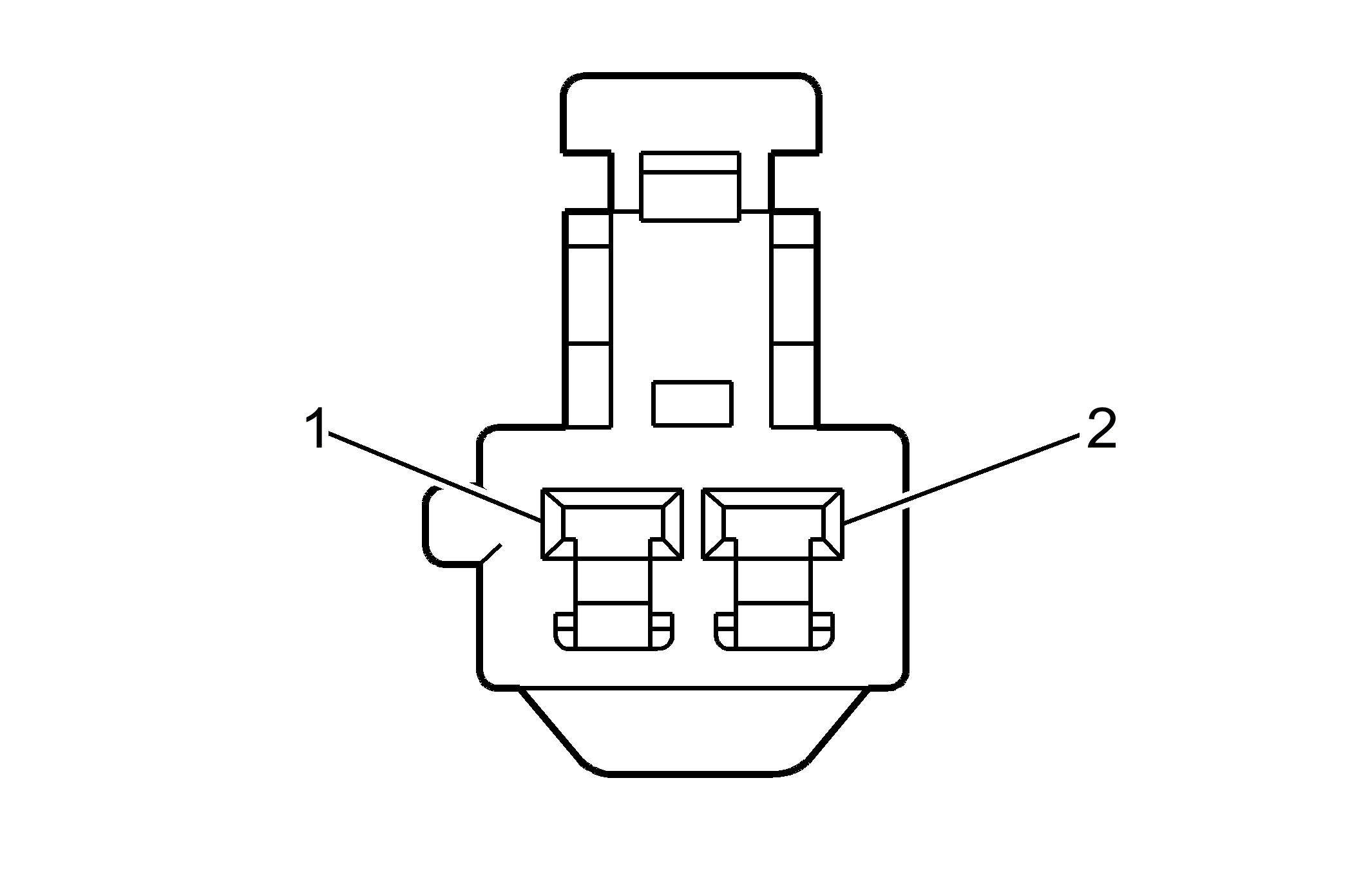
Ashtray Lamp

GM1497837Courtesy of GENERAL MOTORS CORP.
Connector Part Information
  • JC 60-1257
  • 2-Way F Connector (BK)
Pin Wire Color Circuit Number Function
1 BN/WH 309 Right Park Lamp Supply Voltage
2 D-GN 44 Instrument Panel Lamps Dimmer Switch Signal
Backup Lamp - Left and Right (Except North America) (On Rear Compartment Lid)

GM1466986Courtesy of GENERAL MOTORS CORP.
Connector Part Information
  • AMP 174463-1
  • 2-Way M 070 Series Multilock 2P (WH)
Pin Wire Color Circuit Number Function
1 L-GN 24 Backup Lamp Supply Voltage
2 BK 550 Ground
Backup Lamp Switch (Manual Transmission)

GM1265364Courtesy of GENERAL MOTORS CORP.
Connector Part Information
  • AK 07207
  • 2-Way F
Pin Wire Color Circuit Number Function
1 PK 839 Ignition 1 Voltage
2 L-GN 24 Backup Lamp Supply Voltage
Center High Mounted Stop Lamp (CHMSL)

GM1467036Courtesy of GENERAL MOTORS CORP.
Connector Part Information
  • KET MG 610392
  • 2-Way F SDL Series (WH)
Pin Wire Color Circuit Number Function
1 L-BU 20 Stop Lamp Supply Voltage/Stop Lamp Switch Signal
2 BK 550 Ground
Courtesy Lamp - Front Door (Left and Right)

GM1467020Courtesy of GENERAL MOTORS CORP.
Connector Part Information
  • KET MG 610070
  • 2-Way F 090 (2.3 mm) Series (WH)
Pin Wire Color Circuit Number Function
1 OG 640 Battery Positive Voltage
2 WH 156 Courtesy Lamp Control
Daytime Running Lamps (DRL) Diode

GM1468509Courtesy of GENERAL MOTORS CORP.
Connector Part Information
  • KET MG 620102-5
  • 2-Way F DIODE Connector (BK)
Pin Wire Color Circuit Number Function
1 PK 239 Ignition 1 Voltage
2 PK 239 Ignition 1 Voltage
Daytime Running Lamps (DRL) Module (North America)

GM62469Courtesy of GENERAL MOTORS CORP.
Connector Part Information
  • PED 12064998
  • 8-Way F Metri-Pack 280 Series (BK)
Pin Wire Color Circuit Number Function
A OG 1340 Battery Positive Voltage
B L-GN 11 Headlamp Dimmer Switch Signal
C L-BU 1346 Headlamps Supply Voltage/ Headlamp Control
D WH 133 Park Brake Switch Signal
WH 133 Park Brake Switch Signal
E BK 1250 Ground
F PK 239 Ignition 1 Voltage
PK 239 Ignition 1 Voltage
G WH 629 DRL Indicator Control
H - - Not Used
Daytime Running Lamps (DRL) Module (Scandinavian)

GM1500892Courtesy of GENERAL MOTORS CORP.
Connector Part Information
  • F8-4
  • 8-Way F Connector (BK)
Pin Wire Color Circuit Number Function
1 BN 31 Oil Pressure Indicator Control
2 BN/WH 309 Right Park Lamp Supply Voltage
3 PK 239 Ignition 1 Voltage
4 BK 1250 Ground
5 L-BU 1346 Headlamp Supply Voltage/ Headlamp Control
6 D-BU 1309 Park Lamps ON Signal
7 PU 709 Left Park Lamp Supply Voltage
8 OG 1340 Battery Positive Voltage
Dome Lamp (w/o Sunroof)

GM1265363Courtesy of GENERAL MOTORS CORP.
Connector Part Information
  • AMP 3685001
  • 3-Way
Pin Wire Color Circuit Number Function
1 BK 450 Ground
2 D-BU 107 Left Interior Lamp Control
3 OG 640 Battery Positive Voltage
Fog Lamp - Left Front

GM1468380Courtesy of GENERAL MOTORS CORP.
Connector Part Information
  • KUM PB 625-02027
  • 2-Way F NMWP 04F-B Ass'y (BK)
Pin Wire Color Circuit Number Function
1 PU/WH 34 Front Fog Lamp Supply Voltage
2 BK 250 Ground
Fog Lamp - Right Front

GM1468380Courtesy of GENERAL MOTORS CORP.
Connector Part Information
  • KUM PB 625-02027
  • 2-Way F NMWP 04F-B Ass'y (BK)
Pin Wire Color Circuit Number Function
1 PU/WH 34 Front Fog Lamp Supply Voltage
2 BK 250 Ground
Fog Lamp Switch - Front

GM1467115Courtesy of GENERAL MOTORS CORP.
Connector Part Information
  • KET MG 651044
  • 6-Way F 090 II Series (BK)
Pin Wire Color Circuit Number Function
1 - - Not Used
2 YE/WH 317 Fog Lamp Relay Coil Supply Voltage
3 BN/WH 309 Right Park Lamp Supply Voltage
4 D-GN 44 Instrument Panel Lamps Dimmer Switch Signal
5 L-GN 318 Left Rear Trailer Stop/Turn Lamp Supply Voltage
6 BK 1250 Ground
Fog Lamp Switch - Rear

GM1467115Courtesy of GENERAL MOTORS CORP.
Connector Part Information
  • KET MG 651044
  • 6-Way F 090 II Series (GY)
Pin Wire Color Circuit Number Function
1 - - Not Used
2 BK 1250 Ground
3 BN/WH 309 Right Park Lamp Supply Voltage
4 D-GN 44 Instrument Panel Lamps Dimmer Switch Signal
5 YE 1977 Rear Fog Lamp Switch Signal
6 RD 122 Rear Fog Lamps Supply Voltage
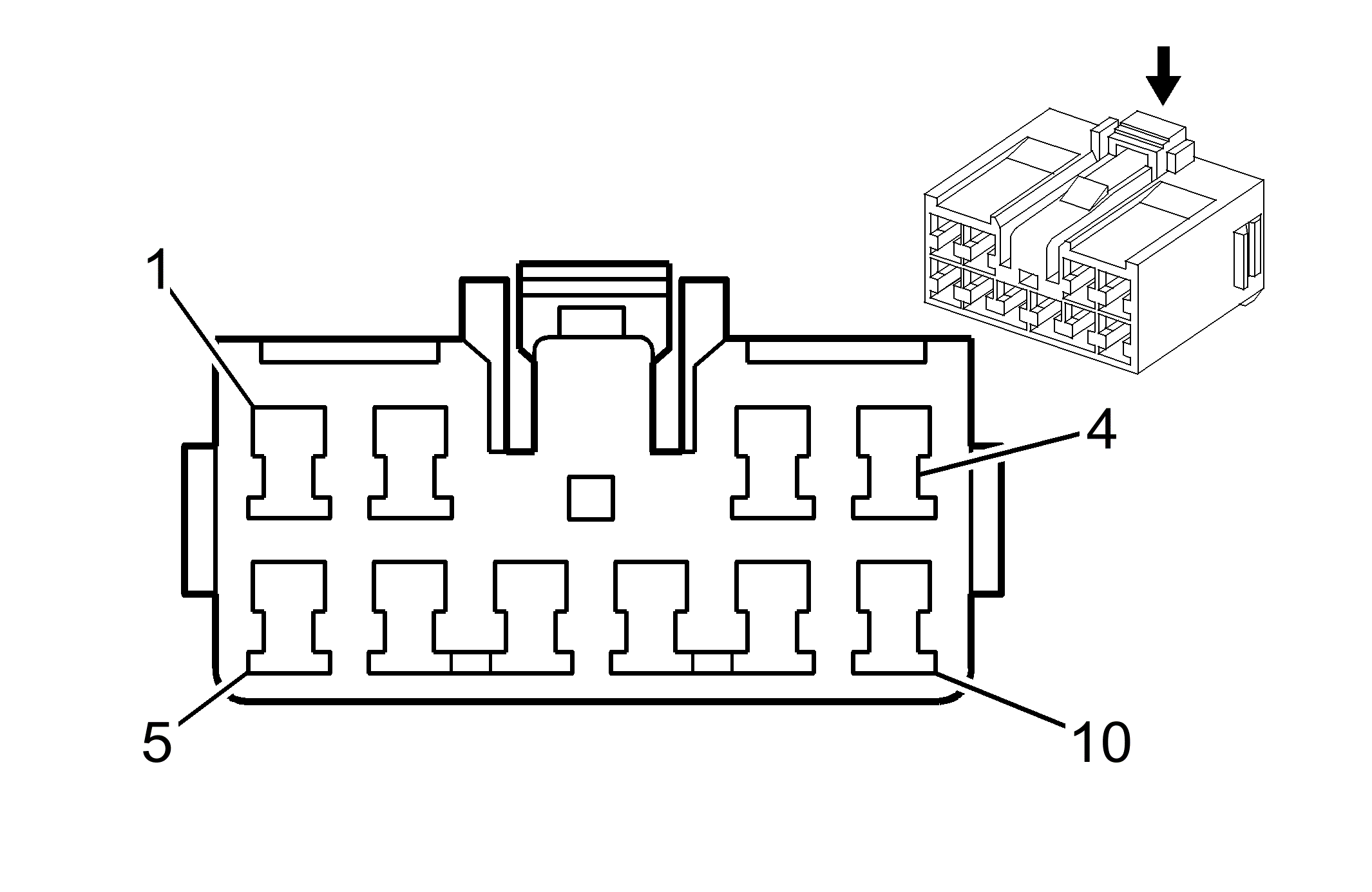
Hazard Switch

GM1467121Courtesy of GENERAL MOTORS CORP.
Connector Part Information
  • KET MG 651056
  • 10-Way F 090-II Series (WH)
Pin Wire Color Circuit Number Function
1 - - Not Used
2 D-GN 44 Instrument Panel Lamp Dimmer Signal Switch
3 BN/WH 309 Right Park Lamp Supply Voltage
4-6 - - Not Used
7 BK 250 Ground
BK 250 Ground
8 PU 1697 Turn/Hazard Module Signal
9-10 - - Not Used
Headlamp - High Beam - Left (Except North America)

GM684797Courtesy of GENERAL MOTORS CORP.
Connector Part Information
  • 12059183
  • 2-Way F Metri-Pack 280 Series, Sealed (BK)
Pin Wire Color Circuit Number Function
A D-GN/WH 711 Left Headlamp High Beam Supply Voltage
B BK/WH 250 Ground
Headlamp - High Beam - Left (North America)

GM684797Courtesy of GENERAL MOTORS CORP.
Connector Part Information
  • 12059183
  • 2-Way F Metri-Pack 280 Series, Sealed (BK)
Pin Wire Color Circuit Number Function
A RD 711 Left Headlamp High Beam Supply Voltage
B BK/WH 1250 Ground
Headlamp - High Beam - Right (Except North America)

GM684797Courtesy of GENERAL MOTORS CORP.
Connector Part Information
  • 12059183
  • 2-Way F Metri-Pack 280 Series, Sealed (BK)
Pin Wire Color Circuit Number Function
A D-GN/WH 311 Right Headlamp High Beam Supply Voltage
B BK/WH 250 Ground
Headlamp - High Beam - Right (North America)

GM684797Courtesy of GENERAL MOTORS CORP.
Connector Part Information
  • 12059183
  • 2-Way F Metri-Pack 280 Series, Sealed (BK)
Pin Wire Color Circuit Number Function
A RD 311 Right Headlamp High Beam Supply Voltage
B BK/WH 1250 Ground
Headlamp - Low Beam - Left (Except North America)

GM73251Courtesy of GENERAL MOTORS CORP.
Connector Part Information
  • 12033701
  • 2-Way F Metri-Pack 480 Series, Sealed (GY)
Pin Wire Color Circuit Number Function
A BN/WH 712 Left Headlamp Low Beam Supply Voltage
B BK 250 Ground
Headlamp - Low Beam - Left (North America)

GM73251Courtesy of GENERAL MOTORS CORP.
Connector Part Information
  • 12033701
  • 2-Way F Metri-Pack 480 Series, Sealed (GY)
Pin Wire Color Circuit Number Function
A YE 1712 Left Headlamp Low Beam Supply Voltage
B BK/WH 250 Ground
Headlamp - Low Beam - Right (Except North America)

GM73251Courtesy of GENERAL MOTORS CORP.
Connector Part Information
  • 12033701
  • 2-Way F Metri-Pack 480 Series, Sealed (GY)
Pin Wire Color Circuit Number Function
A BN/WH 312 Right Headlamp Low Beam Supply Voltage
B BK 250 Ground
Headlamp - Low Beam - Right (North America)

GM73251Courtesy of GENERAL MOTORS CORP.
Connector Part Information
  • 12033701
  • 2-Way F Metri-Pack 480 Series, Sealed (GY)
Pin Wire Color Circuit Number Function
A BN/WH 1312 Right Headlamp Low Beam Supply Voltage
B BK 1250 Ground
Headlamp Leveling Switch

GM1468511Courtesy of GENERAL MOTORS CORP.
Connector Part Information
  • MOLEX 5557-06R
  • 6-Way Mini Fit Conn. Rec. Housing (WH)
Pin Wire Color Circuit Number Function
1 BN/WH 309 Right Park Lamp Supply Voltage
2 D-GN 189 Headlamp Leveling Motor Supply Voltage
3 BN/WH 312 Right Headlamp Low Beam Supply Voltage
4 D-GN 44 Instrument Panel Lamps Dimmer Switch Signal
5 - - Not Used
6 BK 2250 Ground
Headlamp Switch

GM1467062Courtesy of GENERAL MOTORS CORP.
Connector Part Information
  • KET MG 620395
  • 3-Way M SDL Series (WH)
Pin Wire Color Circuit Number Function
1 WH 1080 Parklamp Relay Control
2 BK 1250 Ground
3 D-GN/BK 1798 Headlamp Relay Control
D-GN/BK 1798 Headlamp Relay Control
I/P Compartment Lamp

GM1481285Courtesy of GENERAL MOTORS CORP.
Connector Part Information
  • AK 36277
  • 2-Way F Connector (GY)
Pin Wire Color Circuit Number Function
1 YE/WH 143 Accessory Voltage
2 PU 175 Glove Box Lamp Control
I/P Compartment Lamp Switch

GM1481285Courtesy of GENERAL MOTORS CORP.
Connector Part Information
  • AK 5306
  • 2-Way F Connector (BK)
Pin Wire Color Circuit Number Function
1 PU 175 Glove Box Lamp Control
2 BK 250 Ground
I/P Dimmer Control Switch

GM1467010Courtesy of GENERAL MOTORS CORP.
Connector Part Information
  • KET MG 610045
  • 3-Way F 250 Series (WH)
Pin Wire Color Circuit Number Function
1 D-GN 44 Instrument Panel Lamps Dimmer Switch Signal
D-GN 44 Instrument Panel Lamps Dimmer Switch Signal
2 BK 2250 Ground
3 BN/WH 309 Right Park Lamp Supply Voltage
BN/WH 309 Right Park Lamp Supply Voltage
License Plate Lamp

GM744036Courtesy of GENERAL MOTORS CORP.
Connector Part Information
  • 12110053
  • 2-Way F Lamp Socket Wedge Base W2 (L-GY)
Pin Wire Color Circuit Number Function
A BK 709 Left Park Lamp Supply Voltage
B WH 550 Ground
Park Position Lamp - Left Front (Except North America)

GM407137Courtesy of GENERAL MOTORS CORP.
Connector Part Information 2-Way F Lamp Connector
Pin Wire Color Circuit Number Function
1 PU 709 Left Park Lamp Supply Voltage
2 BK 250 Ground
Park Position Lamp - Right Front (Except North America)

GM407137Courtesy of GENERAL MOTORS CORP.
Connector Part Information 2-Way F Lamp Connector
Pin Wire Color Circuit Number Function
1 BN/WH 309 Right Park Lamp Supply Voltage
2 BK 250 Ground
Park/Turn Signal Lamp - Left Front (North America)

GM1467029Courtesy of GENERAL MOTORS CORP.
Connector Part Information
  • KET MG 610327
  • 3-Way F SWP Series (BK)
Pin Wire Color Circuit Number Function
1 PU 709 Left Park Lamp Supply Voltage
2 BK 250 Ground
3 L-BU 14 Left Turn Signal Lamps Supply Voltage
Park/Turn Signal Lamp - Right Front (North America)

GM1467029Courtesy of GENERAL MOTORS CORP.
Connector Part Information
  • KET MG 610327
  • 3-Way F SWP Series (BK)
Pin Wire Color Circuit Number Function
1 BN/WH 309 Right Park Lamp Supply Voltage
2 BK 250 Ground
3 D-BU 15 Right Turn Signal Lamps Supply Voltage
Shift Indicator Lamp (Automatic Transmission)

GM744036Courtesy of GENERAL MOTORS CORP.
Connector Part Information
  • 12110053
  • 2-Way F Lamp Socket Wedge Base W2 (L-GY)
Pin Wire Color Circuit Number Function
A GY 309 Right Park Lamp Supply Voltage
B GY 44 Instrument Panel Lamps Dimmer Switch Signal
Side Marker Lamp - Left Front

GM1467028Courtesy of GENERAL MOTORS CORP.
Connector Part Information
  • KET MG 610320
  • 2-Way F SWP Series (BK)
Pin Wire Color Circuit Number Function
1 L-BU 14 Left Turn Signal Lamps Supply Voltage
2 PU 709 Left Park Lamp Supply Voltage
Side Marker Lamp - Left Rear

GM1467028Courtesy of GENERAL MOTORS CORP.
Connector Part Information
  • KET MG 610320
  • 2-Way F SWP Series (BK)
Pin Wire Color Circuit Number Function
1 BK 950 Ground
2 PU 709 Left Parklamp Supply Voltage
Side Marker Lamp - Right Front

GM1467028Courtesy of GENERAL MOTORS CORP.
Connector Part Information
  • KET MG 610320
  • 2-Way F SWP Series (BK)
Pin Wire Color Circuit Number Function
1 BN/WH 309 Right Park Lamp Supply Voltage
2 D-BU 15 Right Turn Signal Lamps Supply Voltage
Side Marker Lamp - Right Rear

GM1467028Courtesy of GENERAL MOTORS CORP.
Connector Part Information
  • KET MG 610320
  • 2-Way F SWP Series (BK)
Pin Wire Color Circuit Number Function
1 BK 950 Ground
2 BN/WH 309 Right Parklamp Supply Voltage
Stop Lamp Switch

GM1467027Courtesy of GENERAL MOTORS CORP.
Connector Part Information
  • KET MG 610267
  • 4-Way F 250 D/L Series (WH)
Pin Wire Color Circuit Number Function
1 PK/WH 439 Ignition 1 Voltage
2 BN/WH 186 Automatic Transmission Shift Lock Solenoid Supply Voltage
3 OG 540 Battery Positive Voltage
4 L-BU 20 Stop Lamp Supply Voltage/ Stop Lamp Switch Signal
L-BU 20 Stop Lamp Supply Voltage/ Stop Lamp Switch Signal
Turn Signal Indicator Lamp - Left

GM1467028Courtesy of GENERAL MOTORS CORP.
Connector Part Information
  • KET MG 610320
  • 2-Way F SWP Series (BK)
Pin Wire Color Circuit Number Function
1 L-BU 14 Left Turn Signal Lamps Supply Voltage
2 BK 1250 Ground
Turn Signal Indicator Lamp - Right

GM1467028Courtesy of GENERAL MOTORS CORP.
Connector Part Information
  • KET MG 610320
  • 2-Way F SWP Series (BK)
Pin Wire Color Circuit Number Function
1 D-BU 15 Right Turn Signal Lamps Supply Voltage
2 BK 1250 Ground
Turn Signal Multifunction Switch

GM1467023Courtesy of GENERAL MOTORS CORP.
Connector Part Information
  • KET MG 610203
  • 7-Way F 118 (PA) Series (WH)
Pin Wire Color Circuit Number Function
1 L-BU/WH 1314 Left Front Turn Signal Lamp Supply Voltage
2 BK 1250 Ground
3 D-BU/WH 1315 Right Front Turn Signal Lamp Supply Voltage
4 L-GN 11 Headlamp High Beam Supply Voltage
5 - - Not Used
6 L-BU 1346 Headlamp Supply Voltage/ Headlamp Control
7 OG 140 Battery Positive Voltage
Turn Signal Repeater Lamp - Left (Except North America)

GM1467028Courtesy of GENERAL MOTORS CORP.
Connector Part Information
  • KET MG 610320
  • 2-Way F 118 (PA) Series (BK)
Pin Wire Color Circuit Number Function
1 BK 250 Ground
2 L-BU 14 Left Turn Signal Lamps Supply Voltage
Turn Signal Repeater Lamp - Right (Except North America)

GM1467028Courtesy of GENERAL MOTORS CORP.
Connector Part Information
  • KET MG 610320
  • 2-Way F SWP Series
Pin Wire Color Circuit Number Function
1 BK 250 Ground
2 D-BU 15 Right Turn Signal Lamps Supply Voltage
Vanity Lamp - Left

GM1481285Courtesy of GENERAL MOTORS CORP.
Connector Part Information
  • AK 36277
  • 2-Way F Connector (BK)
Pin Wire Color Circuit Number Function
1 OG/BK 1640 Vanity Lamps Switch Voltage
2 BK 450 Ground
Vanity Lamp - Right

GM1481285Courtesy of GENERAL MOTORS CORP.
Connector Part Information
  • AK 36277
  • 2-Way F Connector (BK)
Pin Wire Color Circuit Number Function
1 OG/BK 2640 Vanity Lamps Switch Voltage
2 BK 450 Ground
Vanity Lamps Switch - Left

GM1467020Courtesy of GENERAL MOTORS CORP.
Connector Part Information
  • KET MG 610070
  • 2-Way 090 F (2.3 mm) Series (WH)
Pin Wire Color Circuit Number Function
1 OG 640 Battery Positive Voltage
2 OG/BK 2640 Vanity Lamps Switch Voltage
Vanity Lamps Switch - Right

GM1467020Courtesy of GENERAL MOTORS CORP.
Connector Part Information
  • KET MG 610070
  • 2-Way 090 F (2.3 mm) Series (WH)
Pin Wire Color Circuit Number Function
1 OG 640 Battery Positive Voltage
2 OG/BK 1640 Vanity Lamps Switch Voltage