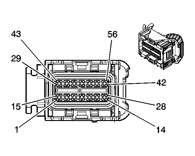
Powertrain Control Module (PCM) Connectors
Powertrain Control Module (PCM) C1 Connector End View
| Connector Part Information |
|
||
|---|---|---|---|
| Pin | Wire Color | Circuit No. | Function |
| 1 | TN/BK | 2500 | High Speed GMLAN Serial Data (+) |
| 2 | TN | 2501 | High Speed GMLAN Serial Data (-) |
| 3 | - | - | Not Used |
| 4 | GY | 2700 | 5-Volt Reference |
| 5 | - | - | Not Used |
| 6 | BN/WH | 419 | MIL Control |
| 7 | TN | 5514 | Low Reference |
| 8-9 | - | - | Not Used |
| 10 | WH | 1310 | EVAP Canister Vent Solenoid Control |
| 11 | - | - | Not Used |
| 12 | TN | 2759 | Low Reference |
| 13-17 | - | - | Not Used |
| 18 | YE | 743 | Accessory Voltage |
| 19 | PK | 639 | Ignition 1 Voltage |
| 20 | RD/WH | 1440 | Battery Positive Voltage |
| 21 | - | - | Not Used |
| 22 | BN | 818 | VSS Signal |
| 23 | YE | 447 | Starter Relay Coil Control |
| 24 | BN | 5069 | Engine Main Relay Coil Control |
| 25 | - | - | Not Used |
| 26 | D-GN | 890 | Fuel Tank Pressure Sensor Signal |
| 27-30 | - | - | Not Used |
| 31 | OG/BK | 380 | A/C Refrigerant Pressure Sensor Signal |
| 32 | L-BU | 20 | Stop Lamp Supply Voltage |
| 33 | D-GN/WH | 459 | A/C Compressor Clutch Relay Control |
| 34-36 | - | - | Not Used |
| 37 | D-GN/WH | 465 | Fuel Pump Primary Relay Control |
| 38 | OG/BK | 1786 | Transmission Park/Neutral Signal |
| 39-42 | - | - | Not Used |
| 43 | PU | 1589 | Primary Fuel Level Sensor Signal |
| 44 | GY | 1884 | Cruise Control Set/Coast/Resume/Accelerate Switch Signal |
| 45 | - | - | Not Used |
| 46 | PU | 420 | Torque Converter Clutch Brake Switch Signal |
| 47 | - | - | Not Used |
| 48 | D-GN | 335 | Low Speed Cooling Fan Relay Control |
| 49 | - | - | Not Used |
| 50 | D-BU | 473 | High Speed Cooling Fan Relay Control |
| 51-52 | - | - | Not Used |
| 53 | GY | 2709 | Fuel Tank Pressure Sensor 5-Volt Reference |
| 54-56 | - | - | Not Used |
Powertrain Control Module (PCM) C2 Connector End View
| Connector Part Information |
|
||
|---|---|---|---|
| Pin | Wire Color | Circuit No. | Function |
| 1 | BN | 1456 | Exhaust Gas Recirculation Valve Position Signal |
| 2 | TN | 800 | UART Serial Data 1 |
| 3 | OG/BK | 1061 | UART Serial Data 2 |
| 4 | PK/BK | 1746 | Fuel Injector Control 3 |
| 5 | TN | 1744 | Fuel Injector Control 1 |
| 6 | L-GN/BK | 1745 | Fuel Injector Control 2 |
| 7 | TN/WH | 845 | Fuel Injector Control 5 |
| 8 | TN | 2753 | Exhaust Gas Recirculation Sensor Low Reference |
| 9 | YE/BK | 846 | Fuel Injector Control 6 |
| 10 | L-BU/BK | 844 | Fuel Injector Control 4 |
| 11 | OG/WH | 2122 | IC 2 Control |
| 12 | GY/WH | 3113 | Heated Oxygen Sensor Heater Low Control Bank 1 Sensor 1 |
| 13 | OG | 1676 | Exhaust Gas Recirculation Solenoid Supply Voltage |
| 14 | - | - | Not Used |
| 15 | PU | 574 | Low Reference |
| 16 | GY | 435 | Exhaust Gas Recirculation Solenoid Control |
| 17 | - | - | Not Used |
| 18 | L-GN | 432 | Manifold Absolute Pressure Sensor Signal |
| 19-20 | - | - | Not Used |
| 21 | OG | 631 | Camshaft Sensor 12-Volt Reference |
| 22 | L-GN | 1867 | Crankshaft Position Sensor 12-Volt Reference |
| 23-25 | - | - | Not Used |
| 26 | BN/WH | 633 | Camshaft Position Sensor Signal |
| 27 | L-BU/BK | 647 | Medium Resolution Engine Speed Signal |
| 28-29 | - | - | Not Used |
| 30 | OG/BK | 469 | Manifold Absolute Pressure Sensor Low Reference |
| 31 | - | - | Not Used |
| 32 | PK/BK | 632 | Camshaft Position Sensor Low Reference |
| 33 | GY | 5047 | Exhaust Gas Recirculation 5-Volt Reference |
| 34 | GY | 2704 | 5-Volt Reference |
| 35 | - | - | Not Used |
| 36 | GY | 2303 | Knock Sensor Low Reference 2 |
| 37 | YE | 2174 | Ignition Control Timing Low Reference 1 |
| 38 | D-BU | 496 | Knock Sensor Signal 1 |
| 39 | BK/WH | 1251 | Ground |
| 40 | GY | 1716 | Knock Sensor Low Reference 1 |
| 41 | D-GN/WH | 428 | EVAP Canister Purge Solenoid Control |
| 42-46 | - | - | Not Used |
| 47 | TN/WH | 1653 | HO2S 1 Low Signal |
| 48 | PU/WH | 1665 | HO2S 1 High Signal |
| 49-52 | - | - | Not Used |
| 53 | OG | 225 | Generator Turn On Signal |
| 54 | L-BU | 1876 | Knock Sensor Signal 2 |
| 55 | YE | 410 | Engine Coolant Temperature Sensor Signal |
| 56 | BK/WH | 1351 | Ground |
| 57 | TN/BK | 231 | Oil Pressure Switch Signal |
| 58-60 | - | - | Not Used |
| 61 | PU | 2121 | IC 1 Control |
| 62 | - | - | Not Used |
| 63 | L-BU | 2123 | Ignition Control 3 |
| 64-72 | - | - | Not Used |
| 73 | BK/WH | 451 | Ground |
Powertrain Control Module (PCM) C3 Connector End View
| Connector Part Information |
|
||
|---|---|---|---|
| Pin | Wire Color | Circuit No. | Function |
| 1-3 | - | - | Not Used |
| 4 | TN/WH | 1669 | HO2S 2 Low Signal |
| 5 | - | - | Not Used |
| 6 | YE | 492 | Mass Air Flow Sensor Signal |
| 7 | - | - | Not Used |
| 8 | GY/WH | 3122 | HO2S 2 Heater Low Control |
| 9-18 | - | - | Not Used |
| 19 | PU/WH | 1668 | HO2S 2 High Signal |
| 20-25 | - | - | Not Used |
| 26 | TN | 472 | Intake Air Temperature Sensor Signal |
| 27-49 | - | - | Not Used |
| 50 | TN | 2760 | Intake Air Temperature Sensor Low Reference |
| 51-56 | - | - | Not Used |