lemon-mirror:
Home >> Chevrolet >> 2005 >> Impala LS >> Repair and Diagnosis >> Accessories & Equipment >> Communication Devices >> Computer/Integrating Systems >> Component Locator >> Computer/Integrating Systems Component Views

Computer/Integrating Systems Component Views

Fig 1: Component Views - Behind Left Side Of Instrument Panel
GM514101Courtesy of GENERAL MOTORS CORP.
Callout Component Name
1 Body Control Module (BCM)
2 Body Control Module Connector C3
3 Body Control Module Connector C2
4 Body Control Module Connector C1
5 Headlamp Switch Connector
6 P101
7 Remote Control Door Lock Receiver (RCDLR) Connector
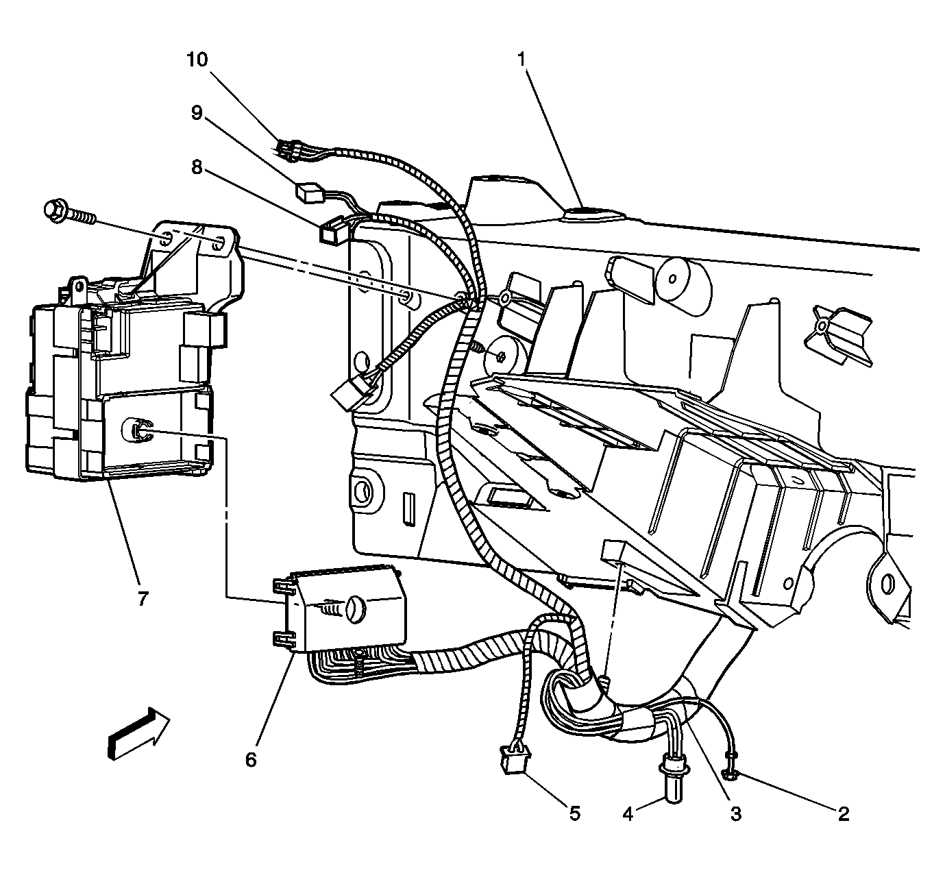
Fig 2: Component Views - Left Side Of Instrument Panel Support
GM743324Courtesy of GENERAL MOTORS CORP.
Callout Component Name
1 Instrument Panel Carrier
2 C205 (Radio Coax)
3 Splice Pack-SP205 (Taped Over)
4 Footwell Courtesy Lamp-Left
5 Rear Compartment Lid Release Switch Connector
6 Junction Block-Left I/P Connector C1
7 Junction Block-Left I/P
8 Traction Control Switch (Impala) Connector
9 Fog Lamp Switch Connector
10 Headlamp Switch Connector
Fig 3: Cruise Control System Components, Lower Center Of Instrument Panel (W/O 9C1/9C3)
GM487935Courtesy of GENERAL MOTORS CORP.
Callout Component Name
1 G203
2 Inflatable Restraint Steering Wheel Module Coil Connector C1
3 Data Link Connector (DLC)
4 C201
5 Stop Lamp Switch Connectors
6 Cruise Control Release Switch Connector
7 Cruise Control Release Switch
8 G201