lemon-mirror:
Home >> Chevrolet >> 2005 >> Impala SS >> Repair and Diagnosis >> Electrical >> Component Locations >> Electrical Component Locator >> Component Location Graphics

Component Location Graphics

NOTE: Figures may show multiple component locations. Refer to appropriate table for proper figure references.
Fig 1: Front Of Vehicle
G00260724Courtesy of GENERAL MOTORS CORP.
Fig 2: Right Front Of Engine Compartment
G00260725Courtesy of GENERAL MOTORS CORP.
Fig 3: Right Side Of Engine Compartment
G00260726Courtesy of GENERAL MOTORS CORP.
Fig 4: Right Side Of Engine Compartment
G00260728Courtesy of GENERAL MOTORS CORP.
Fig 5: Left Center Of Engine Compartment
G00260729Courtesy of GENERAL MOTORS CORP.
Fig 6: Left Rear Of Engine Compartment
G00260730Courtesy of GENERAL MOTORS CORP.
Fig 7: Right Side Of Engine (3.8L VIN K & VIN 1)
G00260731Courtesy of GENERAL MOTORS CORP.
Fig 8: Lower Left Side Of Engine
G00260732Courtesy of GENERAL MOTORS CORP.
Fig 9: Lower Left Front Of Engine
G00260733Courtesy of GENERAL MOTORS CORP.
Fig 10: Left Side Of Dash
G00260734Courtesy of GENERAL MOTORS CORP.
Fig 11: Lower Center Of Dash
G00260736Courtesy of GENERAL MOTORS CORP.
Fig 12: Center Of Dash
G00260737Courtesy of GENERAL MOTORS CORP.
Fig 13: Right Side Of Dash
G00260738Courtesy of GENERAL MOTORS CORP.
Fig 14: Right Side Of Dash
G00260739Courtesy of GENERAL MOTORS CORP.
Fig 15: Left Floor Pan, "B" Pillar & Kick Panel
G00260741Courtesy of GENERAL MOTORS CORP.
Fig 16: Console & Center Floor Pan
G00260742Courtesy of GENERAL MOTORS CORP.
Fig 17: Right Floor Pan & Kick Panel
G00260743Courtesy of GENERAL MOTORS CORP.
Fig 18: Right Lower Corner Of Rear Window
G00260744Courtesy of GENERAL MOTORS CORP.
Fig 19: Rear Compartment, Above Right Wheelwell
G00260747Courtesy of GENERAL MOTORS CORP.
Fig 20: Lower Left Side Of Engine (3.8L VIN K & VIN 1)
G00260748Courtesy of GENERAL MOTORS CORP.
Fig 21: Center Of Dash
G00260749Courtesy of GENERAL MOTORS CORP.
Fig 22: Lower Center Of Dash
G00260750Courtesy of GENERAL MOTORS CORP.
Fig 23: Lower Right Of Dash
G00260751Courtesy of GENERAL MOTORS CORP.
Fig 24: Lower Left Front Of Passenger Compartment
G00260752Courtesy of GENERAL MOTORS CORP.
Fig 25: Left Rear Of Engine Compartment
G00260753Courtesy of GENERAL MOTORS CORP.
Fig 26: Right Front Suspension
G00260754Courtesy of GENERAL MOTORS CORP.
Fig 27: Right Rear Suspension
G00260756Courtesy of GENERAL MOTORS CORP.
Fig 28: Front Of Engine Compartment
G00260757Courtesy of GENERAL MOTORS CORP.
Fig 29: Front Of Engine (3.4L VIN E)
G00260758Courtesy of GENERAL MOTORS CORP.
Fig 30: Upper Right Of Engine (3.8L VIN K)
G00260759Courtesy of GENERAL MOTORS CORP.
Fig 31: Upper Rear Of Engine (3.8L VIN 1)
G00260760Courtesy of GENERAL MOTORS CORP.
Fig 32: Lower Left Front Of Engine (3.4L VIN E)
G00260761Courtesy of GENERAL MOTORS CORP.
Fig 33: Lower Left Front Of Engine (3.8L VIN K & VIN 1)
G00260762Courtesy of GENERAL MOTORS CORP.
Fig 34: Left Front Of Engine Compartment
G00260763Courtesy of GENERAL MOTORS CORP.
Fig 35: Top Left Of Engine (3.4L VIN E)
G00260764Courtesy of GENERAL MOTORS CORP.
Fig 36: Rear Of Engine (3.4L VIN E) (1 Of 2)
G00260765Courtesy of GENERAL MOTORS CORP.
Fig 37: Rear Of Engine (3.4L VIN E) (2 Of 2)
G00260766Courtesy of GENERAL MOTORS CORP.
Fig 38: Upper Right Rear Of Engine (3.4L VIN E)
G00260769Courtesy of GENERAL MOTORS CORP.
Fig 39: Top Middle Of Engine (3.4L VIN E)
G00260770Courtesy of GENERAL MOTORS CORP.
Fig 40: Front Of Intake Manifold (3.4L VIN E)
G00260771Courtesy of GENERAL MOTORS CORP.
Fig 41: Top Of Engine (3.4L VIN E)
G00260772Courtesy of GENERAL MOTORS CORP.
Fig 42: Lower Left Front Of Engine (3.4L VIN E)
G00260773Courtesy of GENERAL MOTORS CORP.
Fig 43: Lower Front Of Engine (3.4L VIN E)
G00260774Courtesy of GENERAL MOTORS CORP.
Fig 44: Rear Of Engine (3.4L VIN E)
G00260775Courtesy of GENERAL MOTORS CORP.
Fig 45: Exhaust (3.4L VIN E)
G00260776Courtesy of GENERAL MOTORS CORP.
Fig 46: Fuel Pump & Sender Assembly
G00260777Courtesy of GENERAL MOTORS CORP.
Fig 47: Left Rear Of Vehicle
G00260778Courtesy of GENERAL MOTORS CORP.
Fig 48: Air Intake & Throttle Body (3.8L VIN K & VIN 1)
G00260779Courtesy of GENERAL MOTORS CORP.
Fig 49: Left Front Of Engine (3.8L VIN K & VIN 1) (1 Of 2)
G00260780Courtesy of GENERAL MOTORS CORP.
Fig 50: Left Front Of Engine (3.8L VIN K & VIN 1) (2 Of 2)
G00260781Courtesy of GENERAL MOTORS CORP.
Fig 51: Left Side Of Engine (3.8L VIN K) (1 Of 2)
G00260782Courtesy of GENERAL MOTORS CORP.
Fig 52: Left Side Of Engine (3.8L VIN K) (2 Of 2)
G00260783Courtesy of GENERAL MOTORS CORP.
Fig 53: Right Side Of Engine (3.8L VIN 1)
G00260784Courtesy of GENERAL MOTORS CORP.
Fig 54: Right Side Of Engine
G00260785Courtesy of GENERAL MOTORS CORP.
Fig 55: Top Right Of Engine (3.8L VIN 1)
G00260786Courtesy of GENERAL MOTORS CORP.
Fig 56: Rear Of Engine (3.8L VIN K & VIN 1)
G00260788Courtesy of GENERAL MOTORS CORP.
Fig 57: Left Side Of Engine (3.8L VIN K & VIN 1)
G00260789Courtesy of GENERAL MOTORS CORP.
Fig 58: Left Side Of Engine (3.4L VIN E)
G00260790Courtesy of GENERAL MOTORS CORP.
Fig 59: Front Of Engine (3.8L VIN K & VIN 1)
G00260791Courtesy of GENERAL MOTORS CORP.
Fig 60: Right Side Of Engine (3.8L VIN K & VIN 1)
G00260794Courtesy of GENERAL MOTORS CORP.
Fig 61: Automatic Transmission Electronic Components (1 Of 2)
G00260796Courtesy of GENERAL MOTORS CORP.
Fig 62: Automatic Transmission Electronic Components (2 Of 2)
G00260797Courtesy of GENERAL MOTORS CORP.
Fig 63: Seat Belt Component Views
G00260800Courtesy of GENERAL MOTORS CORP.
Fig 64: SIR Components (1 Of 2)
G00260801Courtesy of GENERAL MOTORS CORP.
Fig 65: SIR Components (2 Of 2)
G00260802Courtesy of GENERAL MOTORS CORP.
Fig 66: Center Front Of Vehicle
G00260803Courtesy of GENERAL MOTORS CORP.
Fig 67: Steering Wheel
G00260804Courtesy of GENERAL MOTORS CORP.
Fig 68: Left Door
G00260805Courtesy of GENERAL MOTORS CORP.
Fig 69: Steering Wheel (Impala)
G00260808Courtesy of GENERAL MOTORS CORP.
Fig 70: Steering Wheel (Monte Carlo)
G00260809Courtesy of GENERAL MOTORS CORP.
Fig 71: Vehicle Overview
G00260810Courtesy of GENERAL MOTORS CORP.
Fig 72: Left Side Of Package Shelf
G00260811Courtesy of GENERAL MOTORS CORP.
Fig 73: Rear Center Of Roof
G00260815Courtesy of GENERAL MOTORS CORP.
Fig 74: Rear Package Shelf
G00260816Courtesy of GENERAL MOTORS CORP.
Fig 75: Left Side Of Rear Window
G00260817Courtesy of GENERAL MOTORS CORP.
Fig 76: Rear Of Right Rear Wheelwell
G00260818Courtesy of GENERAL MOTORS CORP.
Fig 77: Keyless Entry Components
G00260819Courtesy of GENERAL MOTORS CORP.
Fig 78: Left Center Of Instrument Panel
G00260821Courtesy of GENERAL MOTORS CORP.
Fig 79: Body Control System Components
G00260822Courtesy of GENERAL MOTORS CORP.
Fig 80: Left Side Of Instrument Panel Support
G00260824Courtesy of GENERAL MOTORS CORP.
Fig 81: Left Rear Door
G00260827Courtesy of GENERAL MOTORS CORP.
Fig 82: Front Passenger's Door
G00260828Courtesy of GENERAL MOTORS CORP.
Fig 83: Right Rear Door
G00260829Courtesy of GENERAL MOTORS CORP.
Fig 84: Lower Right Front Of Vehicle
G00260830Courtesy of GENERAL MOTORS CORP.
Fig 85: Front Of Vehicle
G00260831Courtesy of GENERAL MOTORS CORP.
Fig 86: Front Of Engine
G00260836Courtesy of GENERAL MOTORS CORP.
Fig 87: Driver Information Center
G00260837Courtesy of GENERAL MOTORS CORP.
Fig 88: Forward Of Radiator Support
G00260838Courtesy of GENERAL MOTORS CORP.
Fig 89: Top Of Dash
G00260839Courtesy of GENERAL MOTORS CORP.
Fig 90: Sunroof System
G00260842Courtesy of GENERAL MOTORS CORP.
Fig 91: Heated/Power Seat Components
G00260844Courtesy of GENERAL MOTORS CORP.
Fig 92: Left Side Of Rear Window
G00260845Courtesy of GENERAL MOTORS CORP.
Fig 93: Right Front Of Vehicle
G00260846Courtesy of GENERAL MOTORS CORP.
Fig 94: Right Front Of Rear Compartment
G00260840Courtesy of GENERAL MOTORS CORP.
Fig 95: Upper Right Front Of Rear Compartment
G00260841Courtesy of GENERAL MOTORS CORP.
Fig 96: Underhood Junction Block-Top
G00258487Courtesy of GENERAL MOTORS CORP.
Fig 97: Underhood Junction Block-Bottom
G00258488Courtesy of GENERAL MOTORS CORP.
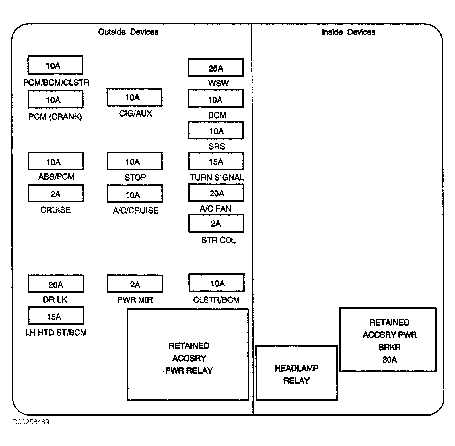
Fig 98: Instrument Panel Junction Block-Left
G00258489Courtesy of GENERAL MOTORS CORP.
Fig 99: Instrument Panel Junction Block-Right
G00258490Courtesy of GENERAL MOTORS CORP.
Fig 100: Lower Center Of Instrument Panel
G00260735Courtesy of GENERAL MOTORS CORP.