lemon-mirror:
Home >> Chevrolet >> 2005 >> SSR Automatic >> Repair and Diagnosis >> Engine Performance >> System >> Engine Control System - 6.0L - Introduction >> Description and Operation >> Fuel System Description >> Fuel Rail Assembly

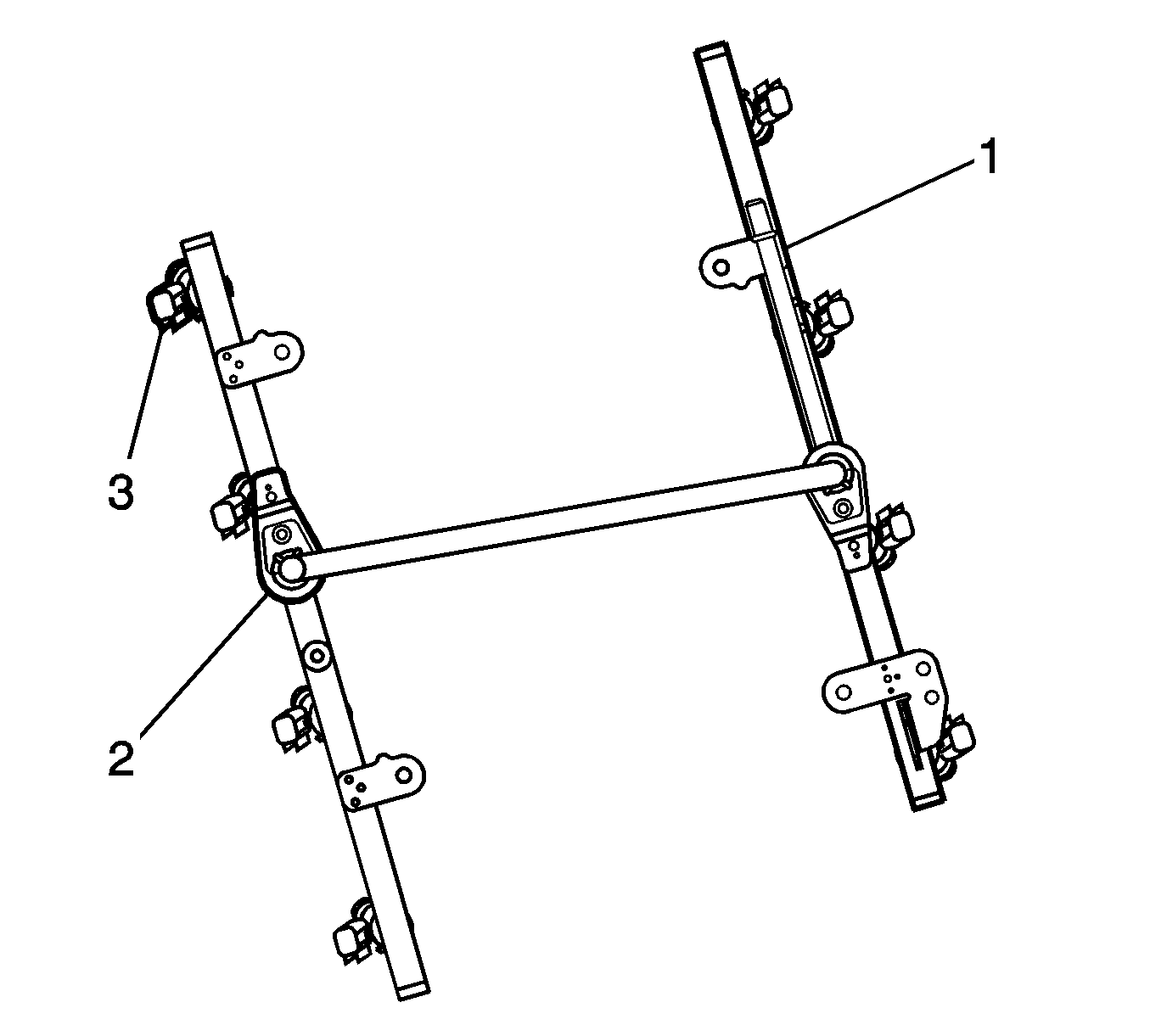
Fuel Rail Assembly

Fig 1: View Of Fuel Rail Assembly
GM1542826Courtesy of GENERAL MOTORS CORP.

The fuel rail assembly attaches to the engine intake manifold. The fuel rail assembly performs the following functions: