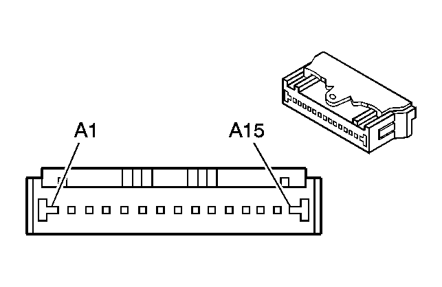
Keyless Entry Connector End Views
Body Control Module (A) (PE4)
| Connector Part Information |
|
||
|---|---|---|---|
| Pin | Wire Color | Circuit No. | Function |
| A1-A2 | - | - | Not Used |
| A3 | OG/BK | 164 | Power Window Switch Driver Up Signal |
| A4 | PK/BK | 1303 | Rear Compartment Lid Ajar Switch Signal |
| A5 | L-BU | 195 | Door Unlock Control |
| A6 | L-BU/WH | 194 | Door Lock Control |
| A7 | D-GN/BK | 2905 | Serial Data |
| A8 | BN | 126 | Left Front Door Open Switch Signal |
| A9 | WH | 156 | Courtesy Lamp Control |
| A10 | D-BU/WH | 65 | Power Window Switch Drivers Express Down Signal |
| A11 | BN | 41 | Ignition 2 Voltage |
| A12 | D-BU | 165 | Driver Window Switch Driver Down Signal |
| A13 | PK/D-BU | 638 | Power Window Motor Driver Down Control |
| A14 | - | - | Not Used |
| A15 | PK/BK | 109 | Hood Ajar Switch Signal |
Body Control Module (B) (PE3)
| Connector Part Information |
|
||
|---|---|---|---|
| Pin | Wire Color | Circuit No. | Function |
| B1 | GY | 191 | Windshield Wiper Switch Pulse Delay Signal |
| B2 | BN/WH | 1434 | Immobilizer Signal |
| B3 | L-GN | 1435 | Immobilizer Signal |
| B4-B7 | - | - | Not Used |
| B8 | BN/WH | 309 | Right Pack Lamp Supply Voltage (North America) |
| WH | 3080 | Battery Saver Light 1 (Except North America) | |
| B9 | - | - | Not Used |
| B10 | WH | 4080 | Tail Relay (Except North America) |
| 1080 | Light 1 Signal | ||
| B11 | D-GN/WH | 900 | Key Cylinder Lamp Control |
| B12 | D-GN/WH | 817 | Vehicle Speed Signal (2.0L) (Except North America) |
| B13 | D-BU/WH | 1315 | Right Front Turn Signal Lamp |
| B14 | L-BU/WH | 1314 | Left Front Turn Supply Voltage |
| B15 | BN/WH | 193 | Rear Defog Relay Control |
| B16-B17 | - | - | Not Used |
| B18 | PU | 1697 | Turn/Hazard Module Signal |
| B19 | D-GN | 905 | Serial Data |
| B20 | YE/BK | 749 | Security Indicator Control |
| B21 | - | - | Not Used |
| B22 | YE/BK | 1436 | Immobilizer Signal |
| B23 | L-GN | 80 | Key Ignition Switch Signal |
| B24 | - | - | Not Used |
| B25 | RD | 228 | Windshield Washer Pump Control |
| B26 | BK/WH | 351 | Immobilizer Signal |
| B27 | BN/WH | 238 | Seat Belt Switch Left |
| B28 | BN/WH | 96 | Windshield Wiper Switch Pulse Delay Signal |
| B29 | - | - | Not Used |
| B30 | L-BU | 263 | Rear Compartment Lid Ajar Switch Signal |
Body Control Module (C) (PP2)
| Connector Part Information |
|
||
|---|---|---|---|
| Pin | Wire Color | Circuit No. | Function |
| C1 | BN/WH | 96 | Windshield Wiper Switch Pulse Delay Signal |
| C2 | D-BU | 107 | Interior Lamps Control |
| C3 | L-BU | 97 | Windshield Wiper Switch MIST/OFF/LOW Signal |
| C4 | D-BU | 15 | Right Turn Signal Lamp Supply Voltage |
| C5 | - | - | Not Used |
| C6 | D-BU/WH | 1165 | Power Window Switch Drivers Express Up Signal |
| C7 | - | - | Not Used |
| C8 | L- BU | 14 | Left Turn Signal Lamp Supply Voltage |
| C9 | - | - | Not Used |
| C10 | OG/WH | 1164 | Power Window Switch Drivers Express Down Signal |
| C11 | BN | 253 | Trunk Release Relay Control |
| C12 | YE | 261 | Siren Control |
Body Control Module (D) (PP1)
| Connector Part Information |
|
||
|---|---|---|---|
| Pin | Wire Color | Circuit No. | Function |
| D1 | BK | 450 | Ground |
| D2 | - | - | Not Used |
| D3 | PK | 339 | Ignition 1 Voltage |
| D4 | BK | 450 | Ground |
| D5 | BN | 294 | Door Lock Actuator Unlock Control |
| D6 | GY | 295 | Door Lock Actuator Lock Control |
| D7 | PU | 1293 | Rear Defog Element Supply Voltage |
| D8 | PU | 293 | Rear Defog Element Supply Voltage |
Body Control Module (E) (PP5)
| Connector Part Information |
|
||
|---|---|---|---|
| Pin | Wire Color | Circuit No. | Function |
| E1 | RD | 142 | Battery Positive Voltage |