lemon-mirror:
Home >> Chevrolet >> 2006 >> Optra LS, Automatic >> Repair and Diagnosis >> Engine Performance >> System >> Engine Controls - 1.4L DOHC >> Component Locator >> Engine Controls Connector End Views

Engine Controls Connector End Views

Camshaft Position (CMP) Sensor

GM1467004Courtesy of GENERAL MOTORS CORP.
Connector Part Information
  • AMP 85205-1
  • 3-Way F JR Power Timer 3P Hsg Ass'y (BK)
Pin Wire Color Circuit No. Function
1 PK/BK 1846 Ignition 1 Voltage
2 L-GN 632 Low Reference
3 BN/WH 633 Camshaft Position (CMP) Sensor Signal
Crankshaft Position Sensor (CKP) Sensor

GM1467004Courtesy of GENERAL MOTORS CORP.
Connector Part Information
  • AMP 85205-1
  • 3-Way F JR Power Timer 3P Hsg Ass'y (BK)
Pin Wire Color Circuit No. Function
1 YE/BK 1868 Low Reference
2 D-BU/WH 1869 Crankshaft Position (CKP) Sensor Signal
3 BK/WH 51 Ground
Engine Coolant Temperature (ECT) Sensor

GM62426Courtesy of GENERAL MOTORS CORP.
Connector Part Information
  • PED 12040753
  • 2-Way F Metri-Pack 150 Series, Sealed, Pull To Seat (BK)
Pin Wire Color Circuit No. Function
1 YE 410 Engine Coolant Temperature (ECT) Sensor Signal
2 BK/YE 808 Low Reference
Evaporative Emissions (EVAP) Canister Purge Solenoid Valve

GM1467003Courtesy of GENERAL MOTORS CORP.
Connector Part Information
  • AMP 85202-1
  • 2-Way F JR Power Timer 2P Hsg Ass'y (BK)
Pin Wire Color Circuit No. Function
1 PK/BK 1846 Ignition 1 Voltage
2 D-GN/WH 428 EVAP Canister Purge Solenoid Control
Exhaust Gas Recirculation (EGR) Valve (ECE 83 Emissions)

GM1466982Courtesy of GENERAL MOTORS CORP.
Connector Part Information
  • AMP 368530
  • 2-Way M Econoseal J Mark II + Connector Plug Housing (BK)
Pin Wire Color Circuit No. Function
1 GY 435 Exhaust Gas Recirculation (EGR) Solenoid Control
2 PK 139 Ignition 1 Voltage
Exhaust Gas Recirculation (EGR) Valve (Euro Emissions)

GM1466981Courtesy of GENERAL MOTORS CORP.
Connector Part Information
  • AMP 368530-1
  • 6-Way F Econoseal J-Mark II + 6P (BK)
Pin Wire Color Circuit No. Function
1 GY 416 5-Volt Reference Voltage
2 BK/YE 808 Sensor Ground
3 BN 1456 Exhaust Gas Recirculation (EGR) Signal
4 PK 139 Ignition 1 Voltage
5 - - Not Used
6 GY 435 Exhaust Gas Recirculation (EGR) Solenoid Low Control
Fuel Injector 1

GM1467003Courtesy of GENERAL MOTORS CORP.
Connector Part Information
  • AMP 85202-1
  • 2-Way F JR Power Timer 2P Hsg Ass'y (BK)
Pin Wire Color Circuit No. Function
1 PK 139 Ignition 1 Voltage
2 BK 1744 Fuel Injector 1 Control
Fuel Injector 2

GM1467003Courtesy of GENERAL MOTORS CORP.
Connector Part Information
  • AMP 85202-1
  • 2-Way F JR Power Timer 2P Hsg Ass'y (BK)
Pin Wire Color Circuit No. Function
1 PK 139 Ignition 1 Voltage
2 L-GN/BK 1745 Fuel Injector 2 Control
Fuel Injector 3

GM1467003Courtesy of GENERAL MOTORS CORP.
Connector Part Information
  • AMP 85202-1
  • 2-Way F JR Power Timer 2P Hsg Ass'y (BK)
Pin Wire Color Circuit No. Function
1 PK 139 Ignition 1 Voltage
2 PK/BK 1746 Fuel Injector 3 Control
Fuel Injector 4

GM1467003Courtesy of GENERAL MOTORS CORP.
Connector Part Information
  • AMP 85202-1
  • 2-Way F JR Power Timer 2P Hsg Ass'y (BK)
Pin Wire Color Circuit No. Function
1 PK 139 Ignition 1 Voltage
2 L-BU/BK 844 Fuel Injector 4 Control
Fuel Pump/Sender

GM1468528Courtesy of GENERAL MOTORS CORP.
Connector Part Information
  • AMP 936039
  • 6-Way F Fuel Pump 6POS Conn'r Ass'y (BN)
Pin Wire Color Circuit No. Function
1 D-BU 1936 Fuel Level Sensor Signal
2 BK 1250 Ground
3 GY 120 Fuel Pump Supply Voltage
4 BK 1250 Ground
5 PU 172 Low Fuel Indicator Control
6 PU/BK 632 Low Reference
Heated Oxygen Sensor (HO2S) 1

GM1466979Courtesy of GENERAL MOTORS CORP.
Connector Part Information
  • AMP 174257-2
  • 4-Way M 070 Series Econoseal J MK-2 Plug Ass'y 4P (BK)
Pin Wire Color Circuit No. Function
1 PU/WH 1665 Heated Oxygen Sensor (HO2S) 1 Low Reference
2 PK/BK 1846 Ignition 1 Voltage
3 OG/BK 469 Heated Oxygen Sensor (HO2S) 1 Heater Control
4 BN/WH 1666 Heated Oxygen Sensor (HO2S) 1 Signal
Heated Oxygen Sensor (HO2S) 2

GM1466979Courtesy of GENERAL MOTORS CORP.
Connector Part Information
  • AMP 174257-2
  • 4-Way M 070 Series Econoseal J MK-2 Plug Ass'y 4P (BK)
Pin Wire Color Circuit No. Function
1 PU 1670 Heated Oxygen Sensor (HO2S) 2 Low Reference
2 PK/BK 1846 Ignition 1 Voltage
3 L-GN 413 Heated Oxygen Sensor (HO2S) 2 Heater Control
4 BN/BK 1671 Heated Oxygen Sensor (HO2S) 2 Signal
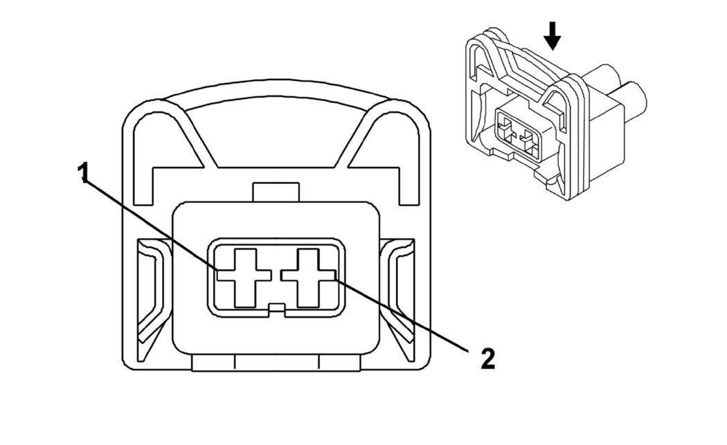
Ignition Coil Module (1 and 4)

GM1467100Courtesy of GENERAL MOTORS CORP.
Connector Part Information
  • KET MG 641789-4
  • 2-Way F 090-II WP Series
Pin Wire Color Circuit No. Function
1 OG 406 Ignition Coil Control (1 and 4)
2 PK 739 Ignition 1 Voltage
Ignition Coil Module (2 and 3)

GM1467099Courtesy of GENERAL MOTORS CORP.
Connector Part Information
  • KET MG 641637-5
  • 2-Way F 090-II WP Series (BK)
Pin Wire Color Circuit No. Function
1 WH 423 Ignition Coil Control (2 and 3)
2 PK 739 Ignition 1 Voltage
Intake Air Temperature (IAT) Sensor

GM1467003Courtesy of GENERAL MOTORS CORP.
Connector Part Information
  • AMP 85202-1
  • 2-Way F JR Power Timer 2P Hsg Ass'y (BK)
Pin Wire Color Circuit No. Function
1 BN 472 Intake Air Temperature (IAT) Sensor Signal
2 OG/BK 469 Low Reference
Intake Manifold Tuning Valve

GM1466982Courtesy of GENERAL MOTORS CORP.
Connector Part Information
  • AMP 174352-2
  • 2-Way M Econoseal J Mark II + Connector Plug Housing (BK)
Pin Wire Color Circuit No. Function
1 WH/BK 962 Intake Manifold Tuning Valve Solenoid Control
2 PK/BU 539 Ignition 1 Voltage
Knock Sensor (KS)

GM1466993Courtesy of GENERAL MOTORS CORP.
Connector Part Information
  • AMP 368215-1
  • 3-Way F JPT 3P Ass'y for Knock Sensor (GY)
Pin Wire Color Circuit No. Function
1 YE/BK 496 Knock Sensor (KS) Signal
2 D-BU/WH 1876 Low Reference
3 BK/WH 51 Ground
Manifold Absolute Pressure (MAP) Sensor

GM684840Courtesy of GENERAL MOTORS CORP.
Connector Part Information
  • PED 12129946
  • 3-Way F Metri-Pack 150 Series Sealed (GY)
Pin Wire Color Circuit No. Function
A OG/BK 469 Low Reference
B L-GN 432 Manifold Absolute Pressure (MAP) Sensor Signal
C L-BU/BK 1688 5-Volt Reference
Octane Selection Switch

GM1467076Courtesy of GENERAL MOTORS CORP.
Connector Part Information
  • KET MG 640329
  • 3-Way M SWP Series (BK)
Pin Wire Color Circuit No. Function
1 PU 773 Octane Switch Signal
2 BK/WH 251 Ground
3 L-BU 772 Octane Switch Signal
Oxygen (O2) Sensor

GM1466982Courtesy of GENERAL MOTORS CORP.
Connector Part Information
  • AMP 174352-2
  • 2-Way M Econoseal J Mark II + Connector Plug Housing (BK)
Pin Wire Color Circuit No. Function
1 PU/WH 1665 Oxygen (O2) Sensor Signal
2 OG/BK 469 Low Reference
Rough Road Sensor

GM537107Courtesy of GENERAL MOTORS CORP.
Connector Part Information
  • Bosch 2264-420424
  • 2-Way F Metri-Pack 150 Series, Sealed (GY)
Pin Wire Color Circuit No. Function
A WH 873 Rough Road Sensor Signal
B OG 830 5-Volt Reference
Throttle Body

GM1466987Courtesy of GENERAL MOTORS CORP.
Connector Part Information
  • AMP 174982-2
  • 8-Way F 070 Series Econoseal J-Mark II + 8P (BK)
Pin Wire Color Circuit No. Function
1 D-BU 426 Idle Motor Return
2 GY 416 5-Volt Reference
3 - - Not Used
4 D-GN 534 High Idle Switch Signal
5 L-BU 425 Idle Motor Feed
6 PK 427 Idle Speed Motor Switch Signal
7 D-BU 417 Throttle Position (TP) Sensor Signal
8 BK/YE 808 Low Reference