lemon-mirror:
Home >> Chevrolet >> 2006 >> SSR Automatic >> Repair and Diagnosis >> Accessories & Equipment >> Communication Devices >> Computer/Integrating Systems >> Repair Instructions >> Body Control Module Replacement >> Removal Procedure

Removal Procedure

    IMPORTANT:
    • The ignition switch should be in the OFF position when connecting or disconnecting the connectors to the body control module (BCM).
    • Always disconnect the gray connector FIRST, the white connector SECOND, the black connector THIRD, the blue connector FORTH, and the brown electrical connector LAST.
    • Always connect the brown electrical connector FIRST, the blue connector SECOND, the black connector THIRD, the white connector FORTH, and the gray connector LAST.
    • Do not open the BCM housing. The module does not have any serviceable components. The module may be replaced only as an assembly.
  1. Open the convertible top.
  2. CAUTION: Refer to Battery Disconnect Caution in Cautions and Notices.
  3. Disconnect the negative battery cable. Refer to Battery Negative Cable Disconnect/Connect Procedure in Engine Electrical.
  4. Remove the rear upper garnish molding. Refer to Garnish Molding Replacement - Rear Upper in Interior Trim.
  5. Loosen and move the floor console forward to reveal the BCM electrical connectors. Refer to Console Replacement in Instrument Panel, Gages, and Console.
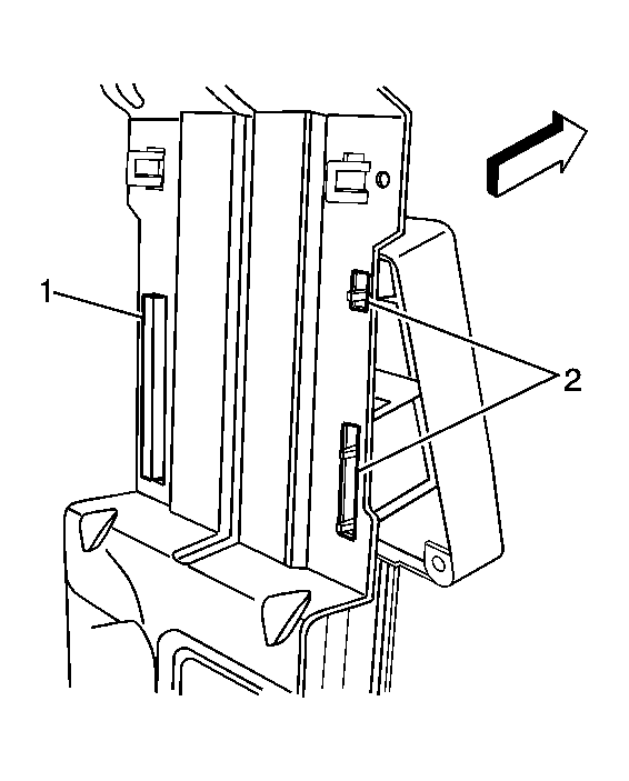
  6. Fig 1: Identifying BCM Mounting Bracket to Console Bracket Tabs
    GM1362270Courtesy of GENERAL MOTORS CORP.
  7. Release the tabs (2) retaining the BCM mounting bracket to the console bracket.
  8. Release the tab (1) retaining the BCM mounting bracket to the console bracket.
  9. Fig 2: Identifying Console Bracket
    GM1362262Courtesy of GENERAL MOTORS CORP.
  10. Remove the BCM and bracket assembly from the console bracket (1).
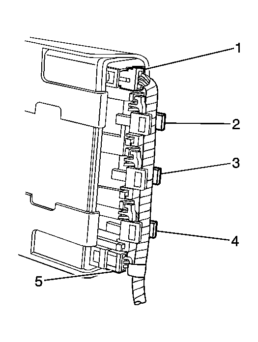
  11. Fig 3: Identifying Colored BCM Connectors
    GM1362258Courtesy of GENERAL MOTORS CORP.
  12. Disconnect the gray connector (2) from the BCM.
  13. Disconnect the white connector (1) from the BCM.
  14. Disconnect the black connector (5) from the BCM.
  15. Disconnect the blue connector (4) from the BCM.
  16. Disconnect the brown connector (3) from the BCM.
  17. Fig 4: Identifying Mounting Bracket to BCM Tabs
    GM1362266Courtesy of GENERAL MOTORS CORP.
  18. Remove the BCM from the vehicle.
  19. If replacing the BCM, release the retaining tabs (1) and remove the mounting bracket from the BCM.