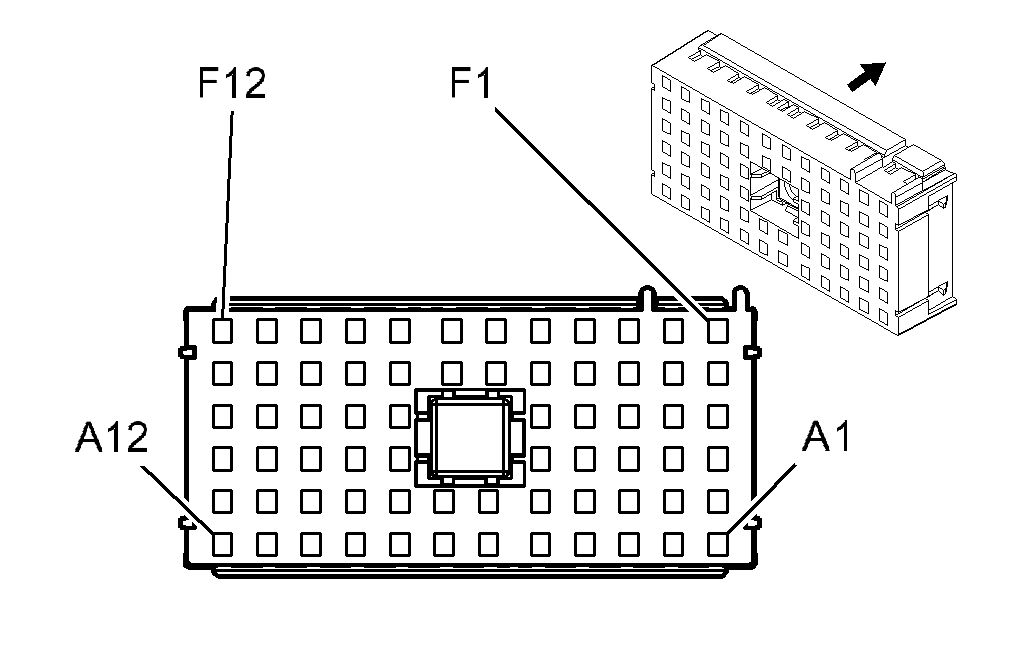
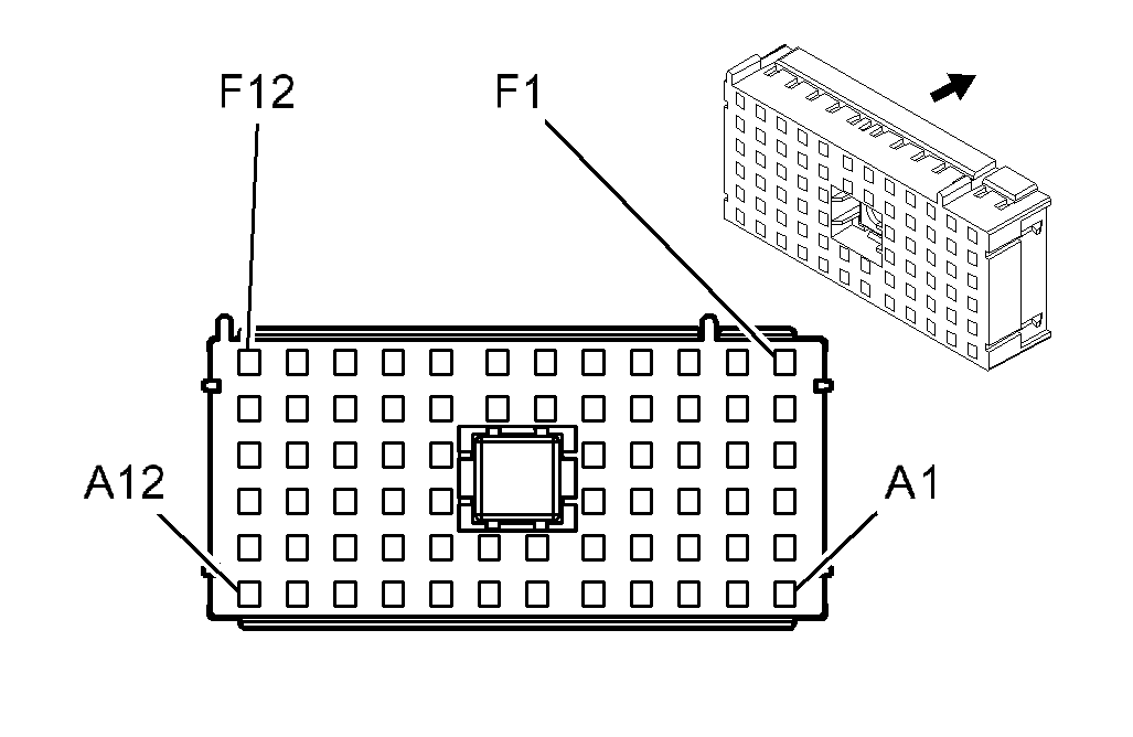
Fuse Block - Rear, Bottom View: Notes
Fuse Block - Rear C1
| Connector Part Information |
|
||
|---|---|---|---|
| Pin | Wire Color | Circuit No. | Function |
| A1 | - | - | Not Used |
| A2 | BN/WH | 230 | Instrument Panel Lamp Dimming Control |
| A3 | - | - | Not Used |
| A4 | L-GN | 24 | Backup Lamp Supply Voltage (DF4) |
| L-GN | 24 | Backup Lamp Supply Voltage (DF4) | |
| A5 | L-GN | 1391 | Driver Door Unlock Relay Control |
| A6 | BN | 4 | Accessory Voltage |
| A7 | YE | 143 | Accessory Voltage |
| A8 | BN | 341 | Ignition 3 Voltage |
| BN | 341 | Ignition 3 Voltage | |
| A9 | PK | 1020 | Ignition 0 Voltage |
| A10-A11 | - | - | Not Used |
| A12 | OG | 1732 | Inadvertent Courtesy Lamps Supply Voltage |
| OG | 1732 | Inadvertent Courtesy Lamps Supply Voltage | |
| B1-B3 | - | - | Not Used |
| B4 | WH | 17 | Stop Lamp Switch Signal |
| B5 | L-BU | 1320 | CHMSL Supply Voltage |
| B6-B7 | - | - | Not Used |
| B8 | BN | 341 | Ignition 3 Voltage |
| BN | 341 | Ignition 3 Voltage | |
| B9-B12 | - | - | Not Used |
| C1 | OG | 4340 | Battery Positive Voltage |
| C2 | - | - | Not Used |
| C3 | BN | 2309 | Front Park Lamps Supply Voltage |
| C4 | L-BU | 2114 | Left Turn Signal Lamps Supply Voltage |
| L-BU | 2114 | Left Turn Signal Lamps Supply Voltage | |
| C5 | YE | 685 | Left Turn Signal Lamps Supply Voltage |
| C6,C7 | - | - | Not Used |
| C8 | BN | 341 | Ignition 3 Voltage |
| C9-C12 | - | - | Not Used |
| D1 | OG | 340 | Battery Positive Voltage |
| D2 | - | - | Not Used |
| D3 | BN | 2109 | Trailer Park Lamp Supply Voltage |
| D4 | D-BU | 2115 | Right Turn Signal Lamps Supply Voltage |
| D-BU | 2115 | Right Turn Signal Lamps Supply Voltage | |
| D5 | TN | 686 | Right Turn Signal Lamps Supply Voltage |
| D6,D7,D8 | - | - | Not Used |
| D9 | OG | 300 | Ignition 3 Voltage |
| D10 | TN | 294 | Door Lock Actuator Unlock Control |
| D11-D12 | - | - | Not Used |
| E1-E5 | - | - | Not Used |
| E6 | WH | 1390 | Off/Run/Crank Voltage |
| E7 | PK | 1020 | Ignition 0 Voltage |
| E8-E9 | - | - | Not Used |
| E10 | D-BU/WH | 2218 | Class 2 Serial Data |
| E11 | - | - | Not Used |
| E12 | PK | 639 | Ignition 1 Voltage |
| F1 | - | - | Not Used |
| F2 | L-BU | 292 | Rear Defog Switch Signal |
| F3 | OG | 1040 | Battery Positive Voltage |
| OG | 1040 | Battery Positive Voltage | |
| F4 | PK | 1020 | Ignition 0 Voltage |
| F5-F7 | - | - | Not Used |
| F8 | BN | 441 | Ignition 3 Voltage |
| F9-F12 | - | - | Not Used |
Fuse Block - Rear C2
| Connector Part Information |
|
||
|---|---|---|---|
| Pin | Wire Color | Circuit No. | Function |
| A1 | OG | 3640 | Battery Positive Voltage |
| A2 | - | - | Not Used |
| A3 | OG | 1340 | Battery Positive Voltage |
| A4-A5 | - | - | Not Used |
| A6 | OG | 2740 | Battery Positive Voltage |
| A7 | - | - | Not Used |
| A8 | OG | 1240 | Battery Positive Voltage |
| A9 | PU | 359 | DRL Supply Voltage |
| A10-A11 | - | - | Not Used |
| A12 | BK/WH | 746 | Right Front Door Ajar Switch Signal |
| BK/WH | 746 | Right Front Door Ajar Switch Signal | |
| B1 | OG | 267 | Heated Mirror/Rear Defog Relay Coil Supply Voltage |
| B2-B12 | - | - | Not Used |
| C1 | OG | 3540 | Battery Positive Voltage |
| C2-C7 | - | - | Not Used |
| C8-C9 | - | - | Not Used |
| C10 | OG | 4140 | Battery Positive Voltage |
| OG | 4140 | Battery Positive Voltage | |
| C11-C12 | - | - | Not Used |
| D1 | OG | 3540 | Battery Positive Voltage |
| D2 | BN | 2509 | Left Rear Park Lamps Supply Voltage |
| BN | 2509 | Left Rear Park Lamps Supply Voltage | |
| D3-D4D6,D7 | - | - | Not Used |
| D5 | OG | 3740 | Battery Positive Voltage (Uplevel) |
| D8 | TN | 294 | Door Lock Actuator Unlock Control |
| D9-D11 | - | - | Not Used |
| D12 | BK | 1576 | Rear Compartment Lid Release Switch Signal |
| E1 | OG | 840 | Battery Positive Voltage |
| E2 | BN | 2509 | Left Rear Park Lamps Supply Voltage |
| E3-E5 | - | - | Not Used |
| E6 | L-GN | 1391 | Driver Door Unlock Relay Control |
| E7-E8 | - | - | Not Used |
| E9 | L-GN/BK | 592 | DRL Relay Control |
| E10-E11 | - | - | Not Used |
| E12 | BN | 253 | Rear Compartment Lid Release Relay Control |
| F1 | YE | 820 | CHMSL Supply Voltage |
| F2 | BN/WH | 2609 | Right Rear Park Lamps Supply Voltage |
| BN/WH | 2609 | Right Rear Park Lamps Supply Voltage | |
| F3-F5 | - | - | Not Used |
| F6 | GY | 295 | Door Lock Actuator Lock Control |
| GY | 295 | Door Lock Actuator Lock Control | |
| F7 | - | - | Not Used |
| F8 | BK | 1450 | Ground |
| F9 | - | - | Not Used |
| F10 | GY | 1698 | Antenna Select Supply Voltage |
| F11 | - | - | Not Used |
| F12 | PU | 359 | DRL Supply Voltage |
Fuse Block - Rear C3
| Connector Part Information |
|
||
|---|---|---|---|
| Pin | Wire Color | Circuit No. | Function |
| A1-A6 | - | - | Not Used |
| B1-B5 | - | - | Not Used |
| B6 | GY/BK | 690 | Courtesy Lamp Supply Voltage |
| C1-C4 | - | - | Not Used |
| C5-C6 | - | - | Not Used |
| D1-D4 | - | - | Not Used |
| D5 | - | - | Not Used |
| D6 | L-GN | 24 | Backup Lamp Supply Voltage (DJ2) |
| E1 | OG | 3140 | Battery Positive Voltage |
| E2 | PK | 639 | Ignition 1 Voltage |
| E3 | - | - | Not Used |
| E4 | OG | 1840 | Battery Positive Voltage |
| E5 | - | - | Not Used |
| E6 | D-BU/WH | 2218 | Class 2 Serial Data |
| F1 | YE | 243 | Accessory Voltage |
| F2 | - | - | Not Used |
| F3 | PK | 1020 | Ignition 0 Voltage |
| F4 | TN | 294 | Door Lock Actuator Unlock Control |
| F5 | - | - | Not Used |
| F6 | OG | 1732 | Inadvertent Courtesy Lamps Supply Voltage |
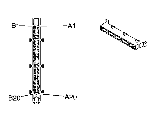
Fuse Block - Rear C4
| Connector Part Information |
|
||
|---|---|---|---|
| Pin | Wire Color | Circuit No. | Function |
| A1 | OG | 2140 | Battery Positive Voltage |
| A2 | - | - | Not Used |
| A3 | BK/WH | 746 | Right Front Door Ajar Switch Signal |
| A4 | - | - | Not Used |
| A5 | GY/BK | 255 | Power Door Lock Fuse Supply Voltage |
| A6-A7 | - | - | Not Used |
| A8 | GY | 1698 | Antenna Select Supply Voltage |
| A9-A12 | - | - | Not Used |
| A13 | TN/BK | 254 | Power Door Unlock Fuse Supply Voltage |
| A14 | WH | 1080 | Park Lamp Relay Control |
| A15-A17 | - | - | Not Used |
| A18 | PK | 1390 | Ignition O Voltage |
| A19-A20 | - | - | Not Used |
| B1 | BN/WH | 230 | Instrument Panel Lamps Dimming Control |
| B2 | BN/WH | 230 | Instrument Panel Lamps Dimming Control |
| B3 | GY/BK | 690 | Courtesy Lamp Supply Voltage |
| B4 | OG | 2240 | Battery Positive Voltage |
| B5 | BN | 253 | Rear Compartment Lid Release Relay Control |
| B6 | BK | 1576 | Rear Compartment Lid Release Switch |
| B7 | PU | 359 | DRL Supply Voltage |
| B8 | PU | 359 | DRL Supply Voltage |
| B9 | L-GN/BK | 592 | DRL Relay Control |
| B10-B11 | - | - | Not Used |
| B12 | L-GN | 24 | Backup Lamp Supply Voltage (DF4) |
| B13 | OG | 4440 | Battery Positive Voltage |
| B14 | - | - | Not Used |
| B15 | YE | 343 | Accessory Voltage |
| B16 | - | - | Not Used |
| B17 | OG | 4040 | Battery Positive Voltage |
| B18 | OG | 1732 | Inadvertent Courtesy Lamps Supply Voltage |
| B19-B20 | - | - | Not Used |