lemon-mirror:
Home >> Chevrolet >> 2006 >> Uplander Base >> Repair and Diagnosis >> External Pages >> Different car >> Section 5 (Computer/Integrating Systems) >> Component Locator >> Computer/Integrating Systems Connector End Views

Computer/Integrating Systems Connector End Views

WARNING: This page is about a different car, the 2005 Buick LaCrosse and 2005 Buick Allure. However, it is still accessible from the selected car via links, so may be relevant.
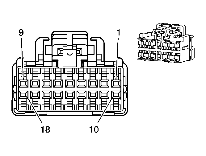
Body Control Module (BCM) C1

GM1243543Courtesy of GENERAL MOTORS CORP.
Connector Part Information
  • OEM: 15448125 (Delphi)

    638277-3 (AMP)

  • Service: See Catalog
  • 52-Way F (BK)
Pin Wire Color Circuit No. Function
1 BK 860 Front Windshield Wiper Switch High Signal
2 WH 1459 Security System Sensor Supply Voltage
3 PK 1439 Ignition 1 Voltage
4 BK 28 Horn Relay Control
5 - - Not Used
6 BK 707 RAP Relay Control
7 BK/WH 1969 Headlamp High Beam Relay Control
8 D-GN/WH 1317 Fog Lamp Relay Control (T96)
9 PK/WH 1970 Headlamp Module Voltage Supply
10 WH 1080 Park Lamp Relay Control
11 YE 749 Security Indicator Control
12 GY 91 Wiper Relay Control
13 YE 196 Windshield Wiper Motor Park Switch Signal
14 BK 1835 Security System Sensor Low Reference
15 L-GN/BK 1137 DRL Ambient Light Sensor Signal
16 L-GN 526 Stop Lamp Switch Signal
17 BK 1550 Ground
18 - - Not Used
19 BK/WH 151 Ground
20 BK 1650 Ground
21 YE 5 Crank Voltage
22 PK 1239 Ignition 1 Voltage
23 BN 1141 Ignition 3 Voltage
24 TN 185 Low Washer Fluid Indicator Signal
25 WH/BK 644 12-Volt Reference
26 PK/BK 109 Hood Ajar Switch Signal (AP3)
27 GY 598 10-Volt Reference
28 BK 552 Low Reference
29 BN/WH 230 I/P Dimming Return
30 PK 1444 I/P Dimming Control
31 RD/WH 812 I/P Dimming Voltage Reference
32 BK 1576 Rear Compartment Lid Release Switch
33 BN 5077 Low Reference
34 BN/WH 1571 Traction Control Switch Signal (U68, UH8)
35 GY/BK 1598 I/P Dimming Return
36 PK/BK 1597 Courtesy Lamps Switch On Signal
37 BK/WH 1455 Keyless Entry Program Enable Signal
38 L-GN 1037 BCM Class 2 Serial Data
39 WH 17 Stop Lamp Switch Signal
40 L-GN 80 Key In Ignition Switch Signal
41 L-BU/WH 1314 Left Front Turn Signal Lamp Supply Voltage
42 D-BU/WH 1315 Right Front Turn Signal Lamp Supply Voltage
43 GY/BK 690 Courtesy Lamp Supply Voltage
44 OG 1732 Inadvertent Power Courtesy Lamp
45 - - Not Used
46 OG 340 Battery Positive Voltage
47 RD 228 Windshield Washer Pump Control
48 GY 8 Instrument Panel Lamp Supply Voltage
49 D-GN/WH 1135 A/T Shift Lock Control Solenoid Supply Voltage
50 OG 240 Battery Positive Voltage
51 OG 2440 Battery Positive Voltage
52 OG 1240 Battery Positive Voltage
Body Control Module (BCM) C2

GM1243543Courtesy of GENERAL MOTORS CORP.
Connector Part Information
  • OEM: 15444637 (Delphi)

    638277-1 (AMP)

  • Service: See Catalog
  • 52-Way F (BK)
Pin Wire Color Circuit No. Function
1 - - Not Used
2 RD/BK 780 Driver Door Lock Switch Lock Signal
3 RD/BK 744 Rear Compartment Lid Ajar Switch
4 D-BU 245 Passenger Door Lock Switch Unlock Control
5 L-GN/BK 748 Right Rear Door Ajar Switch Signal
6 YE/BK 1181 Right Rear Door Open Switch Signal
7 L-BU/BK 747 Left Rear Door Ajar Switch Signal
8 L-GN 1177 Right Front Door Open Switch Signal
9 OG/BK 233 Park Brake Switch Signal
10 L-GN 1845 Chime Control (UD7)
11 OG/BK 781 Driver Door Lock Switch Unlock Signal
12-15 - - Not Used
16 WH 193 Rear Defog Relay Control
17 BK/WH 746 Right Front Door Ajar Switch Signal
18 D-BU/WH 1179 Left Rear Door Open Switch Signal
19 - - Not Used
20 D-GN/WH 1135 A/T Shift Lock Control Solenoid Supply Voltage
21 - - Not Used
22 L-GN 1123 Door Lock Key Switch Lock Signal
23 WH 5075 Remote Start Sensor Signal
24 PU 1124 Door Lock Key Switch Unlock Signal
25 TN 126 Left Front Door Open Switch Signal
26 GY/BK 745 Left Front Door Ajar Switch Signal
27-29 - - Not Used
30 WH 17 Stop Lamp Switch Signal
31 L-BU 244 Passenger Door Lock Switch Lock Control
32-34 - - Not Used
35 YE 2080 Driver Heated Seat Cushion Temperature Sensor Low Reference (KA1)
36 PK 2435 Passenger Heated Seat Cushion Temperature Sensor Low Reference (KA1)
37 YE/BK 2079 Heated Seat Cushion Temperature Sensor Signal (KA1)
38 GY 2434 Passenger Heated Seat Cushion Temperature Sensor Signal (KA1)
39 TN/WH 2430 Passenger Heated Seat Relay Control (KA1)
40 PU 2477 Driver Heated Seat Relay Control (KA1)
41 - - Not Used
42 L-GN 24 Backup Lamp Supply Voltage
43 YE 18 Left Rear Stop/Turn Lamp Supply Voltage
44 GY 8 Instrument Panel Lamp Supply Voltage
45 L-BU 1344 Trunk Release Control
46 TN 694 Driver Door Lock Actuator Unlock Control
47 - - Not Used
48 D-GN 19 Right Rear Stop/Turn Lamp Supply Voltage
49 OG 440 Battery Positive Voltage
50 BK 550 Ground
51 TN 294 Door Lock Actuator Unlock Control
52 GY 295 Door Lock Actuator Lock Control
Body Control Module (BCM) C3

GM1243603Courtesy of GENERAL MOTORS CORP.
Connector Part Information
  • OEM: 638397-1 (AMP)

    15383281 (Delphi)

  • Service: See Catalog
  • 18-Way F Unsealed (BK)
Pin Wire Color Circuit No. Function
1-3 - - Not Used
4 L-BU/WH 1414 Left Turn Signal Switch Signal
5 L-BU 1714 Windshield Washer Switch Low Signal
6 D-BU 658 Cellular Telephone Voice Signal
7 WH 103 Headlamp Switch Headlamps On Signal
8 BN/WH 301 Park Lamp Switch On Signal
9 - - Not Used
10 L-BU 1872 Exterior Lamps Off Input
11 OG 192 Front Fog Lamp Switch Signal
12 PU 524 Headlamp Dimmer Switch High Beam Signal
13 PK 94 Windshield Washer Switch Signal
14 BN 1356 Flash To Pass Switch Signal
15 BK/WH 1251 Ground
16 TN 2144 Hazard Switch Signal
17 D-BU/WH 1415 Right Turn Signal Switch Signal
18 L-GN 1715 Windshield Washer Switch High Signal
Data Link Connector (DLC)

GM1548125Courtesy of GENERAL MOTORS CORP.
Connector Part Information
  • OEM: 15488184
  • Service: See Catalog
  • 16-Way F Metri-Pack 150 Series (BK)
Pin Wire Color Circuit No. Function
1 - - Not Used
2 PU 1132 DLC Class 2 Serial Data
3 - - Not Used
4 BK 1450 Ground
5 BK/WH 1551 Ground
6 YE 2361 SAE J1939 Serial Data (+) (LY7)
7-13 - - Not Used
14 D-GN 2362 SAE J1939 Serial Data (-) (LY7)
15 - - Not Used
16 OG 2340 Battery Positive Voltage
Splice Pack SP205

GM1548126Courtesy of GENERAL MOTORS CORP.
Connector Part Information
  • OEM: 15450641
  • Service: See Catalog
  • 12-Way F GT 150 Series (GY)
Pin Wire Color Circuit No. Function
A PU 1132 DLC Class 2 Serial Data
B D-GN 1049 ECM/PCM Class 2 Serial Data
C - - Not Used
D OG 1044 Radio Class 2 Serial Data
E L-BU 1122 ABS/TCS Class 2 Serial Data
F D-BU 1128 SDM Class 2 Serial Data
G GY 1036 IPC Class 2 Serial Data
H - - Not Used
J L-GN 2271 ADG Class 2 Serial Data (UE1)
K - - Not Used
L WH 1038 HVAC Class 2 Serial Data
M L-GN 1037 BCM Class 2 Serial Data