lemon-mirror:
Home >> Chevrolet >> 2007 >> Optra5 LS, Automatic >> Repair and Diagnosis >> Body & Frame >> Door Locks >> Remote Functions >> Component Locator >> Remote Function Connector End Views

Remote Function Connector End Views

Hood Ajar Switch

GM1467036Courtesy of GENERAL MOTORS CORP.
Connector Part Information
  • KET MG 610392
  • 2-Way F SDL Series (WH)
Pin Wire Color Circuit No. Function
1 PK/BK 109 Hood Ajar Switch Signal
2 OG 1240 Battery Positive Voltage
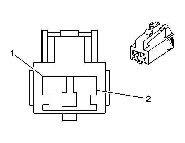
Rear Compartment Lid Release Switch (Notchback)

GM1467137Courtesy of GENERAL MOTORS CORP.
Connector Part Information
  • KET MG 651201
  • 2-Way F 090-II Series
Pin Wire Color Circuit No. Function
1 BN 253 Trunk Release Relay Control
2 OG 640 Battery Positive Voltage
Rear Compartment Lid Release Actuator (Notchback)

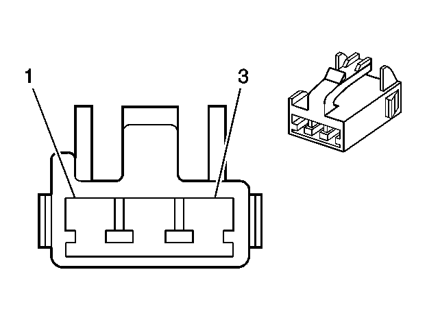
GM1467111Courtesy of GENERAL MOTORS CORP.
Connector Part Information
  • KET MG 651032
  • 3-Way F 090-II Series (WH)
Pin Wire Color Circuit No. Function
1 BK 1250 Ground
2 BN 253 Trunk Ajar Switch Signal
3 PK/BK 1303 Rear Compartment Lid Ajar Switch Signal
Rear Compartment Tamper Switch

GM1466986Courtesy of GENERAL MOTORS CORP.
Connector Part Information
  • AMP 174463
  • 2-Way M 070 Series Multilock 2P (WH)
Pin Wire Color Circuit No. Function
1 L-BU 263 Rear Compartment Lid Ajar Switch Signal
2 BK 1250 Ground
750
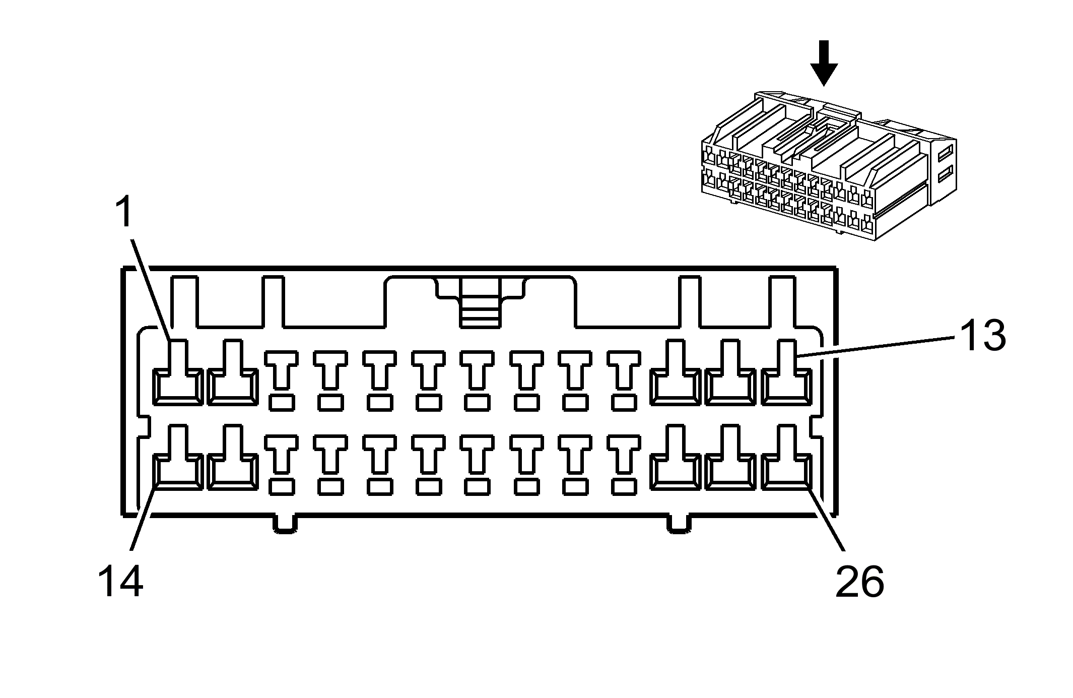
Remote Control Door Lock Receiver (w/Alarm)

GM1467056Courtesy of GENERAL MOTORS CORP.
Connector Part Information
  • KET MG 611336
  • 26-Way F PCB Connector (WH)
Pin Wire Color Circuit No. Function
1 YE 261 Arm Alarm Signal
YE/D-GN
2 BK 350 Ground
3 - - Not Used
4 L-BU 263 Rear Compartment Lid Ajar Switch Signal
5 PK/BK 1303 Rear Compartment Lid Ajar Switch Signal
6 - - Not Used
7 PK/D-BU 109 Hood Ajar Switch Signal
8 PU 156 Courtesy Lamp Control
9 L-BU/BK 195 Door Unlock Control
L-BU
10 L-GN/WH 355 Driver Door Lock Relay Lock Control
11 YE 356 Driver Door Lock Relay Unlock Control
12 L-GN 1370 Driver Door Lock Switch
13 D-BU 15 Right Turn Signal Lamp Supply Voltage
14 - - Not Used
15 PK 639 Ignition 1 Voltage
16 - - Not Used
17 L-GN 483 Serial Data
18 L-GN/RD 80 Key In Ignition Switch Signal
19 YE/D-GN 749 Security Indicator Control
20 PU 1371 Door Lock Switch Signal
21-23 - - Not Used
24 BN 253 Trunk Release Relay Control (Notchback)
25 OG 340 Battery Positive Voltage
26 L-BU/BK 14 Left Turn Signal Lamps Supply Voltage
L-BU
Remote Control Door Lock Receiver (w/o Alarm)

GM1467056Courtesy of GENERAL MOTORS CORP.
Connector Part Information
  • 611336
  • 26-Way F PCB Connector (WH)
Pin Wire Color Circuit No. Function
1 - - Not Used
2 BK 350 Ground
3-7 - - Not Used
8 PU 156 Courtesy Lamp Control
9 - - Not Used
10 L-GN/WH 355 Driver Door Lock Relay Lock Control
11 YE 356 Driver Door Lock Relay Unlock Control
12 - - Not Used
13 D-BU 15 Right Turn Signal Lamp Supply Voltage
14-16 - - Not Used
17 L-GN 483 Serial Data
18 L-GN/RD 80 Key In Ignition Switch Signal
19-23 - - Not Used
24 BN 253 Trunk Release Relay Control (Notchback)
25 OG 340 Battery Positive Voltage
26 L-BU/BK 14 Left Turn Signal Lamps Supply Voltage
L-BU
Security Indicator

GM1467020Courtesy of GENERAL MOTORS CORP.
Connector Part Information
  • KET MG 610070
  • 2-Way F 090 (2.3 mm) Series (WH)
Pin Wire Color Circuit No. Function
1 OG 640 Battery Positive Voltage
2 YE 749 Security Indicator Control
Theft Deterrent Alarm

GM1468380Courtesy of GENERAL MOTORS CORP.
Connector Part Information
  • KUM PB 625-02027
  • 2-Way F NMWP 04F-B Ass'y (BK)
Pin Wire Color Circuit No. Function
1 YE 261 Arm Alarm Signal
2 OG 1240 Battery Positive Voltage
Theft Deterrent Control Module (Optional)

GM1480213Courtesy of GENERAL MOTORS CORP.
Connector Part Information
  • MOLEX 35508-0700
  • 7-Way F Wire-to-Board Housing
Pin Wire Color Circuit No. Function
1 PK 639 Ignition 1 Voltage
2 OG 240 Battery Positive Voltage
3 - - Not Used
4 BK 1050 Ground
5 PU 2000 Serial Data
6 PU 800 Serial Data
7 YE 749 Theft Deterrent Control Unit Signal