lemon-mirror:
Home >> Chevrolet >> 2007 >> Silverado Classic 1500 HD, RWD >> Repair and Diagnosis >> Electrical >> Body Electrical >> OEM Connector End Views - Engine Control Module, Engine Controls, Engine Electrical >> Engine Control Module Connector End Views (6.6L LMM) >> Engine Control Module (ECM) Connector End View X2

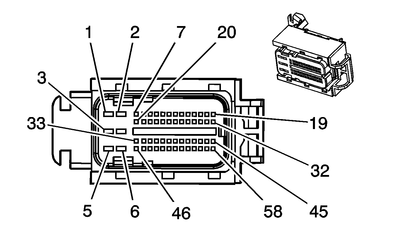
Engine Control Module (ECM) Connector End View X2

Fig 1: Engine Control Module (ECM) X2 Connector End View
GM1544260Courtesy of GENERAL MOTORS CORP.
Engine Control Module (ECM) X2 Connector Parts Information

Connector Part Information 
  • OEM: 15462694
  • Service: 88988935
  • Description: 58-Way F Mixed Series Sealed (BK)
Terminal Part Information 
  • Pins: 1-6
  • Terminal/Tray: 1928498059/24
  • Core/Insulation Crimp: 2/5
  • Release Tool/Test Probe: J-38125-561/J-35616-35 (PU)
  • Pins: 7-8, 12-13, 15-16, 19-21, 26-31, 33-34, 36, 38-39, 44-50, 52, 54, 56-57
  • Terminal/Tray: 1928498135/19
  • Core/Insulation Crimp: J/J
  • Release Tool/Test Probe: J-38125-213/J-35616-64B (L-BU)
Engine Control Module (ECM) X2 Connector Terminal Identification

Pin Wire Color Circuit No. Function
1 2 PK 1439 Ignition 1 Voltage
2 2 BK/WH 451 Ground
3 2 PK 1439 Ignition 1 Voltage
4 2 BK/WH 451 Ground
5 2 PK 1439 Ignition 1 Voltage
6 2 BK/WH 451 Ground
7 0.8 BN 582 Motor Control - 2
8 0.8 BN 25 Charge Indicator Control
9-11 - - Not Used
12 0.5 D-GN/WH 465 Fuel Pump Relay Control
13 0.5 TN 5514 Low Reference (CJ2/C67)
14 - - Not Used
15 0.5 WH/BK 1164 5-Volt Reference 3
16 0.5 D-BU 507 Wait to Start Indicator Control
17-18 - - Not Used
19 0.5 YE 5991 Powertrain Relay Coil Control
20 0.8 YE 581 Motor Control - 1
21 0.5 PK 439 Ignition 1 Voltage
22-25 - - Not Used
26 0.5 BN/WH 6141 Low References
27 0.5 GY 2700 5-Volt Reference 2 (CJ2/C67)
28 0.5 GY 2365 5-Volt Reference
29 0.5 BN 1271 Low Reference
30 0.5 BN/WH 419 MIL Control
31 0.5 D-GN/WH 459 A/C Compressor Clutch Relay Control (CJ2/C67)
32 - - Not Used
33 0.5 OG/BK 5764 Exhaust Gas Recirculation Valve Motor High Signal
34 0.5 TN/BK 6049 Low Reference
35 0.5 OG/BK 380 A/C Refrigerant Pressure Sensor Signal (CJ2/C67)
36 0.5 PU 1589 Fuel Level Sensor Signal
37 - - Not Used
38 0.8 GY 23 Generator Field Duty Cycle Signal
39 0.5 OG/BK 1786 Park/Neutral Signal
40-43 - - Not Used
44 0.5 TN 2501 High Speed GMLAN Serial Data Bus (-)
45 0.5 OG/BK 6399 VSS High Signal
46 0.5 L-GN/BK 5746 EGR Valve Motor Low Control
47 0.5 BN 6062 Low Reference
48 0.5 YE 1578 Fuel Temperature Sensor Signal
49 0.5 D-BU 1161 APP Sensor 1 Signal
50 0.5 L-BU 1937 Secondary Fuel Level Sensor Signal (-NQZ)
51-53 - - Not Used
54 0.5 YE/BK 1827 Vehicle Speed Signal
55 - - Not Used
56 0.5 D-BU 5985 Accessory Wakeup Serial Data
57 0.5 TN/BK 2500 High Speed GMLAN Serial Data Bus (+)
58 - - Not Used