lemon-mirror:
Home >> Chevrolet >> 2008 >> Corvette Z06 >> Repair and Diagnosis >> Electrical >> Component Locations >> Component Locations - Component Views >> Powertrain Component Views

Powertrain Component Views

Fig 1: Near the Air Intake Duct
GM1863931Courtesy of GENERAL MOTORS CORP.
Callout Component Name
1 Air Intake Duct
2 Intake Air Temperature (IAT)/Mass Air Flow (MAF) Sensor
3 Intake Manifold
Fig 2: Front Engine Compartment
GM1653874Courtesy of GENERAL MOTORS CORP.
Callout Component Name
1 Cooling Fan
2 Cooling Fan Module
Fig 3: Identifying Engine Components
GM1430051Courtesy of GENERAL MOTORS CORP.
Callout Component Name
1 Fuel Injector 7
2 Ignition Coil 7
3 Fuel Injector 5
4 Ignition Coil 5
5 Fuel Injector 3
6 Ignition Coil 3
7 Fuel Injector 1
8 Ignition Coil 1
9 Engine Coolant Temperature (ECT) Sensor
10 Fuel Injector 2
11 Ignition Coil 2
12 Ignition Coil 4
13 Fuel Injector 4
14 Ignition Coil 6
15 Fuel Injector 6
16 Ignition Coil 8
17 Fuel Injector 8
18 Engine Oil Pressure (EOP) Sensor
Fig 4: Top of Engine (LS7)
GM1653897Courtesy of GENERAL MOTORS CORP.
Callout Component Name
1 Engine Oil Tank
2 Throttle Body
3 Evaporative Emission (EVAP) Canister Purge Solenoid Valve
4 Manifold Absolute Pressure (MAP) Sensor
5 Ignition Coil 2
6 Ignition Coil 4
7 Ignition Coil 6
8 Ignition Coil 8
9 Fuel Injector 8
10 Fuel Injector 6
11 Fuel Injector 4
12 Fuel Injector 2
13 Fuel Injector 1
14 Fuel Injector 3
15 Fuel Injector 5
16 Fuel Injector 7
17 Ignition Coil 7
18 Ignition Coil 5
19 Ignition Coil 3
20 Ignition Coil 1
21 Generator
22 Camshaft Position (CMP) Sensor
23 Engine Oil Temperature (EOT) Sensor
Fig 5: Left Side of Engine (LS7)
GM1653902Courtesy of GENERAL MOTORS CORP.
Callout Component Name
1 Manifold Intake Check Valve
2 Engine Oil Pressure (EOP) Sensor
3 Heated Oxygen Sensor (HO2S) Bank 1 Sensor 2
4 Heated Oxygen Sensor (HO2S) Bank 2 Sensor 1
5 Knock Sensor 1
6 Engine Coolant Temperature (ECT) Sensor
Fig 6: Lower Left Side of Engine
GM1491965Courtesy of GENERAL MOTORS CORP.
Callout Component Name
1 Engine Oil Level/Temperature Sensor
Fig 7: Right Side of Engine (LS7)
GM1653895Courtesy of GENERAL MOTORS CORP.
Callout Component Name
1 Crankshaft Position (CKP) Sensor
2 Knock Sensor 2
3 Heated Oxygen Sensor (HO2S) Bank 2 Sensor 1
4 Starter Motor
5 Heated Oxygen Sensor (HO2S) Bank 2 Sensor 2
Fig 8: Engine Electrical Components
GM1499828Courtesy of GENERAL MOTORS CORP.
Callout Component Name
1 G104
2 Battery Positive Cable
3 Battery Negative Cable
4 Positive Stud (Fuse Block-Underhood)
5 G106
6 Starter Solenoid
7 Battery
8 Starter Solenoid
9 Generator
Fig 9: Identifying Electronic Components
GM1650351Courtesy of GENERAL MOTORS CORP.
Callout Component Name
1 TEHC Module Assembly
2 Input/Output Speed Sensors (ISS/OSS) Assembly
3 Internal Mode Switch (IMS) Assembly
Fig 10: Manual Transmission Component View
GM184235Courtesy of GENERAL MOTORS CORP.
Callout Component Name
1 Reverse Inhibit Solenoid
2 Skip Shift Solenoid
3 Vehicle Speed Sensor (VSS)
Fig 11: Left Side Of The Transmission Component View
GM901391Courtesy of GENERAL MOTORS CORP.
Callout Component Name
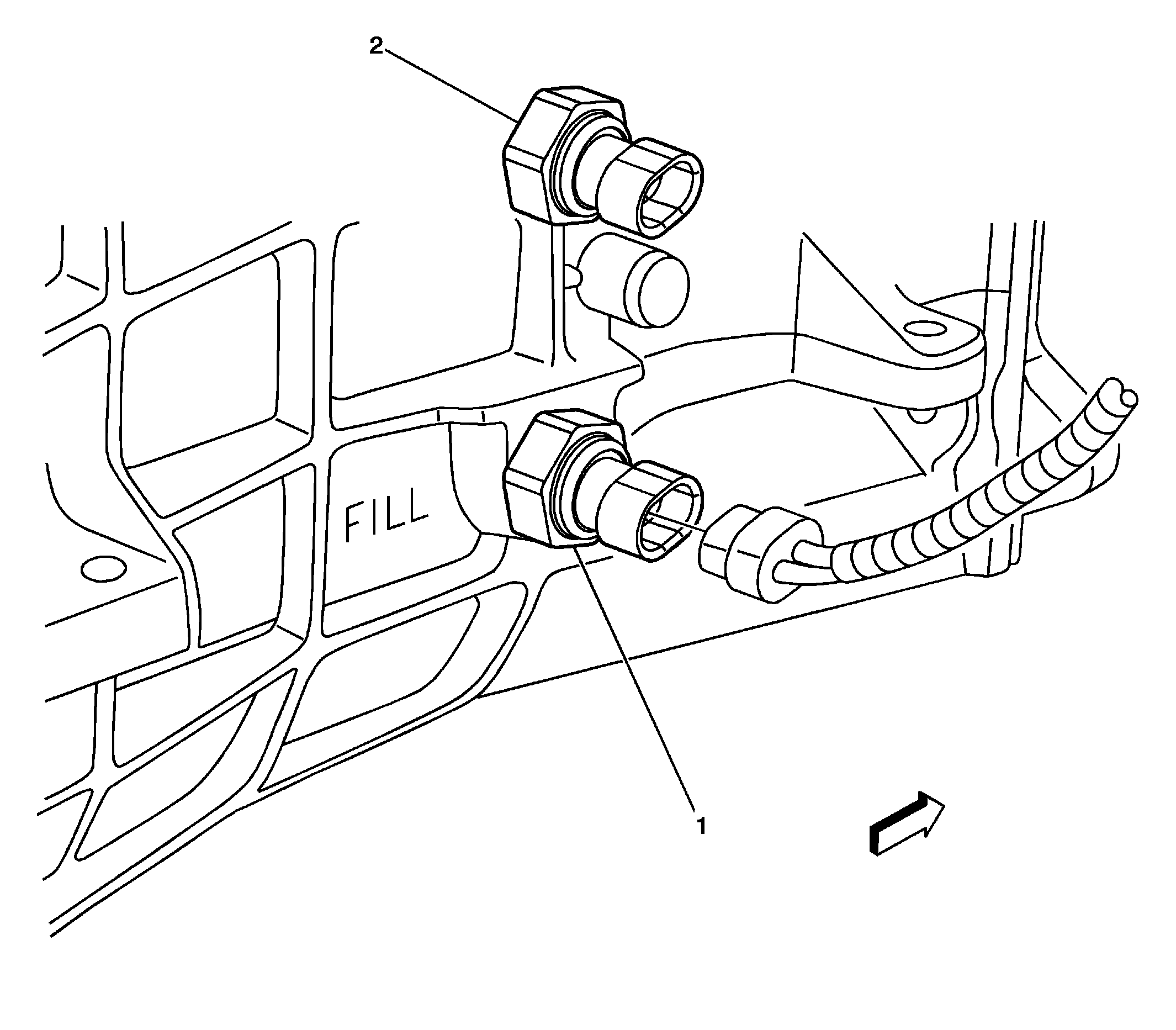
1 Transmission Fluid Temperature (TFT) Sensor
Fig 12: Fuel Tank Components
GM1486387Courtesy of GENERAL MOTORS CORP.
Callout Component Name
1 Fuel Tank - Left
2 Fuel Tank - Right
3 Evaporative (EVAP) Canister Vent Solenoid
4 Fuel Tank Pressure (FTP) Sensor
5 Fuel Level Sensor - Right
6 Fuel Pump and Sender Assembly
7 Fuel Level Sensor - Left
Fig 13: Rear Exhaust System Component View (LS7)
GM1653858Courtesy of GENERAL MOTORS CORP.
Callout Component Name
1 Exhaust Tail Pipe Flow Valve Control Module
2 Exhaust Tail Pipe Flow Control Valve Solenoid
3 Exhaust Control Valves
4 Rear Compartment Panel