lemon-mirror:
Home >> Chevrolet >> 2008 >> Corvette Z06 >> Repair and Diagnosis >> Electrical >> Component Locations >> Electrical Component Locator >> Component Location Graphics

Component Location Graphics

NOTE: Figures may show multiple component locations. Refer to appropriate table for proper figure references.
Fig 1: ABS/Brake Component Overview
G00359856Courtesy of GENERAL MOTORS CORP.
Fig 2: Wheels
G00359857Courtesy of GENERAL MOTORS CORP.
Fig 3: Under Left Side Of Dash
G00359867Courtesy of GENERAL MOTORS CORP.
Fig 4: Driver Door
G00456733Courtesy of GENERAL MOTORS CORP.
Fig 5: Passenger Door
G00456734Courtesy of GENERAL MOTORS CORP.
Fig 6: Suspension Components
G00359872Courtesy of GENERAL MOTORS CORP.
Fig 7: Top Of Engine (6.2L)
G00359877Courtesy of GENERAL MOTORS CORP.
Fig 8: HVAC
G00359882Courtesy of GENERAL MOTORS CORP.
Fig 9: Lower Left Side Of Engine
G00359887Courtesy of GENERAL MOTORS CORP.
Fig 10: Right Side Of Dash
G00359889Courtesy of GENERAL MOTORS CORP.
Fig 11: Rear Compartment
G00359890Courtesy of GENERAL MOTORS CORP.
Fig 12: Front Of Vehicle
G00359891Courtesy of GENERAL MOTORS CORP.
Fig 13: Manual Transmission
G00359896Courtesy of GENERAL MOTORS CORP.
Fig 14: Left Side Of Transmission
G00359898Courtesy of GENERAL MOTORS CORP.
Fig 15: Center Of Dash
G00359905Courtesy of GENERAL MOTORS CORP.
Fig 16: Behind Front Bumper
G00359906Courtesy of GENERAL MOTORS CORP.
Fig 17: Floor Shifter
G00359907Courtesy of GENERAL MOTORS CORP.
Fig 18: Steering Components
G00359909Courtesy of GENERAL MOTORS CORP.
Fig 19: Wheel
G00359910Courtesy of GENERAL MOTORS CORP.
Fig 20: Wiper Washer Components
G00359911Courtesy of GENERAL MOTORS CORP.
Fig 21: Passenger Compartment
G00456735Courtesy of GENERAL MOTORS CORP.
Fig 22: Lower Right Side Of Dash
G00456736Courtesy of GENERAL MOTORS CORP.
Fig 23: Rear Of Vehicle
G00456719Courtesy of GENERAL MOTORS CORP.
Fig 24: Engine Compartment
G00456720Courtesy of GENERAL MOTORS CORP.
Fig 25: Body Control Module
G00440565Courtesy of GENERAL MOTORS CORP.
Fig 26: Underhood Fuse Block
G00359636Courtesy of GENERAL MOTORS CORP.
Fig 27: Engine Compartment
G00360254Courtesy of GENERAL MOTORS CORP.
Fig 28: Automatic Transmission
G00363995Courtesy of GENERAL MOTORS CORP.
Fig 29: Top Of Engine (7.0L)
G00363997Courtesy of GENERAL MOTORS CORP.
Fig 30: Left Side Of Engine (7.0L)
G00363998Courtesy of GENERAL MOTORS CORP.
Fig 31: Right Side Of Engine (7.0L)
G00363999Courtesy of GENERAL MOTORS CORP.
Fig 32: Front Of Engine Compartment
G00440538Courtesy of GENERAL MOTORS CORP.
Fig 33: Dash Console (1 Of 2)
G00440536Courtesy of GENERAL MOTORS CORP.
Fig 34: Dash Console (2 Of 2)
G00440537Courtesy of GENERAL MOTORS CORP.
Fig 35: Engine Compartment Components (6.2L)
G00440514Courtesy of GENERAL MOTORS CORP.
Fig 36: Rear Exhaust Area
G00440502Courtesy of GENERAL MOTORS CORP.
Fig 37: Folding Top Harness Routing Components
G00440494Courtesy of GENERAL MOTORS CORP.
Fig 38: Driver Seat Components
G00440495Courtesy of GENERAL MOTORS CORP.
Fig 39: Passenger Seat Components
G00440499Courtesy of GENERAL MOTORS CORP.
Fig 40: Center Of Steering Wheel
G00440503Courtesy of GENERAL MOTORS CORP.
Fig 41: Antennas & Antenna Modules
G00440530Courtesy of GENERAL MOTORS CORP.
Fig 42: Door Latches
G00440487Courtesy of GENERAL MOTORS CORP.
Fig 43: Rear Closure Components
G00440491Courtesy of GENERAL MOTORS CORP.
Fig 44: Fuel Tank
G00440556Courtesy of GENERAL MOTORS CORP.
Fig 45: Folding Top Components
G00440486Courtesy of GENERAL MOTORS CORP.
Fig 46: HVAC Components
G00440546Courtesy of GENERAL MOTORS CORP.
Fig 47: Engine Components
G00440518Courtesy of GENERAL MOTORS CORP.
Fig 48: Left Side Of Dash
G00440510Courtesy of GENERAL MOTORS CORP.
Fig 49: Front Top Center Of Headliner
G00440542Courtesy of GENERAL MOTORS CORP.
Fig 50: Air Intake Duct
G00440522Courtesy of GENERAL MOTORS CORP.
Fig 51: Right Side Of Power Folding Top
G00440498Courtesy of GENERAL MOTORS CORP.
Fig 52: Folding Top Components
G00440490Courtesy of GENERAL MOTORS CORP.
Fig 53: Entertainment Components
G00440526Courtesy of GENERAL MOTORS CORP.
Fig 54: Data Link Connector
G00440562Courtesy of GENERAL MOTORS CORP.
Fig 55: Engine Electrical Components
G00440506Courtesy of GENERAL MOTORS CORP.
Fig 56: Outside Mirror Antennas
G00440534Courtesy of GENERAL MOTORS CORP.
Fig 57: Engine Harness Components
G00456727Courtesy of GENERAL MOTORS CORP.
Fig 58: Engine Harness Components
G00456721Courtesy of GENERAL MOTORS CORP.
Fig 59: Left Side Of Dash
G00456723Courtesy of GENERAL MOTORS CORP.
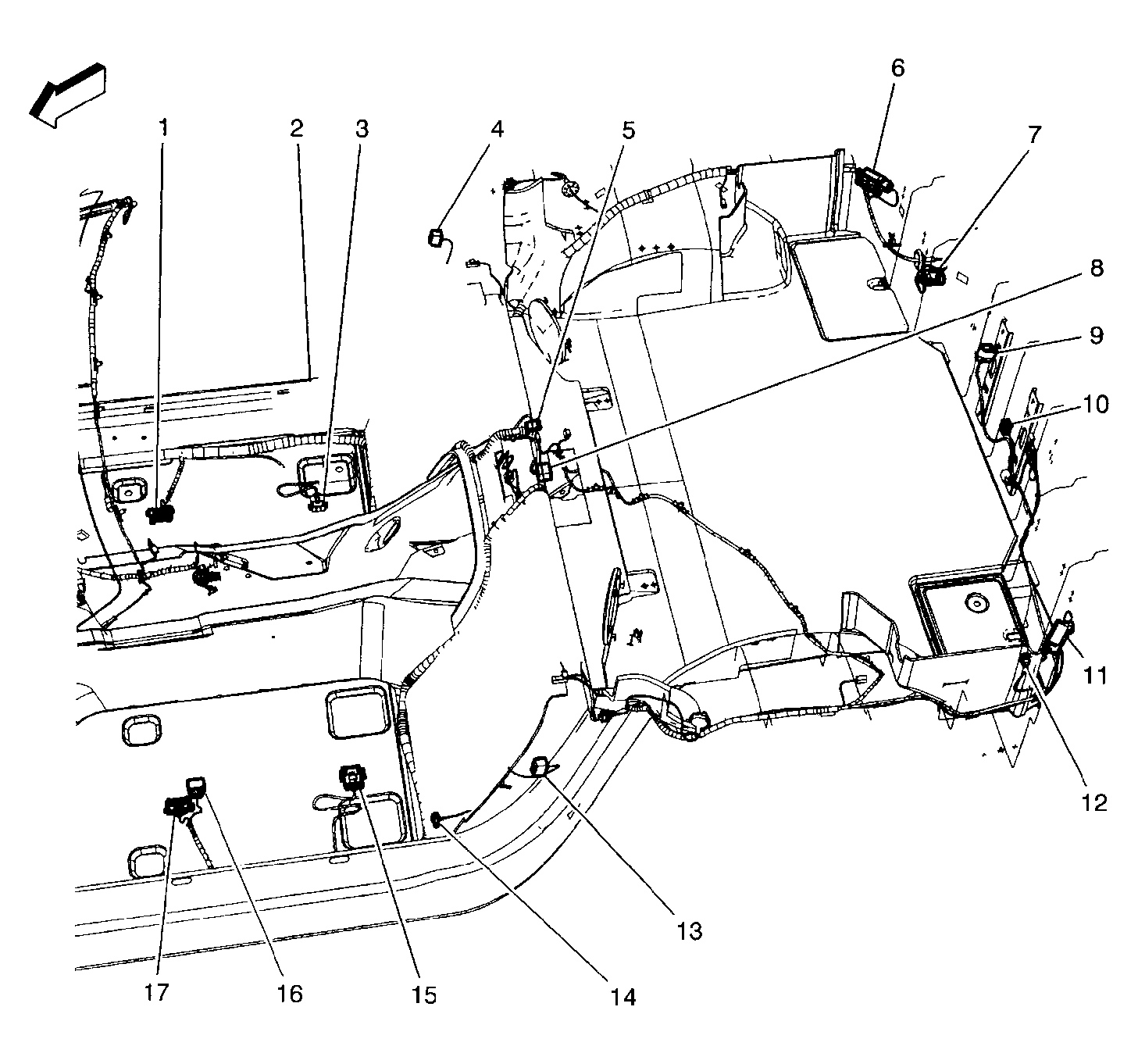
Fig 60: Overhead & Rear Body - Convertible
G00456724Courtesy of GENERAL MOTORS CORP.
Fig 61: Passenger Floor
G00456722Courtesy of GENERAL MOTORS CORP.
Fig 62: Overhead & Rear Body - Hardtop/Coupe
G00456725Courtesy of GENERAL MOTORS CORP.
Fig 63: Steering Column
G00456726Courtesy of GENERAL MOTORS CORP.
Fig 64: Lower Right & Overhead Console
G00456728Courtesy of GENERAL MOTORS CORP.
Fig 65: M/T & Fuel Tank Components
G00456729Courtesy of GENERAL MOTORS CORP.
Fig 66: Left Rear Of Vehicle
G00456730Courtesy of GENERAL MOTORS CORP.
Fig 67: Engine Components
G00440552Courtesy of GENERAL MOTORS CORP.
Fig 68: Right Side Of Dash
G00440557Courtesy of GENERAL MOTORS CORP.
Fig 69: Rear Fascia Lighting
G00456731Courtesy of GENERAL MOTORS CORP.
Fig 70: Rear Fascia Lighting
G00456732Courtesy of GENERAL MOTORS CORP.
Fig 71: Engine Compartment
G00456718Courtesy of GENERAL MOTORS CORP.