lemon-mirror:
Home >> Chevrolet >> 2011 >> Caprice >> Repair and Diagnosis >> Body & Frame >> Fixed And MOVEABLE Windows >> Repair Instructions >> Front Side Door Window Control Module Replacement >> Removal Procedure

Removal Procedure

    WARNING:

    Refer to Safety Glasses Warning .

  1. Disconnect the negative battery cable. Refer to Battery Negative Cable Disconnection and Connection (Primary) , Battery Negative Cable Disconnection and Connection (Auxiliary) .
  2. Remove the closeout/insulator panel. Refer to Instrument Panel Insulator Panel Replacement - Right Side .
  3. Remove the knee bolster. Refer to Knee Bolster Replacement .
  4. Remove the hinge pillar trim panel. Refer to Body Hinge Pillar Trim Panel Replacement .
  5. Fig 1: Identifying Door Module Electrical Connector
    GM1939871Courtesy of GENERAL MOTORS CORP.
  6. Disconnect the door module electrical connector (1).
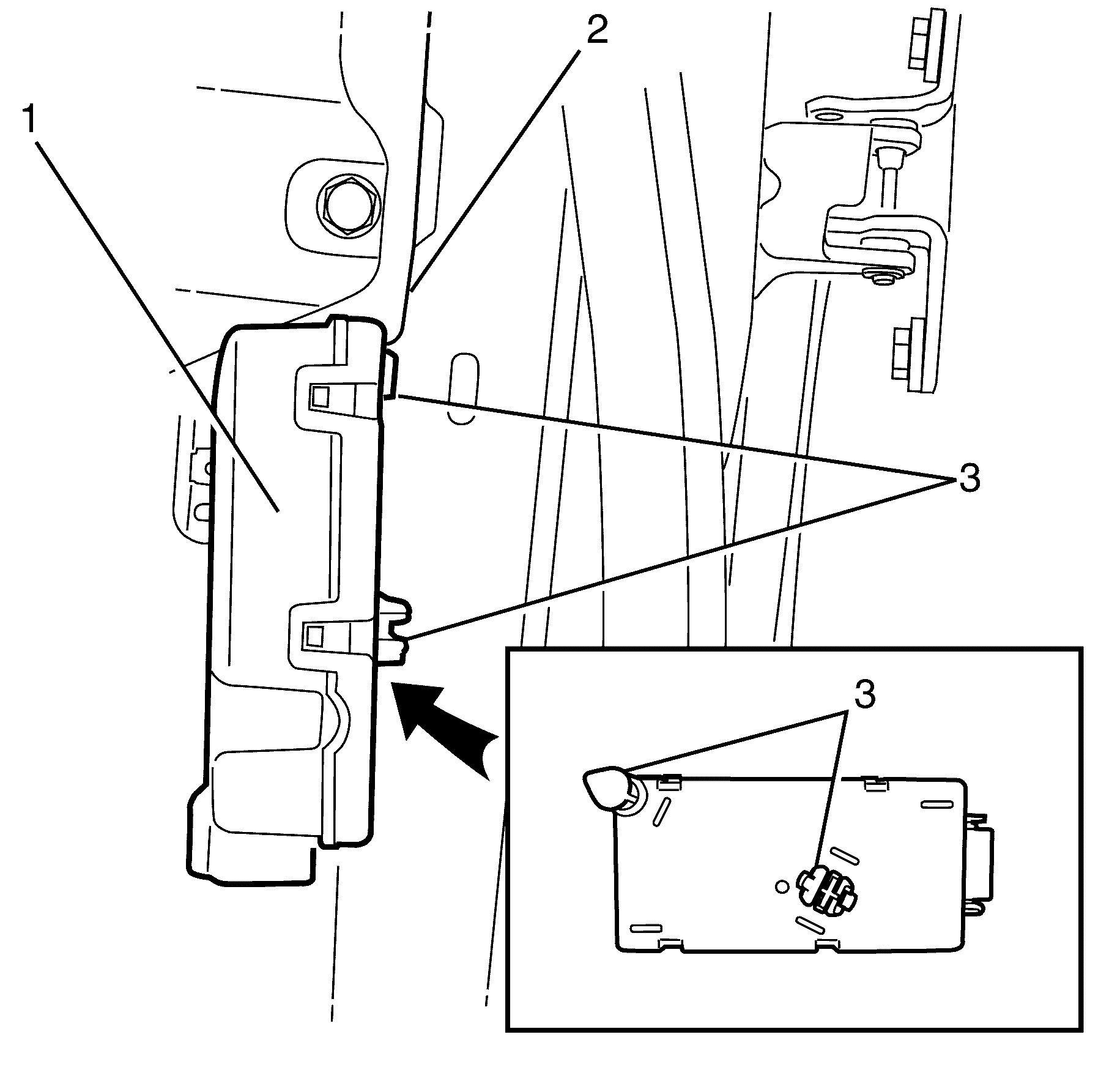
  7. Fig 2: Identifying Door Module Retainers
    GM1939874Courtesy of GENERAL MOTORS CORP.
    IMPORTANT:

    The door module is located on the right side just under the instrument panel attached to the body.

    IMPORTANT:

    Pry the door module (1) with a suitable flat bladed tool then manoeuvre to release top locating retainer (3).

  8. Pry the door module (1) with a suitable flat bladed tool to release the retainers (3).
  9. Remove the door module (1) from the vehicle (2).