lemon-mirror:
Home >> Chevrolet >> 2011 >> Caprice >> Repair and Diagnosis >> Engine Performance >> Engine Control Systems >> Engine Controls And Fuel - 6.0L - Repair Instructions >> Repair Instructions >> Fuel Tank Replacement >> Installation Procedure

Installation Procedure

  1. Install the following components to the fuel tank if the fuel tank was replaced.
  2. NOTE:

    Make sure the following are correctly:

    • The fuel tank wiring harness.
    • The fuel tank pipes.
    Fig 1: Identifying Fuel Tank Strap To Chassis Retaining Bolts
    GM1949817Courtesy of GENERAL MOTORS CORP.
  3. With the aid of an assistant, install the fuel tank to the vehicle.
  4. With the aid of an assistant support the fuel tank and install the fuel tank straps.
  5. CAUTION:

    Refer to Fastener Caution .

  6. Install the fuel tank strap retaining bolts (1).

    Tighten 

    Tighten the bolts to 30 N.m (22 lb ft).

  7. Fig 2: Identifying Evaporative Emission Line & Canister
    GM2008604Courtesy of GENERAL MOTORS CORP.
  8. Connect the EVAP emission pipe (2) to the EVAP emission canister (3). Refer to Plastic Collar Quick Connect Fitting Service .
  9. Install the fuel tank heat shield. Refer to Fuel Tank Heat Shield Replacement .
  10. Fig 3: View Of Support Tool
    GM1949823Courtesy of GENERAL MOTORS CORP.
  11. Raise the rear frame assembly using suitable tool.
  12. Fig 4: View Of EN-48536
    GM2008605Courtesy of GENERAL MOTORS CORP.
  13. Remove the frame support tool EN-48536  Engine Support Tool (Engine Lower 65 MM Kit) (1) from the rear frame. Repeat for the opposite side.
  14. Fig 5: Identifying EN-48536
    GM2008606Courtesy of GENERAL MOTORS CORP.
  15. Remove the frame support tool EN-48536  Engine Support Tool (Engine Lower 65 MM Kit) (1) from the rear frame. Repeat for the opposite side.
  16. Using a suitable tool clean the threaded holes in the rear chassis.
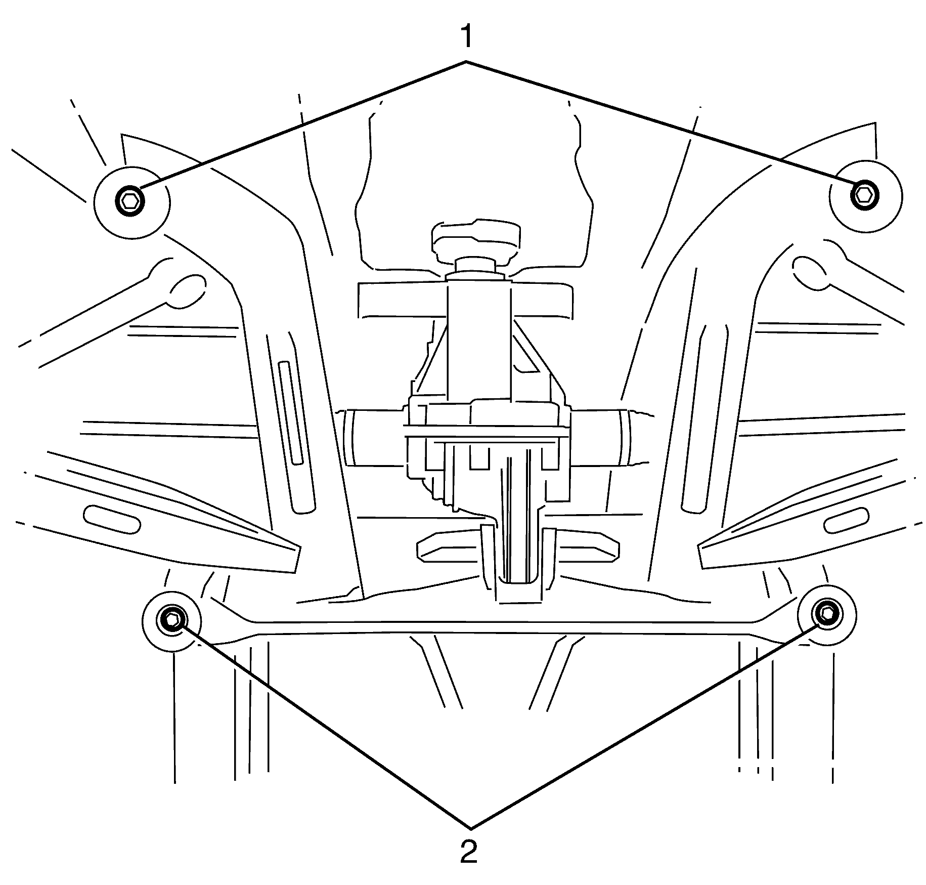
  17. Fig 6: Identifying Rear Frame To Chassis Retaining Bolts
    GM1949819Courtesy of GENERAL MOTORS CORP.
    NOTE:

    Rear frame retaining bolts must not to be fully tightened at this stage.

  18. Install the NEW rear frame to chassis retaining bolts (1 and 2).

    Do not fully tighten at this stage.

  19. After retaining bolts (1 and 2) are installed tighten to.

    Tighten 

    • First Pass: Tighten the bolts to 65 N.m (48 lb ft)
    • Final Pass: Tighten the bolts a further 125 degrees.
  20. Fig 7: View Of Support Tool
    GM1949823Courtesy of GENERAL MOTORS CORP.
  21. Remove the support tool.
  22. Fig 8: Identifying Fuel Tank Electrical Connector
    GM1949816Courtesy of GENERAL MOTORS CORP.
  23. Connect the fuel tank electrical connector (1).
  24. Fig 9: Identifying Fuel Feed Line & Fuel EVAP Hose
    GM1949815Courtesy of GENERAL MOTORS CORP.
  25. Connect the fuel feed pipe (1) and the EVAP pipe (2). Refer to Plastic Collar Quick Connect Fitting Service .
  26. Fig 10: Identifying Evaporative Emission (EVAP) Line
    GM1949829Courtesy of GENERAL MOTORS CORP.
    NOTE:

    Listen for an audible click to confirm correct installation of the EVAP emission hose (1).

  27. Install the EVAP emission hose (1).
  28. Fig 11: Identifying Worm Drive Hose Clamp & Filler Tube
    GM1949831Courtesy of GENERAL MOTORS CORP.
  29. Connect the filler hose (2) to the fuel tank.

    Tighten 

    Tighten the fuel filler tube hose clamp (1) to 4 N.m (35 lb in).

  30. Connect the park brake rear cables to the park brake front cable equalizer bracket assembly. Refer to Parking Brake Front Cable Replacement (9C1 - Front) , Parking Brake Front Cable Replacement (9C3) , Parking Brake Front Cable Replacement (9C1 - Rear) .
  31. Install the propeller shaft. Refer to Propeller Shaft Replacement (Except 4L60) .
  32. Install the exhaust system. Refer to Exhaust System Replacement .
  33. Install the right rear wheel. Refer to Tire and Wheel Removal and Installation .
  34. Refill the fuel tank.
  35. Inspect for fuel leaks.