lemon-mirror:
Home >> Chevrolet >> 2011 >> Impala LTZ >> Repair and Diagnosis >> External Pages >> Different car >> Section 249 (Lighting Systems) >> Component Locator >> Lighting Systems Component Views

Lighting Systems Component Views

WARNING: This page is about a different car, the 2006 Chevrolet Monte Carlo and 2006 Chevrolet Impala. However, it is still accessible from the selected car via links, so may be relevant.
Fig 1: Front Of The Vehicle
GM1653134Courtesy of GENERAL MOTORS CORP.
Callout Component Name
1 Marker Lamp - RF
2 Headlamp - Low Beam - Right
3 Headlamp - High Beam - Right
4 Park/Turn Signal Lamp - RF
5 Park/Turn Signal Lamp - LF
6 Headlamp - High Beam - Left
7 Headlamp - Low Beam - Left
8 Marker Lamp - LF
9 Fog Lamp - LF
10 Front Fascia
11 Fog Lamp - RF
Fig 2: Left Side Of The Right Headlamp Assembly (9C1, 9C3)
GM1695062Courtesy of GENERAL MOTORS CORP.
Callout Component Name
1 Headlamp Flasher Module (6J7)
Fig 3: Base Of A-Pillars (9C1, 9C3)
GM1695063Courtesy of GENERAL MOTORS CORP.
Callout Component Name
1 Spot Lamp - Left (7X6, 7X7)
2 Spot Lamp - Right (7X7)
Fig 4: Forward Headliner (9C1, 9C3)
GM1695059Courtesy of GENERAL MOTORS CORP.
Callout Component Name
1 Headlamp Flasher Module (6J7)
Fig 5: I/P Components
GM1653129Courtesy of GENERAL MOTORS CORP.
Callout Component Name
1 Headlamp Switch
2 Instrument Panel Cluster (IPC)
3 Driver Information Center (DIC) Switch
4 Ambient Light Sensor
5 Inflatable Restraint Passenger Air Bag On/Off Indicator (Sedan w/o 9C1, 9C3)
6 Radio
7 I/P Trim Panel
8 Heated Seat Switch-Passenger (KA7)
9 HVAC Control Module
10 Heated Seat Switch-Driver (KA7)
11 Turn Signal / Multifunction Switch
Fig 6: In Left Front Footwell
GM1694838Courtesy of GENERAL MOTORS CORP.
Callout Component Name
1 I/P Courtesy Lamp - Left
Fig 7: In Right Front Footwell
GM1694840Courtesy of GENERAL MOTORS CORP.
Callout Component Name
1 I/P Courtesy Lamp - Right
Fig 8: Pedal Assemblies
GM1700245Courtesy of GENERAL MOTORS CORP.
Callout Component Name
1 Park Brake Switch
2 Dash Panel
3 Brake Pedal Position Sensor
4 Accelerator Pedal Position (APP) Sensor
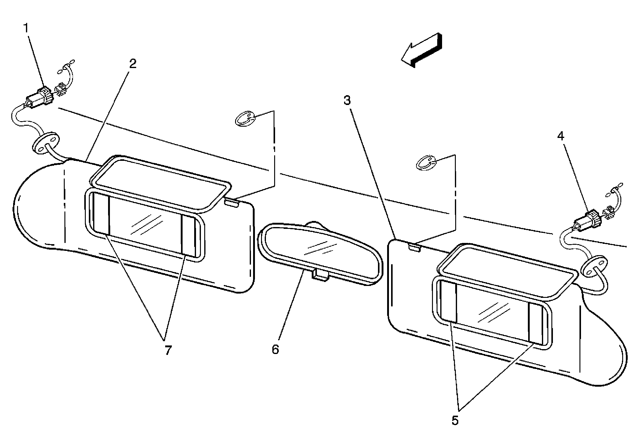
Fig 9: Above Front Windshield
GM1322532Courtesy of GENERAL MOTORS CORP.
Callout Component Name
1 Vanity Mirror Lamp - Left Connector
2 Left Sunshade
3 Right Sunshade
4 Vanity Mirror Lamp - Right Connector
5 Vanity Mirror Lamp - Right
6 Inside Rearview Mirror
7 Vanity Mirror Lamp - Left
Fig 10: Headliner Components - Bottom View
GM1653119Courtesy of GENERAL MOTORS CORP.
Callout Component Name
1 Headliner
2 Dome Lamp
3 Home Link Buttons
4 Sunroof Switch
Fig 11: Headliner Components (Coupe)
GM1671992Courtesy of GENERAL MOTORS CORP.
Callout Component Name
1 Dome Lamp
2 Vanity Mirror Lamp - Right (DH6)
3 Garage Door Opener (UG1)
4 Sunroof Switch (CF5)
5 Inflatable Restraint Passenger Air Bag On/Off Indicator
6 Vanity Mirror Lamp - Left (DH6)
Fig 12: On Package Shelf (9C1, 9C3)
GM1695066Courtesy of GENERAL MOTORS CORP.
Callout Component Name
1 Emergency Vehicle Rear Window Panel Lamp - Left (9C1, 9C3)
2 Emergency Vehicle Rear Window Panel Lamp - Right (9C1, 9C3)
Fig 13: Under Rear Package Shelf
GM1694834Courtesy of GENERAL MOTORS CORP.
Callout Component Name
1 Speaker - LR
2 Audio Amplifier
3 Rear Compartment Courtesy Lamp
4 Speaker - RR
Fig 14: Right Front Of Rear Compartment Component View (w/ T53)
GM592725Courtesy of GENERAL MOTORS CORP.
Callout Component Name
1 C409
2 Emergency Vehicle Rear Compartment Lid Lamps Relay
Fig 15: Rear Compartment Lid (9C1, 9C3)
GM1695068Courtesy of GENERAL MOTORS CORP.
Callout Component Name
1 Emergency Vehicle Rear Compartment Lid Lamp - Left (T53)
2 Emergency Vehicle Rear Compartment Lid Lamp - Right (T53)
Fig 16: Rear Of The Vehicle
GM1653145Courtesy of GENERAL MOTORS CORP.
Callout Component Name
1 Rear Window Defogger Grid
2 Cellular and Navigation Antenna
3 Stop Lamp - Right
4 Tail/Stop and Turn Signal - Right
5 Backup Lamp - Right
6 License Lamp
7 Center High Mounted Stop Lamp (CHMSL)
8 Backup Lamp - Left
9 Tail/Stop and Turn Signal - Left
10 Stop Lamp - Left
Fig 17: Rear Of The Vehicle (Coupe)
GM1671993Courtesy of GENERAL MOTORS CORP.
Callout Component Name
1 Center High Mounted Stop Lamp (CHMSL)
2 Radio Rear Window Antenna
3 Rear Window Defogger Grid
4 Tail Lamp - Right
5 Marker Lamp - RR
6 Tail/Stop and Turn Signal Lamp - Left
7 Backup Lamp - Right
8 License Lamp
9 Backup Lamp - Left
10 Tail/Stop and Turn Signal Lamp - Right
11 Marker Lamp - LR
12 Tail Lamp - Left