lemon-mirror:
Home >> Chevrolet >> 2012 >> Cruze LS, Automatic Trans >> Repair and Diagnosis >> Engine Performance >> Engine Control Systems >> Engine Controls/Fuel - 1.8L - Repair Instructions >> Repair Instructions >> Fuel Injector Replacement >> Installation Procedure

Installation Procedure

    Fig 1: Injectors Retaining Clamps
    GM1940561Courtesy of GENERAL MOTORS COMPANY
  1. Install the fuel injectors.
  2. NOTE:

    Install NEW fuel injector seals, coat the multiport fuel injector seals with silicone grease.

  3. Install the fuel injector retainer (1).
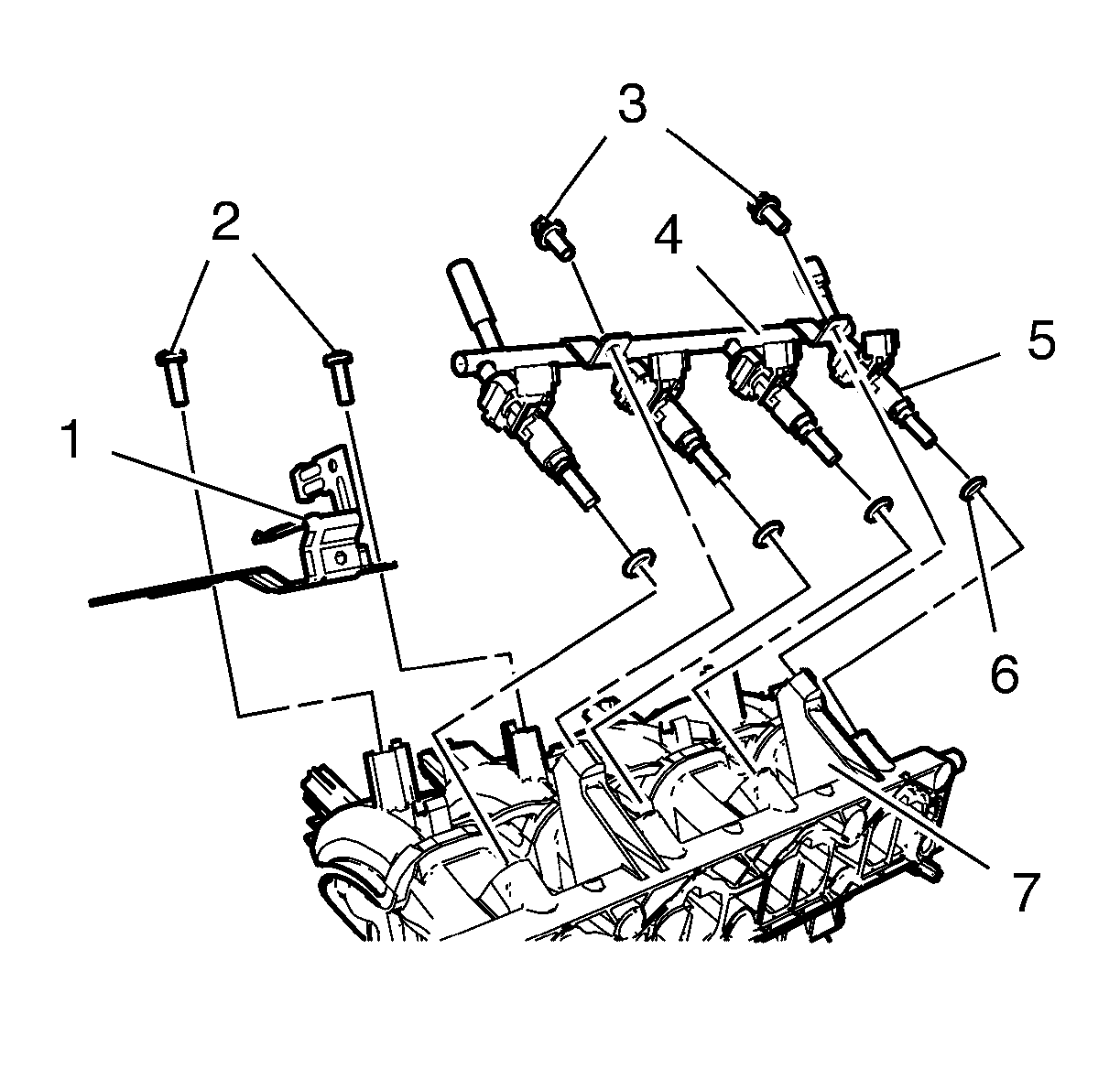
  4. Fig 2: Multiport Fuel Injection Fuel Rail And Bolts
    GM2028209Courtesy of GENERAL MOTORS COMPANY
    NOTE:

    Coat the fuel injector seals with silicone grease.

  5. Install the 4 NEW fuel injector seals (6).
  6. Install the multiport fuel injection fuel rail (4) and the fuel injectors (5) to the intake manifold (7).
  7. CAUTION:

    Refer to Fastener Caution .

  8. Install the 2 multiport fuel injection fuel rail bolts (3) and tighten to 8 N.m (71 lb in).
  9. Install the evaporative emission canister purge solenoid valve bracket (1) to the intake manifold (7).
  10. Install the 2 evaporative emission canister purge solenoid valve bracket bolts (2) and tighten to 8 N.m (71 lb in).
  11. Fig 3: Fuel Return Line
    GM1944873Courtesy of GENERAL MOTORS COMPANY
  12. Remove the cap from the fuel feed pipe (1).
  13. Connect the quick-release fitting of fuel feed pipe (1).
  14. Connect the wiring harness to the:
    1. Evaporative emission purge valve
    2. Fuel injectors
    3. Manifold absolute pressure sensor
  15. Install the positive crankcase ventilation tube. Refer to Positive Crankcase Ventilation Hose/Pipe/Tube Replacement .
  16. Connect the negative cable from the battery. Refer to Battery Negative Cable Disconnection and Connection .
  17. Close the hood.