lemon-mirror:
Home >> Chevrolet >> 2013 >> Impala LS >> Repair and Diagnosis >> Electrical >> Component Locations >> Electrical Component Locator - Instrument Panel/Center Console Component Views >> Instrument Panel/Center Console Component Views >> Instrument Panel Components

Instrument Panel Components

Instrument Panel Components

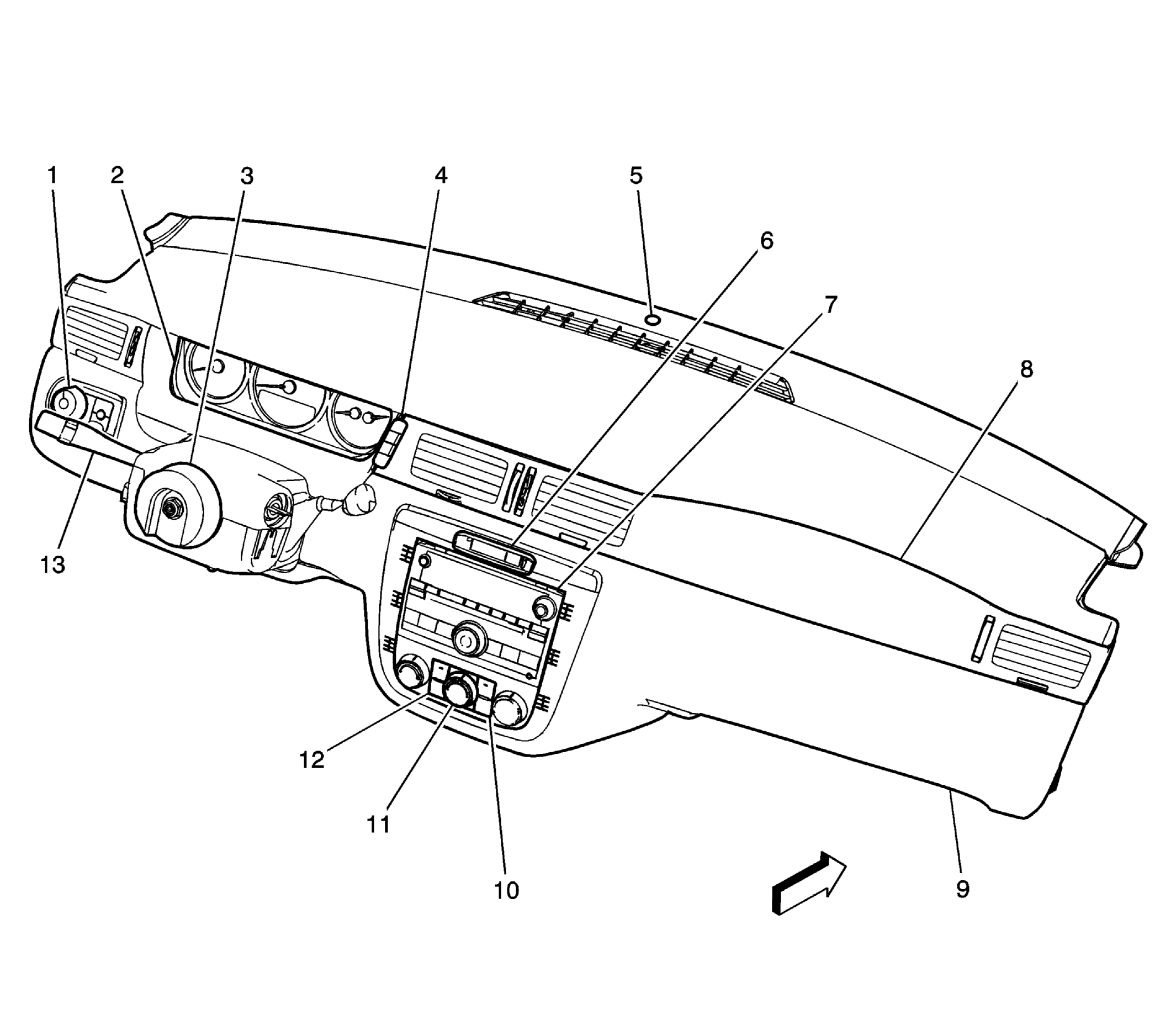
Component Name Callout
Headlamp Switch 1
Instrument Panel Cluster (IPC) 2
Inflatable Restraint Steering Wheel Module Coil 3
Driver Information Center (DIC) Switch 4
Ambient Light Sensor 5
Inflatable Restraint I/P Module Indicator 6
Radio 7
Inflatable Restraint I/P Module 8
Instrument Panel Trim Panel 9
Heated Seat Switch- Passenger (KA1) 10
HVAC Control Module 11
Heated Seat Switch- Driver (KA1) 12
Turn Signal/Multifunction Switch 13
Fig 1: Identifying I/P Components
GM1653129Courtesy of GENERAL MOTORS COMPANY