lemon-mirror:
Home >> Chevrolet >> 2016 >> City Express LS >> Repair and Diagnosis >> Suspension >> Wheel Alignment >> Wheel Alignment System >> Specifications >> Wheel Alignment Specifications (Wheel Alignment Specifications (Front))

Wheel Alignment Specifications (Wheel Alignment Specifications (Front))

UNITED STATES and CANADA

Caster / Camber*

Camber
Degree minute (Decimal degree)
Minimum - 1° 09' (- 1.15°)
Nominal - 0° 20' (- 0.33°)
Maximum 0° 29' (0.49°)
(LH) and (RH) difference*2 - 0° 49' (- 0.825°) - 0° 49' (0.825°)
Caster
Degree minute (Decimal degree)
Minimum 3° 16' (3.27°)
Nominal 4° 10' (4.17°)
Maximum 5° 04' (5.07°)
(LH) and (RH) difference*2 - 0° 49' (- 0.825°) - 0° 49' (0.825°)
Kingpin inclination
Degree minute (Decimal degree)
Minimum 11° 10' (11.17°)
Nominal 11° 55' (11.92°)
Maximum 12° 40' (12.67°)
GM4067407Courtesy of
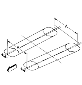
Toe

Total toe-in Distance (A - B) Minimum Out 1.0 mm (Out 0.039 in)
Nominal In 1.0 mm (In 0.039 in)
Maximum In 3.2 mm (In 0.125 in)
Angle (LH and RH)
Degree minute
(Decimal degree)
Minimum Out 0° 06' (Out 0.10°)
Nominal In 0° 06' (In 0.10°)
Maximum In 0° 18' (In 0.30°)

*1: Fuel, engine coolant, and lubricants are full. Spare tire, jack, hand tools, and mats are in designated positions.

*2: The difference when assuming the (LH) side is the standard.

Ball Joint

Swinging torque 0.5 - 4.9 N.m (0.05 - 0.50 kg-m, 4 - 43 in-lb)
Rotating torque 0.5 - 4.9 N.m (0.05 - 0.50 kg-m, 4 - 43 in-lb)
Axial end play 0 mm (0 in)
GM4067412Courtesy of
Wheelarch Height*

Front (A) 700 mm (27.56 in)
Rear (B) 737 mm (29.02 in)

*: Fuel, engine coolant and lubricants are full. Spare tire, jack, hand tools and mats are in designated positions.