lemon-mirror:
Home >> Chevrolet >> 2017 >> City Express LS >> Repair and Diagnosis >> Engine Performance >> System >> Engine Controls And Fuel - 2.0L >> Repair Instructions >> Throttle Body Assembly Replacement >> Installation Procedure

Installation Procedure

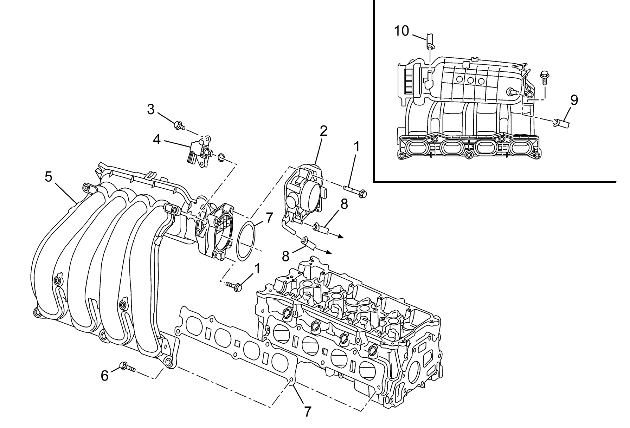
    Fig 1: Intake Manifold Components Location
    GM3714488Courtesy of GENERAL MOTORS COMPANY
    CAUTION:

    Do not use solvent of any type when cleaning the gasket surfaces on the intake manifold and the throttle body assembly, as damage to the gasket surfaces and throttle body assembly may result.

    Use care in cleaning the gasket surfaces on the intake manifold and the throttle body assembly, as sharp tools may damage the gasket surfaces.

  1. Install a NEW throttle body gasket to the intake manifold.
  2. Throttle Body Assembly - Install
  3. CAUTION:

    Refer to Fastener Caution .

  4. Throttle Body Assembly Bolt - Tighten10 N.m (89 lb in).
  5. Engine Coolant Hose - Connect
  6. Connect all electrical connectors.
  7. Air Cleaner Assembly Replacement  - Install
  8. Fill the cooling system to the proper level. Cooling System Draining and Filling
  9. Perform the throttle learn procedure. Throttle or Idle Learn