lemon-mirror:
Home >> Chevrolet >> 2019 >> Cruze L >> Repair and Diagnosis >> Brakes >> Traction Control >> Antilock Brake System >> Repair Instructions >> Electronic Brake Control Module Replacement

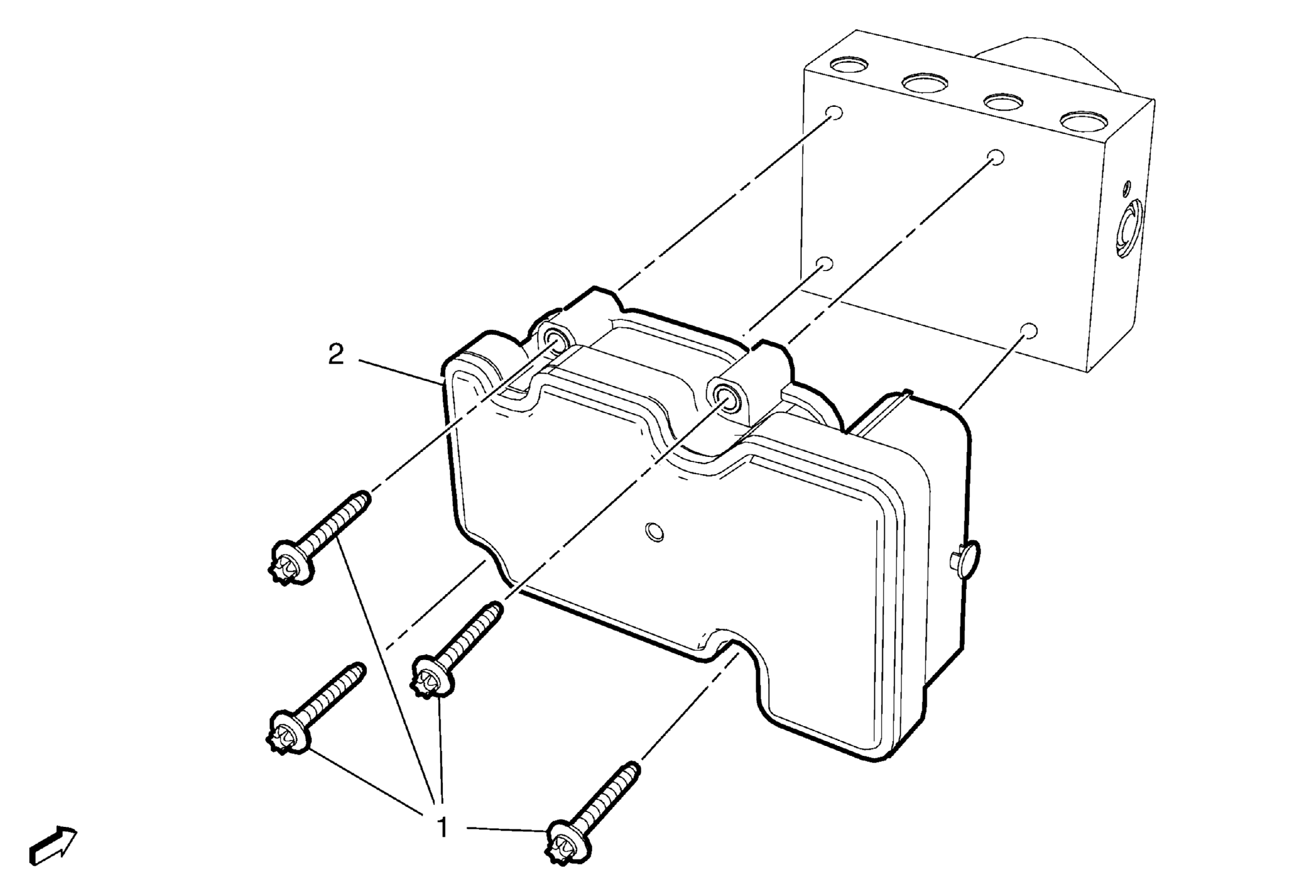
Electronic Brake Control Module Replacement

GM3657210Courtesy of GENERAL MOTORS COMPANY
Callout Component Name
CAUTION:

Always connect or disconnect the wiring harness connector from the EBCM/EBTCM with the ignition switch in the OFF position. Failure to observe this precaution could result in damage to the EBCM/EBTCM.

Preliminary Procedures

  1. Battery Negative Cable Disconnection and Connection
  2. Electronic Brake and Traction Control Module with Brake Pressure Modulator Valve Replacement 
  3. Brake Pressure Modulator Valve Bracket Replacement 
1 Electronic Brake Control Module Fastener [4x]
Tighten 
3 N.m (27 lb in)
2 Electronic Brake Control Module

Procedures

  1. Program the electronic brake control module. Control Module References
  2. Bleed the brake system. Hydraulic Brake System Bleeding