Folded-Over Wire Repair
Special Tools
- EL-38125-10 Splice Sleeve Crimping Tool (non GMNA)
- J-38125-5A Ultra Torch Special Tool
- J-38125-8 Splice Sleeve Crimping Tool (GMNA)
For equivalent regional tools, refer to Special Tools .
In order to reduce the risk of personal injury, loss of high voltage isolation to ground and higher system impedance, do not attempt to repair any HV wiring, connector, or terminal that is damaged. High voltage coaxial type cables are not repairable. Never attempt to repair a coaxial type cable. The entire cable/harness or component must be replaced. In order to maintain system integrity and personal safety, never attempt to repair any high voltage wiring, cables, or terminals. Performing this procedure on high voltage circuits may result in serious injury or death.
The GM global wire repair strategy uses connector assemblies (pigtails) and terminated leads to repair wiring harnesses.
To reduce and manage GM Service Parts proliferation, the service pigtails and terminated leads are designed with the largest wire gauge size that can be held by either the terminal or the connector housing.
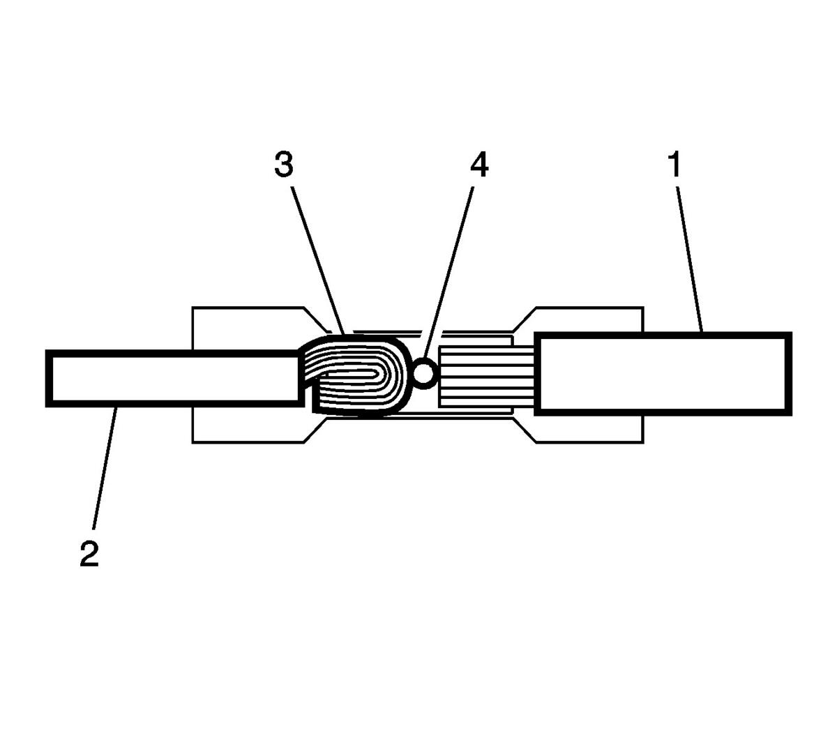
The folded over wire repair technique, in which the copper wire strands are folded over before being installed into a splice sleeve, allows the service part to be used when repairing a smaller gauge size wire in a vehicle. This technique has passed all GM testing standards.
The larger harness size wires (1) will be placed in one side of the splice sleeve and match the splice sleeve closely in size. The wires are moved into the splice sleeve until they hit the stop (4) in the splice sleeve. The smaller harness size wires (2) will be placed in the other side of the splice sleeve. The smaller harness size wires will be folded over (3) to match up with the splice sleeve size.
Use the folded over wire repair for:
- Splicing wires of different gauges
Increasing the amount of copper strands in the smaller gauge size will allow for a better crimp
When performing wire-to-wire repairs with wires of different sizes (Example: installation of Terminated Leads or Pigtails). Refer to the Folded-Over Wire Selection Table below.
Use the Service Information (SI) connector end-views to determine:
- Gauge size of wiring harness
- Recommended Repair: Terminated Lead or Pigtail
The following table lists the acceptable variance within the gauge size
| Harness Wire Size | Connector Pigtail, Terminated Lead, or Bulk Wire Size | ||||||||||||
| Salmon DuraSeal Splice | Blue DuraSeal Splice | Yellow DuraSeal Splice | |||||||||||
| Metric (mm) | - | .35 mm | .5 mm | .75 mm | .8 mm | 1 mm | 1.5 mm | 2 mm | 2.5 mm | 3 mm | 4 mm | 5 mm | 6 mm |
| - | Gauge (AWG) | 22 | 20 | - | 18 | 16 | - | 14 | - | 12 | - | 10 | - |
| 0.13 mm | 26 | D/S | D/S | D/S | D/S | N/A | N/A | N/A | N/A | N/A | N/A | N/A | N/A |
| 0.22 mm | 24 | D/S | D/S | D/S | D/S | N/A | N/A | N/A | N/A | N/A | N/A | N/A | N/A |
| 0.35 mm | 22 | S/S | S/W | S/W | S/W | D/W | D/W | D/W | D/W | N/A | N/A | N/A | N/A |
| 0.5 mm | 20 | N/A | W/W | W/W | W/W | S/W | S/W | S/W | S/W | N/A | N/A | N/A | N/A |
| 0.75 mm | - | N/A | N/A | W/W | W/W | S/W | S/W | S/W | S/W | D/W | D/W | D/W | D/W |
| 0.8 mm | 18 | N/A | N/A | N/A | W/W | S/W | S/W | S/W | S/W | D/W | D/W | D/W | D/W |
| 1.0 mm | 16 | N/A | N/A | N/A | N/A | W/W | W/W | W/W | W/W | D/W | D/W | D/W | D/W |
| 1.5 mm | - | N/A | N/A | N/A | N/A | N/A | W/W | W/W | W/W | S/W | S/W | S/W | S/W |
| 2.0 mm | 14 | N/A | N/A | N/A | N/A | N/A | N/A | W/W | W/W | S/W | S/W | S/W | S/W |
| 2.5 mm | - | N/A | N/A | N/A | N/A | N/A | N/A | N/A | W/W | S/W | S/W | S/W | S/W |
| 3.0 mm | 12 | N/A | N/A | N/A | N/A | N/A | N/A | N/A | N/A | W/W | W/W | W/W | W/W |
| 4.0 mm | - | N/A | N/A | N/A | N/A | N/A | N/A | N/A | N/A | N/A | W/W | W/W | W/W |
| 5.0 mm | 10 | N/A | N/A | N/A | N/A | N/A | N/A | N/A | N/A | N/A | N/A | W/W | W/W |
| 6.0 mm | - | N/A | N/A | N/A | N/A | N/A | N/A | N/A | N/A | N/A | N/A | N/A | W/W |
| Definition Key | |||||||||||||
| D/S | Double fold the harness wire and single fold the pigtail/bulk wire | ||||||||||||
| D/W | Double fold the harness wire and just insert the wire | ||||||||||||
| S/S | Single fold the harness wire and single fold the pigtail/bulk wire | ||||||||||||
| S/W | Single fold the harness wire and just insert the wire | ||||||||||||
| W/W | Insert harness wire and pigtail/bulk wire | ||||||||||||
| NA | Not Acceptable | ||||||||||||
Example
For an IP Harness of 0.22 mm (24 gauge on left side of table) wire size, the SI connector end-view recommends a pigtail with leads of 0.8 mm (18 gauge on the top of the table) with a salmon colored DuraSeal splice sleeve of 0.5 - 1.0 mm (20 - 16 gauge).
Follow these steps to use the folded over wire (1) technique on an IP Harness.
Strip twice the amount of insulation on the smaller (1) wire (IP Harness is the lower wire) than normally required. Normally, the terminated leads have 5 mm of insulation stripped off the wire.
- NOTE:
Use EL-38125-10 splice sleeve crimping tool (non GMNA) or J-38125-8 splice sleeve crimping tool (GMNA).
For wiring repair, refer to Special Tools .
Twist the wires before you fold them over to prevent the wire strands from opening up. Fold over the copper wire strands of the smaller (1) gauge wire so that it is the same length as the non-folded wire.
Insert the folded over wire (1) into the splice sleeve.
Use the proper crimp tool to crimp the splice sleeve to the smaller wire (harness side of repair). Complete the crimp as usual (using the heat tool to shrink the tube).