lemon-mirror:
Home >> Chrysler >> 1992 >> LeBaron LX, 2D Convertible >> Repair and Diagnosis >> Body & Frame >> Body, Cab Control Systems >> Body Control Computer >> Connector Identification

Connector Identification

NOTE: For terminal identification of body control system connectors, see Fig 1 -Fig 27 .
Fig 1: Body Controller Connector Terminal ID (Black Connector)
G92B05753Courtesy of CHRYSLER MOTORS.
Fig 2: Body Controller Connector Terminal ID (Natural or Red Conn.)
G92D05754Courtesy of CHRYSLER MOTORS.
Fig 3: Brakelight Bulb Socket Terminal ID
G92G05755Courtesy of CHRYSLER MOTORS.
Fig 4: Brakelight Switch & EVIC Connector Terminal ID
G92I05756Courtesy of CHRYSLER MOTORS.
Fig 5: CCD Bus Diagnostic Connector Terminal ID
G92A05757Courtesy of CHRYSLER MOTORS.
Fig 6: Compass/Temperature Connector Terminal ID
G92C05758Courtesy of CHRYSLER MOTORS.
Fig 7: Electronic Instrument Cluster Connector Terminal ID
G92E05759Courtesy of CHRYSLER MOTORS.
Fig 8: Engine Node Connector Terminal ID
G92I01522Courtesy of CHRYSLER MOTORS.
Fig 9: Front Door Jamb Switch Connector Terminal ID
G92G05760Courtesy of CHRYSLER MOTORS.
Fig 10: Fuel Tank Sending Unit Connector Terminal ID
G92I05761Courtesy of CHRYSLER MOTORS.
Fig 11: Headlight Door Motor Connector Terminal ID
G92A05762Courtesy of CHRYSLER MOTORS.
Fig 12: Illuminated Entry Switch Connector Terminal ID
G92J05766Courtesy of CHRYSLER MOTORS.
Fig 13: Key In Light Connector Terminal ID
G92B05767Courtesy of CHRYSLER MOTORS.
Fig 14: Left Side Pod Switch Connector Terminal ID
G92F05769Courtesy of CHRYSLER MOTORS.
Fig 15: Light Outage Module 14-Pin Connector Terminal ID
G92H05770Courtesy of CHRYSLER MOTORS.
Fig 16: Light Outage Module 5-Pin Connector Terminal ID
G92J05771Courtesy of CHRYSLER MOTORS.
Fig 17: Headlight Low Beam Connector Terminal ID
G92B05772Courtesy of CHRYSLER MOTORS.
Fig 18: Oil Pressure Switch/Sending Unit Connector Terminal ID
G92I05775Courtesy of CHRYSLER MOTORS.
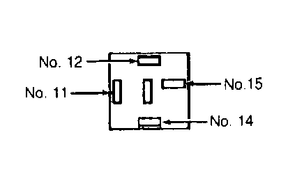
Fig 19: Relay Center Relay Connector Terminal ID
G92D05645Courtesy of CHRYSLER MOTORS.
Fig 20: Right Side Pod Switch Connector Terminal ID
G92E05778Courtesy of CHRYSLER MOTORS.
Fig 21: Seat Belt Switch Connector Terminal ID
G92G05779Courtesy of CHRYSLER MOTORS.
Fig 22: Single Board Engine Controller (SBEC) Connector Terminal ID
G92I05780Courtesy of CHRYSLER MOTORS.
Fig 23: Traveler & Electronic Vehicle Information Center (EVIC) Connector Terminal ID
G92A05781Courtesy of CHRYSLER MOTORS.
Fig 24: Vehicle Theft Alarm Module Connector Terminal ID
G92E05783Courtesy of CHRYSLER MOTORS.
Fig 25: Visual Message Center Connector Terminal ID
G92J05785Courtesy of CHRYSLER MOTORS.
Fig 26: Windshield Washer Relay Connector Terminal ID
G92B05786Courtesy of CHRYSLER MOTORS.
Fig 27: Wiper Motor Connector Terminal ID
G92D05787Courtesy of CHRYSLER MOTORS.