lemon-mirror:
Home >> Chrysler >> 1995 >> Cirrus LXi >> Repair and Diagnosis >> Body & Frame >> Power Windows >> Testing >> Window Switch Test

Window Switch Test

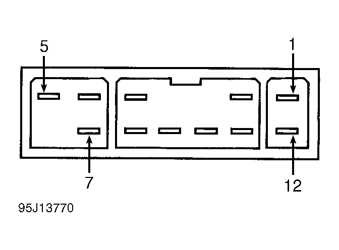
Remove power window switch. Using an ohmmeter, check continuity between appropriate switch terminals. See appropriate WINDOW SWITCH CONTINUITY table. See Fig 1 and Fig 2 . If continuity is not as specified, replace power window switch.

WINDOW SWITCH CONTINUITY

Switch Position Continuity Between Terminals No.
Off 2 & 10; 3 & 10; 4 & 10; 7 & 10; 8 & 10; 9 & 10; 10 & 11; 10 & 12
Up
Left Front 5 & 7; 8 & 10
Right Front 5 & 12; 10 & 11
Left Rear 3 & 10; 4 & 5
Right Rear 2 & 5; 9 & 10
Down
Left Front 5 & 8; 7 & 10
Right Front 5 & 11; 10 & 12
Left Rear 3 & 5; 4 & 10
Right Rear 2 & 10; 5 & 9
Window Lock
1 & 5
WINDOW SWITCH CONTINUITY

Switch Position Continuity Between Terminals No.
Off 2 & 5; 3 & 4
Up 3 & 4; 5 & 6
Down 2 & 5; 3 & 6
Fig 1: Identifying Master Window Switch Terminals
G95J13770Courtesy of CHRYSLER CORP.
Fig 2: Identifying Passenger Window Switch Terminals
G95A13771Courtesy of CHRYSLER CORP.