lemon-mirror:
Home >> Chrysler >> 1995 >> LeBaron >> Repair and Diagnosis >> Body & Frame >> Door Locks >> Anti-Theft System >> Connector Identification

Connector Identification

CONNECTOR IDENTIFICATION

Connector See Fig.
Data Link Connector 2
Message Center 3
Powertrain Control Module 4
Relays 5
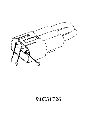
Trunk Key Cylinder Switch 6
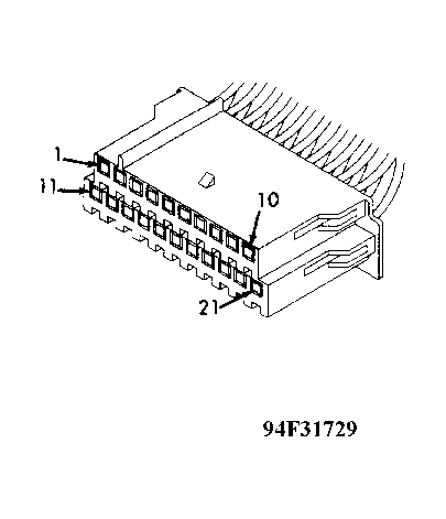
VTSS Module 7
Fig 1: Data Link Connector Terminal ID
G93J40591Courtesy of CHRYSLER CORP.
Fig 2: Message Center Connector Terminal ID (LeBaron Convertible)
G94A31724Courtesy of CHRYSLER CORP.
Fig 3: Powertrain Control Module (PCM) Connector Terminal ID
G93B40460Courtesy of CHRYSLER CORP.
Fig 4: Relay Connector Terminal ID (LeBaron Convertible)
G92C05763Courtesy of CHRYSLER CORP.
Fig 5: Remote Keyless Entry Module Connector Terminal ID
G94B31725Courtesy of CHRYSLER CORP.
Fig 6: Trunk Key Cylinder Switch Connector Terminal ID (LeBaron Convertible)
G94C31726Courtesy of CHRYSLER CORP.
Fig 7: VTSS Module Connector Terminal ID (LeBaron Convertible)
G94F31729Courtesy of CHRYSLER CORP.