lemon-mirror:
Home >> Chrysler >> 2000 >> Neon LE, Automatic >> Repair and Diagnosis >> Body & Frame >> Power Windows >> Component Tests >> Power Window Switch

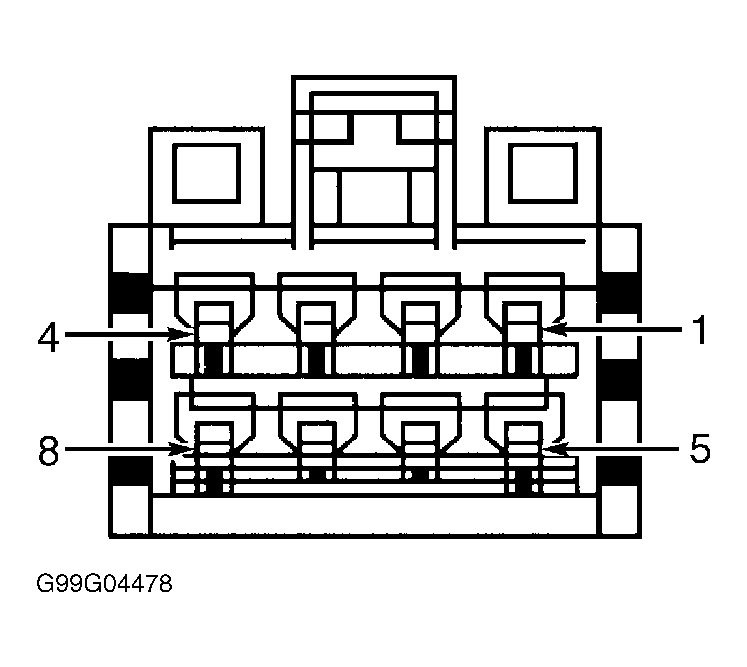
Power Window Switch

Remove power window switch. Check continuity between appropriate switch terminals with switch in appropriate position. See WINDOW SWITCH CONTINUITY TEST  table. See Fig 1 . If continuity is not as specified, replace appropriate power window switch.

WINDOW SWITCH CONTINUITY TEST

Switch Position (1) Continuity Between Terminals No.
Down 3 & 8; 4 & 5
Neutral 3 & 8; 2 & 5
Up 4 & 8; 2 & 5
(1) Driver's window switch has 2 connectors. Gray connector is for operation of passenger's window and Black connector is for operation of driver's window.
Fig 1: Identifying Window Switch Terminals (Harness Side Shown)
G99G04478Courtesy of DAIMLERCHRYSLER CORP.