lemon-mirror:
Home >> Chrysler >> 2001 >> Prowler >> Repair and Diagnosis >> Body & Frame >> Power Windows >> Diagnosis & Testing >> Window Switch

Window Switch

The Light-Emitting Diode (LED) illumination lamps for all of power door lock/window switch paddles receive battery power through power window circuit breaker in relay bank. If all LEDs are inoperative in either or both power window and lock switch and bezel units and power windows are inoperative, perform diagnosis for Power Window system. If power windows operate, but any or all of LEDs are inoperative, the power window and lock switch and bezel unit with inoperative LED(s) is faulty and must be replaced.

  1. Check circuit breaker in junction block. If OK, go to next step. If not OK, replace faulty circuit breaker.
  2. Turn ignition switch to ON position. Check for battery voltage at circuit breaker in junction block. If OK, turn ignition switch to Off position and go to next step. If not OK, repair circuit to ignition switch as required.
  3. Disconnect and isolate battery negative cable. Remove power door lock/window switch and bezel from door trim panel. Refer to REMOVAL & INSTALLATION  . Unplug wire harness connector from switch and bezel unit.
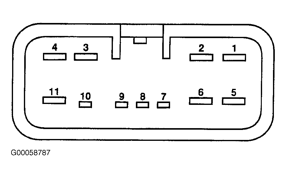
  4. Test power window switch continuity charts to determine if continuity is correct in Neutral, Up and Down switch positions. See Fig 1 and Fig 2 . If OK, see WINDOW MOTOR  . If not OK, replace faulty switch and bezel.
    NOTE: Continuity cannot be tested through LED's.

Fig 1: Driver's Power Window Switch Continuity Test
G00058788Courtesy of CHRYSLER CORP.
Fig 2: Power Door Lock/Window Switch Connector Terminal Identification
G00058787Courtesy of CHRYSLER CORP.