lemon-mirror:
Home >> Chrysler >> 2001 >> Sebring Limited >> Repair and Diagnosis >> Body & Frame >> Body, Cab Control Systems >> Body Control Modules - Except Coupe >> System Tests >> Instrument Cluster Systems >> Brake Warning Indicator Not Operating Properly

Brake Warning Indicator Not Operating Properly

NOTE: After making any repairs, perform BODY VERIFICATION TEST  under VERIFICATION TESTS.
  1. Perform self-test on instrument cluster. Press and hold TRIP/RESET button and turn ignition on. If brake warning indicator does not turn on for 4 seconds then turn off, go to step  3 . If brake warning indicator turns on for 4 seconds then turns off, go to next step.
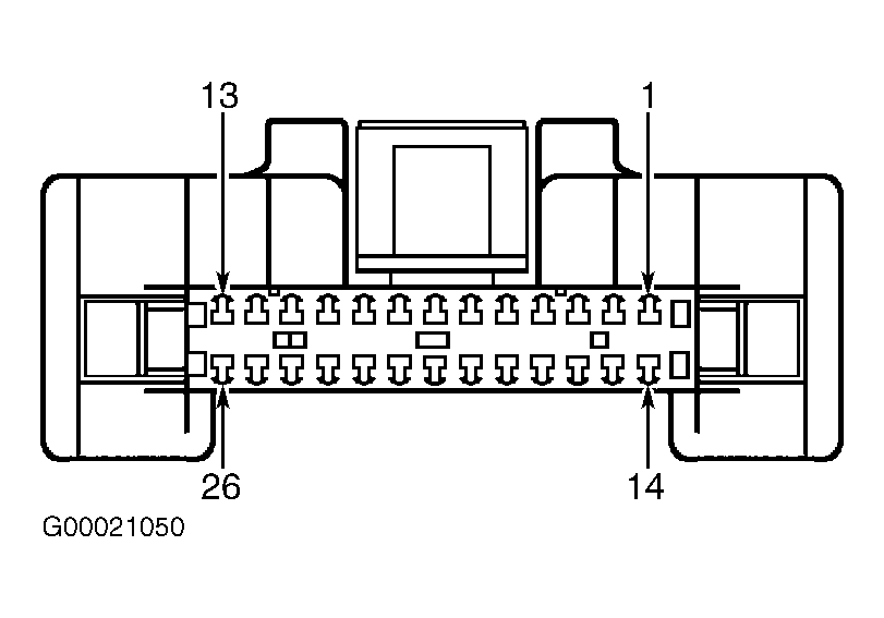
  2. Turn ignition off. Remove and disconnect instrument cluster. See INSTRUMENT CLUSTER  under REMOVAL & INSTALLATION. Disconnect parking brake switch connector. Connect a jumper wire between ground and Gray/Dark Blue wire or Gray/Black wire at parking brake switch harness connector. Disconnect brake fluid level switch connector at brake master cylinder. Connect a jumper wire between ground and Gray/Black wire at brake fluid level switch harness connector. Turn on ignition. Using a test light connected to battery voltage, probe terminal No. 22 (Gray/Black wire) at instrument cluster harness connector. See Figure . If test light illuminates brightly, replace instrument cluster. If test light does not illuminate brightly, replace open or high resistance is Red brake warning indicator driver circuit. See WIRING DIAGRAMS  .
  3. Remove and disconnect instrument cluster connector. See INSTRUMENT CLUSTER  under REMOVAL & INSTALLATION. Remove and inspect Red brake warning bulb and socket. Replace bulb or socket as necessary. If bulb and socket are okay, go to next step.
  4. Turn ignition off. Using a test light connected to ground, probe terminal No. 15 (Red/White wire) at instrument cluster harness connector. See Figure . If test light does not illuminate, repair open in Red/White wire between instrument cluster and fuse No. 11 (10-amp) in junction block. Junction block is located under left side of instrument panel. If test light illuminates, replace EMIC.