lemon-mirror:
Home >> Chrysler >> 2002 >> Intrepid Base >> Repair and Diagnosis >> Body & Frame >> Mirrors >> Power Mirror System >> Component Tests >> Power Mirror Switch

Power Mirror Switch

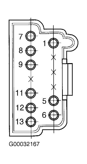
Remove power mirror switch. See POWER MIRROR SWITCH  under REMOVAL & INSTALLATION. Using a DVOM, check continuity between specified power mirror switch connector terminals (switch side) with switch in appropriate position. See POWER MIRROR SWITCH CONTINUITY TEST  table. See Fig 1 . If continuity does not exist, replace switch.

POWER MIRROR SWITCH CONTINUITY TEST

Mirror Selector Position Continuity Between Terminals No.
"L" (Left)
Up 1 & 9; 11 & 12; 12 & 13
Down 1 & 11; 9 & 12; 9 & 13
Left 1 & 9; 7 & 11; 8 & 11
Right 1 & 11; 7 & 9; 8 & 9
"R" (Right)
Up 2 & 9; 11 & 12; 11 & 13
Down 6 & 11; 9 & 12; 9 & 13
Left 6 & 9; 7 & 11; 8 & 11
Right 6 & 11; 7 & 9; 8 & 9
Fig 1: Identifying Power Mirror Switch Terminals
G00032167Courtesy of DAIMLERCHRYSLER CORP.