lemon-mirror:
Home >> Chrysler >> 2002 >> Intrepid Base >> Repair and Diagnosis >> Engine Performance >> System >> Engine Controls - Self-Diagnostics >> Connector Identification >> EGR Solenoid Harness Connector End View

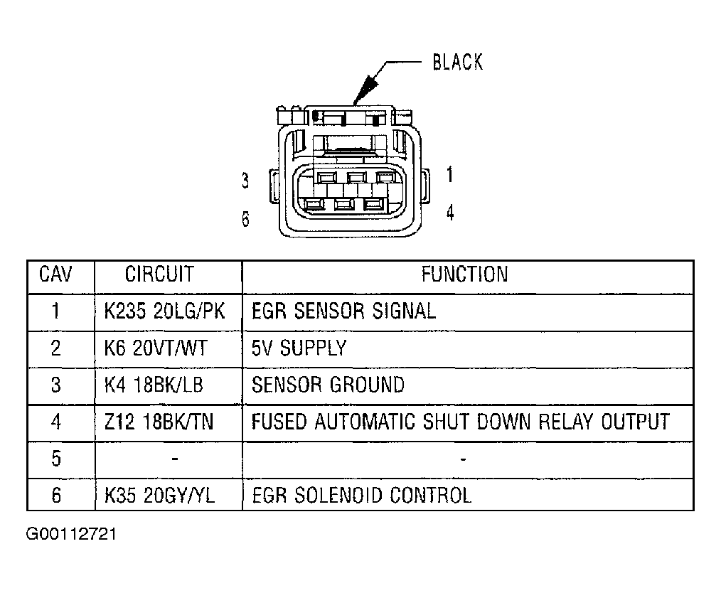
EGR Solenoid Harness Connector End View

Fig 1: Identifying EGR Solenoid Harness Connector
G00112721Courtesy of DAIMLERCHRYSLER CORPORATION