lemon-mirror:
Home >> Chrysler >> 2002 >> Neon LE, Automatic >> Repair and Diagnosis >> Transmission >> Automatic Trans >> Diagnosis >> Connector Identification

Connector Identification

CONNECTOR IDENTIFICATION DIRECTORY

Description Illustration
Autostick Switch Fig 1
Data Link Connector Fig 2
Powertrain Control Module Fig 3
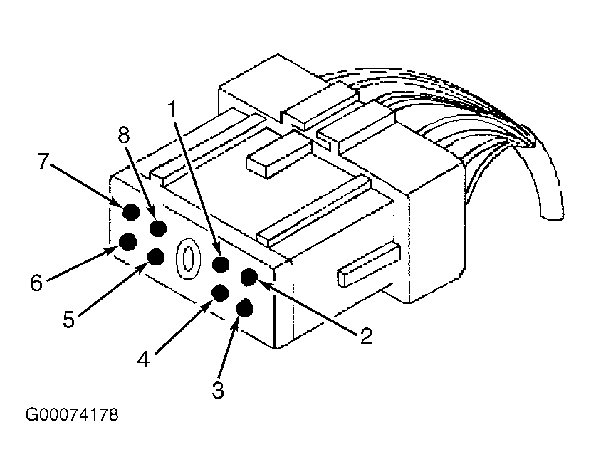
Solenoid Pack Fig 4
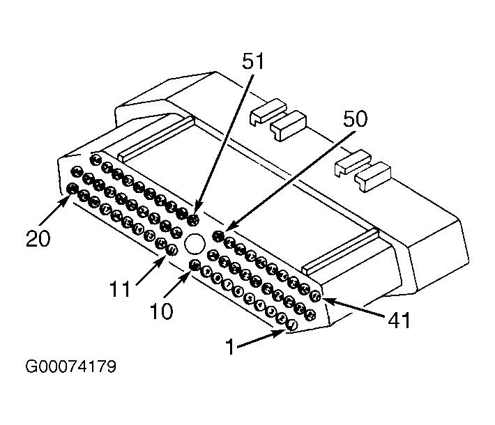
Transmission Control Module Fig 5
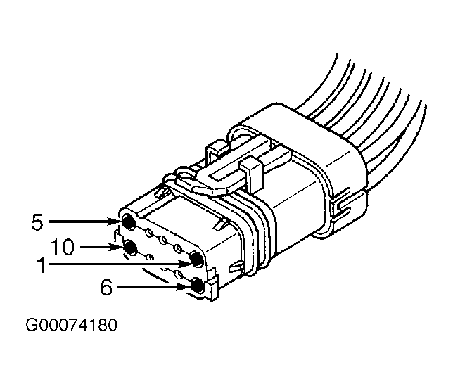
Transmission Range Sensor Fig 6
Fig 1: Identifying Autostick Switch Connector Terminals
G00074177Courtesy of DAIMLERCHRYSLER CORPORATION
Fig 2: Identifying Data Link Connector Terminals
G95H14289Courtesy of DAIMLERCHRYSLER CORPORATION
Fig 3: Identifying Powertrain Control Module Connector Terminals
G98G07108Courtesy of DAIMLERCHRYSLER CORPORATION
Fig 4: Identifying Solenoid Pack Connector Terminals
G00074178Courtesy of DAIMLERCHRYSLER CORPORATION
Fig 5: Identifying Transmission Control Module Connector Terminals
G00074179Courtesy of DAIMLERCHRYSLER CORPORATION
Fig 6: Identifying Transmission Range Sensor Connector Terminals
G00074180Courtesy of DAIMLERCHRYSLER CORPORATION