lemon-mirror:
Home >> Chrysler >> 2002 >> PT Cruiser Base, Automatic >> Repair and Diagnosis >> Body & Frame >> Power Windows >> Component Tests >> Power Window Switch

Power Window Switch

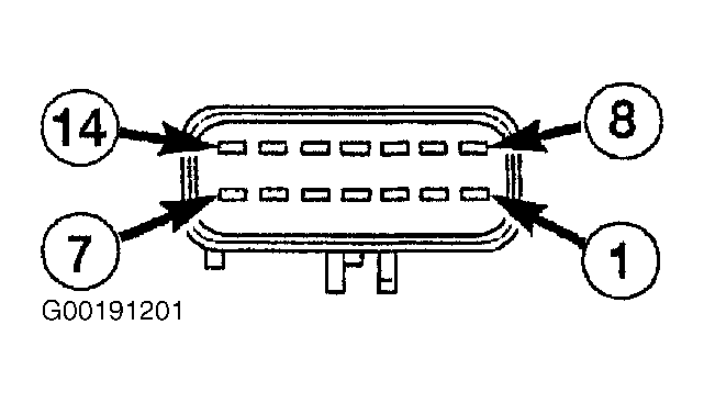
Remove the switch. See POWER WINDOW SWITCH  under REMOVAL & INSTALLATION. Using an ohmmeter, test the window switch for continuity in all positions listed. See WINDOW SWITCH CONTINUITY  table. For identification of window switch terminals, see Fig 1 - Fig 2 .

To test the left front down and express down switch position, connect pin No. 4 to ground and pin No. 12 to a 12-volt source. Using a voltmeter, measure for voltage from pin No. 13 to ground.

To test the right front down and express down switch position, connect pin No. 4 to ground and pin No. 12 to a 12-volt source. Using a voltmeter, measure for voltage from pin No. 3 to ground. If the correct results are not obtained, replace the switch.

WINDOW SWITCH CONTINUITY

Switch & Switch Position Continuity Between Terminals No.
Master Switch
Lockout Switch (Top Of Switch Depressed) 12 & 15
Left Front Up 12 & 14
Right Front Up 12 & 7
Left Rear Up 12 & 8
Left Rear Down 12 & 9
Right Rear Up 12 & 1
Right Rear Down 12 & 2
Rear Switches
Off 2 & 5, 3 & 8
Up 4 & 5
Down 4 & 8
Fig 1: Identifying Front Window Switch Terminals
G00191201Courtesy of DAIMLERCHRYSLER CORP.
Fig 2: Identifying Rear Window Switch Terminals
G00191202Courtesy of DAIMLERCHRYSLER CORP.