lemon-mirror:
Home >> Chrysler >> 2002 >> PT Cruiser Base, Automatic >> Repair and Diagnosis >> Electrical >> Starter >> Starting System >> Starting >> Description

Starting System: Starting: Description

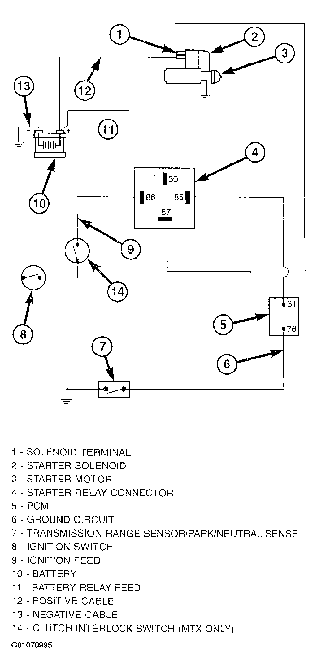
For the starting system schematic, see Fig 1. The starting system has the following components:

Fig 1: Starting System Schematic
G01070995Courtesy of DAIMLERCHRYSLER CORP.