lemon-mirror:
Home >> Chrysler >> 2002 >> PT Cruiser Base, Automatic >> Repair and Diagnosis >> External Pages >> Different car >> Section 1 (Body Control Modules) >> Connector Identification

Connector Identification

WARNING: This page is about a different car, the 2002 Dodge Ram Wagon, 2002 Dodge Ram Van, 2001 Dodge Ram Wagon, and 2001 Dodge Ram Van. However, it is still accessible from the selected car via links, so may be relevant.
NOTE: For connector identification, see Fig 1 -Fig 12 .
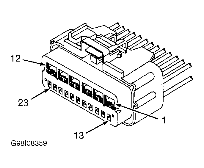
Fig 1: Identifying Air Bag Control Module Connector Terminals
G98I08359Courtesy of DAIMLERCHRYSLER CORP.
Fig 2: Identifying Central Timer Module Connector C1 Terminals
G97H28024Courtesy of DAIMLERCHRYSLER CORP.
Fig 3: Identifying Central Timer Module Connector C2 Terminals
G97I28025Courtesy of DAIMLERCHRYSLER CORP.
Fig 4: Identifying Controller Anti-Lock Brake Connector Terminals
G00027767Courtesy of DAIMLERCHRYSLER CORPORATION
Fig 5: Identifying Data Link Connector Terminals
G95H14289Courtesy of DAIMLERCHRYSLER CORP.
Fig 6: Identifying Electro-Mechanical Instrument Cluster Connectors C1 & C2 Terminals
G00012699Courtesy of DAIMLERCHRYSLER CORP.
Fig 7: Identifying Headlight Switch 9-Pin Connector Terminals
G98E00103Courtesy of DAIMLERCHRYSLER CORP.
Fig 8: Identifying Joint Connector No. 3 Terminals
G00021065Courtesy of DAIMLERCHRYSLER CORPORATION
Fig 9: Identifying Power Door Lock Switch Connector Terminals
G00012703Courtesy of DAIMLERCHRYSLER CORP.
Fig 10: Identifying Powertrain Control Module Connectors C1, C2 & C3 Terminals
G00012702Courtesy of DAIMLERCHRYSLER CORP.
Fig 11: Identifying Windshield Wiper Motor Connector Terminals
G00012704Courtesy of DAIMLERCHRYSLER CORP.
Fig 12: Identifying Wiper Relay Connector Terminals
G00012705Courtesy of DAIMLERCHRYSLER CORP.
Fig 13: Identifying Front Dome/Courtesy Lamp Connector Terminals
G00186437Courtesy of CHRYSLER CORP.
Fig 14: Identifying Front Dome/Reading Lamp Connector Terminals
G00186438Courtesy of CHRYSLER CORP.