lemon-mirror:
Home >> Chrysler >> 2002 >> PT Cruiser Base, Standard >> Repair and Diagnosis >> Transmission >> Clutch System >> Clutch >> Description >> Notes

Clutch System: Clutch: Description: Notes

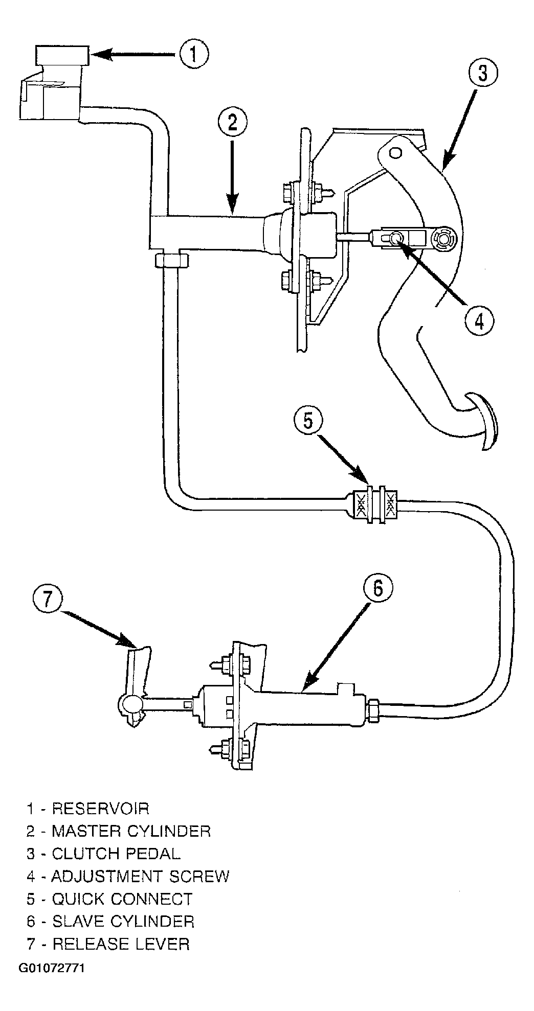
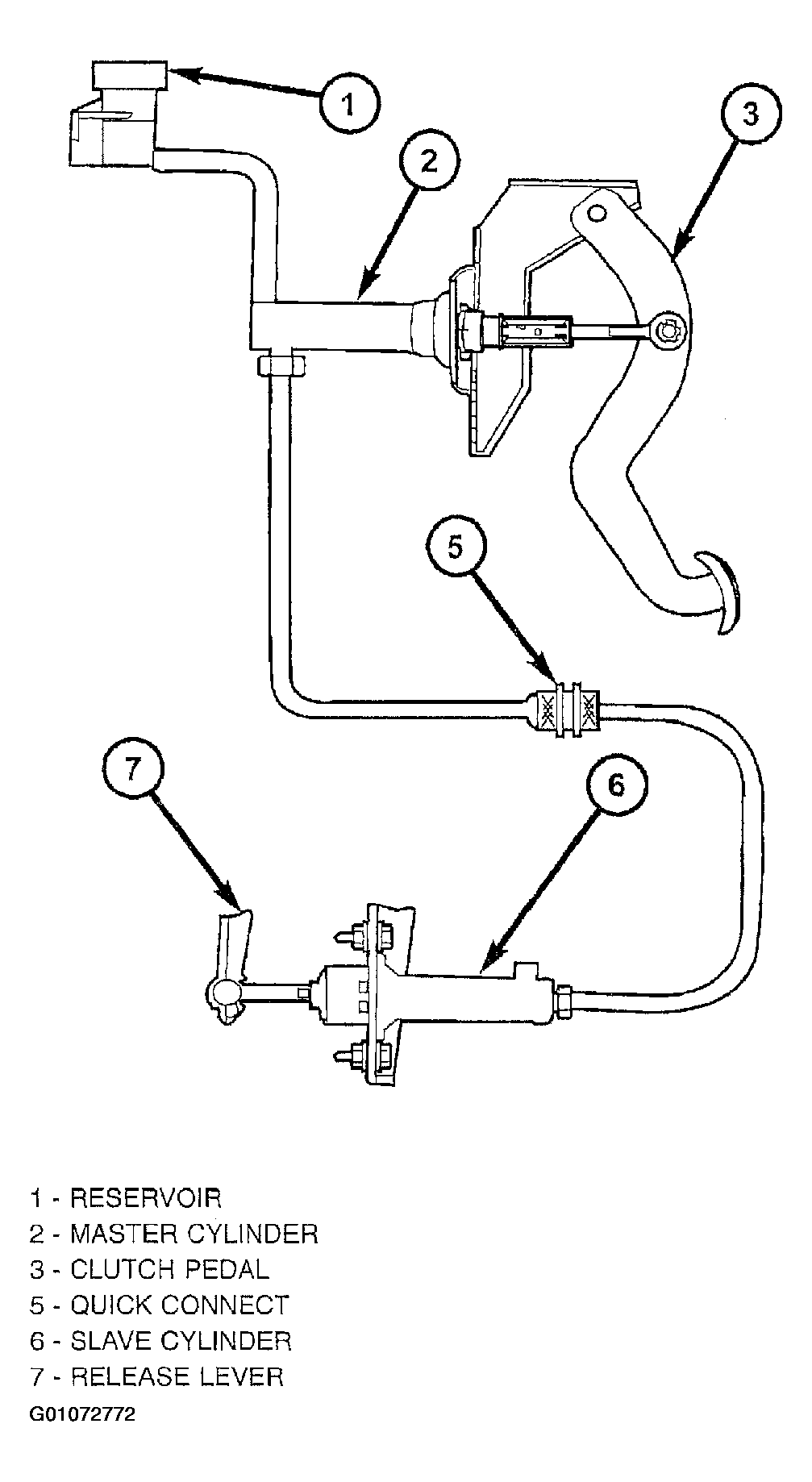
The clutch hydraulic system (Fig 1Fig 2 ) consists of a clutch master cylinder and integral reservoir, a clutch slave cylinder and integral damper, and an interconnecting fluid line. LHD models have an adjustable pedal pushrod.

Fig 1: Identifying Clutch Hydraulic System Components- LHD
G01072771Courtesy of DAIMLERCHRYSLER CORP.
Fig 2: Identifying Clutch Hydraulic System Components - RHD
G01072772Courtesy of DAIMLERCHRYSLER CORP.