lemon-mirror:
Home >> Chrysler >> 2002 >> Prowler >> Repair and Diagnosis >> Body & Frame >> Body, Cab Control Systems >> Body Diagnostic Procedures >> Schematic Diagrams >> Body Control Module

Body Control Module

Fig 1: Body Control Module Schematic Diagram (1 Of 2)
G03388057Courtesy of DAIMLERCHRYSLER CORP.
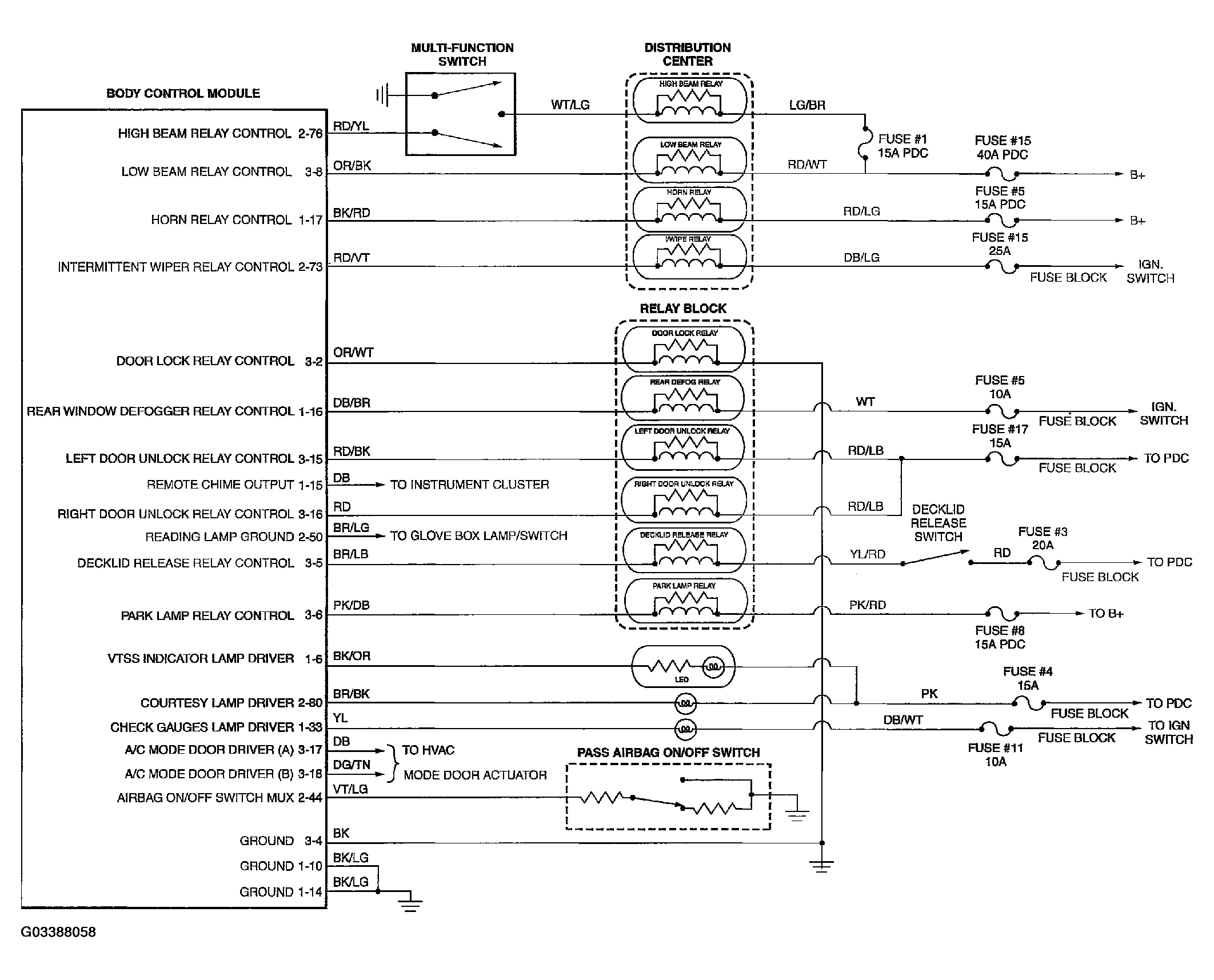
Fig 2: Body Control Module Schematic Diagram (2 Of 2)
G03388058Courtesy of DAIMLERCHRYSLER CORP.